Jobs
Geography Notes Form 2 – Free Download
Published
7 years agoon
[ad_1]
Geography Notes Form 2 – KLB Book 2 – KCSE Geography Revision Notes – Free Download
Geography Notes Form 2
Form 2 Geography
Internal Land Forming/endogenetic Processes
-Processes operating in the interior of the earth resulting in the formation of natural physical features or landforms.
They are caused by earth movements.
Examples of these processes are folding, faulting and Vulcanicity.
Formation of land forms by internal land forming processes is determined by:
• Nature and age of earth materials
• Type of movement involved
• Intensity and scale of movement involved
Crustal Earth Movements
– Displacement of the earth’s crustal rocks.
They are brought about by tectonic forces which originate and operate in the interior of the earth e.g. tensional forces (which operate along horizontal plane moving away from each other), compressional forces (which operate along horizontal plane moving towards each other), shear forces (which move past each other with unequal strength) and gravitational forces (which attracts things to the earths centre).
Earth movements are of 2 types:
1. Horizontal/lateral/orogenic movements
2. Vertical/epeirogenic movements
Horizontal Earth Movements
– Movements which act along a horizontal plane within crustal rocks.
They are caused by tensional and compressional and shear forces.
Effects
They cause:
• Strain and stretching of crustal rocks due to stretching caused by tensional forces which cause formation of cracks or faults.
• Squeezing and shortening of crustal by compressional forces rocks which cause them which also cause formation of faults.
• Crustal rocks to shear by slipping past each other or by dividing into layers which is caused by shear forces.
Results of Horizontal Earth Movements
– Results in the formation of the following features:
1. Faults
2. Rift valleys
3. fold mountains
4. Escarpments
5. Basins
6. Tilt blocks
7. Block mountains
Vertical Earth Movements
-Movements which occur along the earth’s radius or towards the earth’s surface or towards its centre.
Effects
Causes:
• Subsiding/sinking/downwarping or pulling of crustal rocks downwards.
• Uplifting/upwarping or pushing of crustal rocks upwards
• Tilting of crustal rocks or shearing in vertical direction due to grater uplift on one side.
Results of Vertical Earth Movements
1. Raised cliffs
2. Tilt blocks
3. Rift valleys
4. Fault scarps/escarpments
5. Plateaus
6. basins
Causes of Earth Movements
(a) Magma movement within the earths crust.
(b) Gravitational force
(c) Convectional currents in the mantle
(d) Isostatic adjustment
Magma Movement within the Earths Crust
• When magma moves with force pushing crustal rocks horizontally or vertically.
• When magma moves from reservoir and leaves empty spaces onto which crustal rocks are pulled inwards.
Gravitational Force
– When the attractive force of the earth pulls crustal rocks into empty spaces left after magma escaping from the reservoir.
Convectional Currents within Mantle

– When convectional currents in magma in mantle drug crustal rocks by friction.
Horizontal movement of currents cause horizontal movements while vertical cause vertical movements.
Isostatic Adjustment
-Rising of continental masses to restore the upset state of balance between sial and sima layers.
-Isostacy is the state of balance between sial and sima layers.
It can be disturbed by erosion on continents and melting of continental ice sheets.
The reduced weight causes continental masses to rise.
Theories Explaining the Earths Movements
A theory is reasoned ideas intended to explain facts or ideas.
There are 2 theories which explain the earth’s movements namely the Continental Drift Theory and the Plate tectonics theory.
i)Theory of Continental Drift
Its proponent was A. Wegener.
It explains the origin of 6 continents.
It states:
• The earth was a single sialic land mass called Pangaea surrounded by a huge ocean called Panthalasa whose floor was a mass of sima.
• Pangaea broke into two parts called Laurasia (N. Hemisphere) which lay around equator and Gondwanaland (S. Hemisphere) which lay around south pole which were separated by a narrow ocean called Tethys (the present Mediterranean Sea).
• Laurasia broke into Laurentian Shield and Fennoscandia (Europe, Asia and N. America) and moved northwards to their present positions.
• Gondwanaland broke into Africa, Australia, S. America and Antarctica and India subcontinent.
• Africa and India drifted northwards.
Evidences Supporting the Theory
1. Fitting of western coast of Africa and S. America into a jigsaw.
2. Discovery of coal 40◦N and 55◦N which was formed by burying of tropical vegetation.
3. Considerable displacement of rocks along some faults e.g. along the Great Glen Fault of Scotland.
4. Cape and Buenos Aires folds resemble one another by having east west trend.
5. Red sea shores show evidence of having undergone lateral displacement an indication that it was formed by movement of the earth’s crust.
6. Evidence of ancient Glaciation to the south of equator in Africa in Madagascar and India where there is presence of ancient glacial deposits suggesting these areas were once around south pole.
ii)Plate Tectonics Theory
It states that:
• The earths crust is made of blocks called plates.
7 Large Ones
1. Eurasian plate
2. Australian plate
3. Africa plate
4. Antarctic plate
5. N. American plate
6. S. American plate
7. Pacific plate
Smaller Ones
1. Indian
2. Arabian
3. Caribbean
4. Cocos
5. Somali plates
6. Juan de Fuca
7. Nazca
8. Philippine
9. Scotia
• These plates are two types : tectonic plates:
1. Oceanic plates which form major areas of the ocean floor including coastal lowland.
2. Continental plates which form the bulk of the continental land mass.
• The plates float on molten mantle layer called Asthenosphere.
• The plates move relative to each other due to convectional currents in the mantle.
• They move away from each other forming extension or constructive boundary called so because magma fills the space between.

• They move towards each other forming compressional or destructive boundary called so because materials between are crushed.
The movements of those two types of plates have the following effects:
1. When two oceanic plates meet

• There is subduction and the ocean floor is pulled inwards forming a trench e.g. Java Trench .Subduction is the passing of edge of one plate beneath the edge of another.
• Sediments on the sea floor in the region of subduction are compressed to form Fold Mountains.
1. When an oceanic plate meets a continental plate the edge of the oceanic plate slides beneath the continental plate in a movement called subduction.
• Sediments on the sea floor in the region of subduction are compressed to form Fold Mountains.
• Fold Mountains are also formed at the edge of the continent when the sial layer is compressed.
• The edge of the oceanic plate bends into the mantle forming a trench.

Significance of Plate Movements
1. Are sources of earthquakes and Vulcanicity.
2. Causes formation of land forms such as Fold Mountains and ocean trenches.
3. Spectacular landscapes formed are a tourist attraction.
4. Eruption of magma can result in formation of valuable minerals.
Folding
-Process in which crustal rocks are distorted by compressional forces by being caused to bend upwards and downwards.
It occurs on fairly young sedimentary rocks.
Parts of a Fold

(a) Anticlines (upfolds)-parts of the earths surface which bend upwards when folding occurs.
(b) Synclines (down folds)-Parts of the earths surface which bend downwards when folding occurs.
(c) Crest-upper most part of Anticline.
(d) Trough-lowest part of a syncline
(e) Limp-rock layers sloping on both sides of a fold
(f) Axis-imaginary line drawn vertically through the centre of the anticline.
Types of Folds
1.Simple Symmetrical Folds

– Which are symmetrical about the anticline.
– Formed by 2 compressional forces of equal magnitude.
2.Asymmetrical Folds
– Which are asymmetrical about the anticlines axis or in which one limp is steeper than the other.
– Formed by two compressional forces of unequal magnitude in which one is stronger than the other.

3.Over Folds

– In which anticline of one fold is pushed over the limp of the other.
4.Isoclinal Folds

– Which are packed closely together and with limps almost parallel to each other.
– Vertical Isoclinal folds are formed by compressional forces of equal magnitude while inclined Isoclinal folds are formed by forces of unequal magnitude.
5.Recumbent Folds

– Which lie in a horizontal manner.
– Formed by two compressional forces one of which is very strong.
6.Nappe/Overthrust Fold

– In which one limp is pushed over the other limp.
– The forces are very strong and they cause a fracture/fault to develop.
7. Anticlinorium and Synclinorium Complex
– Folds characterised by minor upfolds and minor downfolds.
• Land is first subjected to weak compressional forces resulting into minor folds.
• Later the land is subjected to much greater compressional forces resulting into new upfolds with minor folds (Anticlinorium) and new down folds with minor folds (Synclinorium).
Resultant Features Due To Folding
1.Fold Mountains and Their Distribution
– Worlds highest and most impressive mountains and the most conspicuous feature of folding.
• Himalayas-Asia
• Everest-Nepal-Tibet border-highest point.
• Andes-Peru in S. America
• Alps-South Central Europe
• Rockies-W.N. America
• Atlas-N.W. Africa.
• Appalachian-E.N. America
Theories of Origin of Fold Mountains
1.Contraction Theory
During the earth’s formation surface rocks cooled faster and wrinkled to form Fold Mountains.
2.Convectional Currents Theory
• Horizontal convectional currents in the mantle exerted frictional pull on crustal rocks.
• Continental crusts were pulled towards each other.
• Sediments between them were squeezed into folds.
3.Continental Drift Theory
• During break of Gondwanaland India drifted northwards and collided with Eurasia.
• Sediments between were squeezed to form fold mountains e.g. Himalayas and Everest.
4.Plate Tectonics Theory
• When an oceanic plate meets another or it meets a continental plate the sediments under the sea are compressed to form Fold Mountains.
• When two continental plates meet the sial layer is compressed to form fold mountains
-E.g.
Alps was formed when Africa plate pushed against the rigid European plate.
2.Escarpments

-A relatively continuous line of steep slopes facing the same direction.
Formed one compressional force causes folding resulting in one steep limp of the anticline which forms the escarpment.
3.Depressions

Formed when not very strong forces cause folding causing some parts of the earths surface to form synclines forming basins.
4.Ridges and Valleys

When folding occurs anticlines form uplands/ridges/hills while synclines form valleys.
5.Rolling Plains
– Plains which appear to rise and roll.
– Formed when plains are acted upon by weak compressional forces resulting into gently sloping anticlines and very wide synclines.
6.Inter-montane Plateaus

– A high fairly level land between mountains.
– Formed when rocks at the edges of a region become intensely folded and the middle parts resist folding resulting into mountains which enclose a high fairly level land.
7.Inter-montane basins
-Formed when some parts of inter-montane plateau sink more to form basins.
Significance of Folding
To Human Activities/Economic significance
Positive/advantages
1. Fold Mountains are a tourist attraction which brings foreign exchange.
2. Fold Mountains are water catchment areas and sources of rivers.
3. Some fold mountains have valuable mineral deposits such as coal and petroleum.
4. Fold Mountains act as protective barriers during war.
5. Some fold mountains on the path of rain bearing rainfall influence rainfall causing the windward slopes to receive heavier rainfall.
6. Folding can lead to formation of valuable minerals due to metamorphism.
7. Folding brings valuable minerals to the surface making them easily available.
Negative/disadvantages
8. Fold Mountains on the path of rain winds cause the leeward slopes to receive less rainfall.
9. Fold Mountains discourage settlement due to cold temperatures and rugged terrain.
10. Folding can lead to burying of minerals.
11. Fold Mountains are a barrier to road and railway where there are no passes and where there are passes they may be covered by snow.
Orographic fog hinders pilot’s visibility.
To Physical Environment
1. Folding can result in submerged coastal zones which are used as harbours.
2. Can lead to metamorphism of rocks changing their original state and making them more resistant to erosion.
3. Depressions formed by folding turn into wet land important for water purification.
4. Folding leads to faulting and magma may escape through faults leading to Vulcanicity and earth quakes.
Faulting
Faulting is the cracking/fracturing of the brittle crustal rocks due to tectonic forces.
Faults are fractures or cracks that develop in the crust.
• When tensional forces cause crustal rocks to stretch and fracture at the region of maximum tension.
• When compressional causes squeezing of crustal rocks to fracture at the areas where they are intensely squeezed.
• When vertical movements exert pressure on rocks leading to fracturing.
• When shear forces cause crustal rocks to tear.

Parts of a Fault
1. Upthrow-part of the land displaced upwards.
2. Down-throw-part of the land displaced downwards.
3. Throw-vertical displacement.
4. Heave-horizontal displacement
5. Hade-inclination of fault to vertical plane
6. Fault line-fault path
7. Fault plane-separation of land created by the fault
Types of Faults
Normal Faults

Type formed by tensional forces in which one block slides downwards in relation to the other.
• Rocks are subjected to tensional forces
• A normal fault develops

• One block slides downwards.

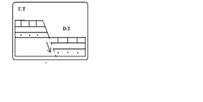
Reverse Fault
Type formed by compressional forces in which one block of land is pushed upwards in relation to the other.
• Rocks are subjected to compressional forces.

• A reverse fault develops.
• One block is pushed over the other.

Shear/Tear Fault

Type formed by shear forces in which adjacent blocks of land slide past one another.
If a shear fault occurs between continents it’s called a Transform fault e.g. San Andrean fault of California and great glen fault of Scotland.
Thrust Faults

Type formed when very strong compressional forces cause almost horizontal faults to develop and one block of land is pushed over the other.
Anticlinal fault
Type formed when anticlines are compressed further and cracks form on the crest.
Features Resulting From Faulting
Fault Scarp/Escarpment
Steep line of slopes formed by vertical movement of earth along a fault e.g. Mau, Nguruman, Nyandarua and Nandi.
-Are exposed parts of a fault plane.
It may be formed due to normal faulting or reverse faulting when overhanging blocks are eroded.
Fault Steps
– Land resembling the staircase or steps of a house with a series of fault scarps at different levels.
• Parallel vertical faults develop.
• Land between the faults is unequally displaced downwards.
• A series of fault scarps at different levels is formed.
-E.g. Keiyo escarpment and at Kijabe.
Fault Blocks/Block/Horst Mountains
• Blocks of land raised above the surrounding land.
• Where tectonic forces cause faulting and land on one side of the fault get raised or sink along the fault planes.
Examples of fault blocks are Aberdare/Nyandarua ranges, Mau escarpment and Nandi Hills.
• Where Blocks of land bordered by normal faults which are almost parallel to each other sink leaving the middle block standing.
Examples of horsts are Ruwenzori of W. Uganda and Usambara and Pare mountains of Tanzania.
Tilt Blocks
– Fault blocks which are inclined on one side.
• Occurs when the fault block, horst or fault steps have greater uplift on one side and as a result they are not flat at the top but tilted.
The resultant features are tilted fault blocks, tilted horst and tilt fault steps which form ridges and fault guided valleys.

Rift Valley
-Along narrow trough with steep escarpments on both sides.
Theories of Formation
Tensional Theory

• Reverse fault which are almost parallel develop.


Suggests the rift valley was formed by Anticlinal arching.
• Upward forces pushed sedimentary rock strata upwards.
• The rock layers bent into a big arch.
• A gaping/huge crack developed at the crest of the arch due to tension forming the rift valley.
The Great Rift Valley/The Great E.A Rift Valley
– The world’s biggest rift valley.
It starts in Syria and ends in Mozambique.
It’s divided into 4 parts.
1. Ethiopian Rift system-starts from Afar in Ethiopia to the Kenyan border around L. Stephanie.
2. Gregory Rift system-Starts from the northern border of Kenya with Ethiopia to Tanzania.
It has a small N.E-S.W branches:
• Kano Rift valley in Kenya
• L. Eyasi Rift Valley in Tanzania
3. Western Rift valley-Starts at Sudan border to south of L. Rukwa.
Features which are here are Ruwenzori Mountain and Lakes Albert, Edward, Kivu, Tanganyika and Rukwa.
4. Malawi Rift valley-a continuation of Gregory Rift system to Zambezi River in Mozambique.
It has a small N.E-S.W branch called Luangwa valley.
The Gregory Rift Valley
-Named after a geologist called Gregory J.W who carried out extensive studies in this area.
It’s where the Rift Valley features are more pronounced.
Features associated with it
• Fault blocks-Aberdare range, Mau, Nandi and Cherangani hills.
• Step faults-Kijabe and Tambach
• Tilt blocks-Aberdare range uplifted and tilted eastwards and Mau escarpment uplifted and tilted westwards.
• Lava flows and volcanic cones e.g. Menengai and Ngorongoro crater.
• Rift Valley lakes formed when unequal sinking created faults which were later filled with water.
The lakes are deep and elongated. Examples are Lakes Naivasha, Nakuru, Elementaita, Baringo, Bogoria, Ol Bolossat and Turkana.
Most of the lakes are salty with exception of L. Naivasha which has fresh water.
Why Most Rift Valley Lakes Are Salty
(a) Lack of outlets to drain away salts contained in them.
(b) Lack of enough water to dilute salinity due to little rainfall and lack of rivers flowing in them.
(c) High rates of evaporation causing increased accumulation of salts.
(d) Lake’s water being in contact with rocks with mineral salts which it directly dissolves.
(e) Washing into the lake of mineral rich soils by surface runoff.
Why L. Naivasha Has Fresh Water
(a) It has underground drainage to the Indian Ocean.
(b) There is inflow of fresh water from rivers and rain.
(c) The latest volcanic eruption covered the bed rock with lava.
Major Faulted Areas of the World
(a) The Great Rift Valley from Syria to Mozambique.
(b) Northern England and the Great Glen Fault of Scotland.
(c) The Central Massif of Europe.
(d) The middle Rhine Rift Valley region.
Significance of Faulting
To Human Activities
1. Rift valley lakes are important for fishing, irrigation and domestic use.
2. The Rift Valley and associated features are a tourist attraction which earns foreign exchange.
3. Hot springs and geysers formed during faulting can be harnessed for geothermal power.
4. Block Mountains are water catchment areas and sources of rivers due to the heavy rainfall they receive on the windward side.
5. Faulting results in the exposure of minerals such as diatomite in Gilgil and Fluorspar in Kerio Valley.
6. Fault scarps may expose underground water resulting in the formation of scarp springs.
7. Unequal subsidence caused by faulting may cause formation of depressions which may form lakes which useful for fishing, transport and mining e.g. L. Naivasha.
Negative
1. Faulting disrupts transport and communication by disjointing land.
2. Faulting may lead to loss of life and property by causing land to sink.
3. Faulting may cause a river to disappear or change its course and flow along the fault line.
4. Steep scarp slopes formed by faulting are prone to soil erosion.
5. Faulting has given rise to semi-desert conditions in some areas when Block Mountains on the path of rain winds cause leeward sides to receive little rainfall.
Vulcanicity
-Process in which solid, liquid or gaseous materials are forced out of the interior of the earth into the earth’s crust or onto the earth’s surface.
These materials are magma, lava, gases, dust, ash and cinder.
Causes of Vulcanicity
• Magma under high temperature and pressure moving through lines of weakness or faults.
• When tectonic plates move away from each other and boundaries give way to magma.
• Underground water coming into contact with hot materials hence changing into gaseous form.
There are 2 types of Vulcanicity:
Extrusive Vulcanicity (volcanic): in which materials intrude crustal rocks and don’t reach the earth’s surface. Magma is the molten material while it’s underground.
Intrusive Vulcanicity (plutonic): in which materials reach the earth’s surface.
Lava is the molten material after it reaches the surface.
There are two types of lava and magma, acidic and basic.
Acidic lava is viscous and solidifies quickly and doesn’t spread far but accumulates around the vent.
Basic lava is more fluid or less viscous and takes longer before cooling and spreads for great distances before doing so.
Other materials emitted are gases, ashes, dust and cinder.
The solid materials are called pyroclasts. Materials come out through a hole/vent (vent eruption) or crack/fissure (fissure eruption).
Features Resulting From Vulcanicity
– Divided into intrusive and extrusive features or landforms.
Intrusive/Plutonic Features

-Features formed by intrusive Vulcanicity when materials intrude the earth’s crust.
Sill
– An igneous intrusion which lies along a bending plane of rock strata.
– Formed when magma forces its way between rock layers then cools and solidifies.
– It forms ridge like escarpments when exposed by erosion e.g. Fouta Djalon highland of Guinea and 3 sisters of S. Africa.
Dyke
– A wall-like igneous intrusion which lies across the bedding plane of rock strata.
– Formed when magma intrudes cracks or faults cutting across bedding planes of rocks then cools and solidifies.
– Can be vertical or inclined.
When exposed it forms ridges e.g. Kaap Valley in Transvaal S. Africa and Jos Plateau in Nigeria.
Laccolith
– A mushroom-shaped igneous intrusion lying between bending planes of a country rock.
– Formed when viscous magma pushes its way through a vent and accumulates around the vent before reaching the earth’s surface pushing the overlying rock into a dome shape.
– Its so high that land is turned into mountains e.g. El Koub Hill in Algeria, Henry Mountains in Utah U.S.A and Fonjay Massif in Madagascar.
Batholiths
– Largest igneous intrusion formed underground formed when very hot magma intrudes bedding planes of rocks and replaces or metamorphoses it e.g. Chaila Massif in Gabon, Ikhonga-Murwe in Kakamega and the largest is in British Columbia.
Lopolith
– A large saucer shaped igneous intrusion formed when viscous magma intrudes into bedding planes of a country rock.
They form shallow depressions on the earths surface of the earth e.g. Bushveld complex in S. Africa and Duluth Gabbro mass in U.S.A.
Phacolith

– A lens shaped igneous intrusion which forms in the crest or trough of an anticline e.g. Corndon Hill in England.
Extrusive/Volcanic Features
– Formed when magma reaches the earth’s surface through vents or fissures.
Volcanoes
A volcano is a cone shaped hill formed when volcanic materials flow out and accumulate around a vent.
Volcanoes are classified into three groups:
1. Active volcano- which is known to have erupted in recent times e.g.
OL donyo Lengai in Tanzania and Mt. Cameroon, and Mauna Loa in Hawaii.
2. Dormant volcano-not known to have erupted in the recent past but show signs of volcanic activity such as presence of hot springs, geysers and fumaroles e.g. Mt. Kilimanjaro, Longonot and Menengai.
3. Extinct volcano-which has not shown signs of possible future eruptions e.g. Mountains Kenya and Elgon.
Types of Volcanoes
Acidic Lava Domes
– A steep dome shaped volcanic hill made of acidic lava.
• Viscous lava flows out through a vent.
• It accumulates around the vent because it’s viscous.
• Eruptions occur later and lava flows out covering the layers below.
• A steep sided dome shaped mound of volcano is formed e.g. Itasy Massif of Madagascar, Mt. Kenya and Kilimanjaro.
Characteristics
(a) Its dome-shaped
(b) Has steep slopes
(c) Made of acidic lava
(d) Has lava layers
(e) Has steep slopes
(f) Has a narrow base
Basic Lava Domes/Shield Volcanoes

– A low lying volcanic hill made of basic lava.
• Basic magma flows out to the surface through a vent.
• The lava flows far before solidifying because its fluid.
• Eruptions occur later and lava spreads over the old lava.
• A shield shaped mound of volcano is formed e.g. Canary Islands, Cape Verde and Sao Tome which are volcanic Islands in the Indian Ocean.
Characteristics
(a) Dome/shield shaped
(b) Has gentle slopes
(c) Made of basic lava
(d) Has lava layers
(e) Has a broad base
Ash and Cinder Cones

A volcano built from ash and cinder or small fragments of lava.
• Violent vent eruption occurs.
• Ash and pyroclasts are emitted and thrown high.
• Some materials fall and settle around the vent forming a hill.
• Light materials are blown by wind to the leeward side e.g. Chyulu Hills, Teleki and Likaiyu near L. Turkana.
Characteristics
(a) Made of pyroclasts
(b) Asymmetrical about the axis
(c) Cone shaped
(d) Has smooth slopes
(e) Has steep windward slope and gentle leeward slope
Composite /Complex/Stratified Volcanoes

A volcano made of alternating layers of lava and pyroclasts and conelets.
• The first eruption throws out pyroclasts.
• Then viscous lava flows out and solidifies on them.
• Eruption occurs later blowing the rocks sealing the vent.
• The pieces of rock settle on earlier solidified lava.
• Another mass of lava flows out and spreads over pyroclasts and solidifies.
• The process is repeated causing the volcano to build upwards
• The conelets are formed when magma is unable to overcome the plug and finds its way through weak lines at the sides and then pyroclasts and lava accumulate around the side vent e.g. Mountains Kenya, Longonot, Elgon and Kilimanjaro.
Characteristics
(a) Cone shaped
(b) Stratified (made of alternating layers of lava and pyroclasts.
(c) It has conelets (parasitic cones).
(d) It has steep slopes.
(e) Made of acidic lava
Plug Dome/volcano/Spine

– A column of very viscous lava which sticks above the ground.
• A column of very viscous magma flows out of the ground.
• It cools and hardens rapidly as it rises vertically.
• Pieces of rock break from the plug and accumulate on the sides e.g. Mont Pelee in West Indies, Hyrax and Fischer’s Tower at Hells gate in Naivasha and Devils Tower in U.S.A.
Characteristics
(a) Made of very viscous lava.
(b) It is dome shaped like a mushroom germinating out of the ground.
(c) Has debris on its sides.
(d) Has very steep sides
(e) Cylindrical in shape
(f) Disintegrates fast due to rocks undergoing rapid cooling.
Volcanic Plug

– Stump of rock formed when magma which solidified inside a vent (plug) is exposed by denudation.
• A volcano is first formed.
• Lava on the sides of the volcano is eroded fast due to cooling fast.
• The lava in the vent which is hard due to slow cooling is exposed forming a stump of rock e.g. Peaks of Mt. Kenya, Rangwa Hill and Tororo Rock.
Characteristics
(a) It resembles a stump of a tree.
(b) Its dome shaped.
(c) Very steep at the top and less steep at the bottom
(d) Made of hard/resistant rock
Lava Plains and Plateaus

Lava plain: fairly level lowland below 500m above sea level covered by thin lava layers.
Lava plateau: fairly level highland/upland above 500m above sea level covered by thick layers.
– Formed by fissure eruption.
• Magma of low viscosity comes out of the ground through a fissure.
• It flows for a long distance before cooling and solidifying filling depressions and valleys forming a plain.
• Eruption occurs later and lava flows out through lines of weakness on crustal rock and solidified lava.
• The new lava spreads on top of the old lava forming a new layer.
• The process is repeated and a plateau is formed e.g. Mwea, Nandi and Laikipia Plains and Yatta and Uasin Gishu Plateaus.
Craters
– A funnel shaped depression found on top of a volcano.
Modes of Formation
Cooling and Contraction of Magma
• Eruption occurs and a volcano is formed.
• Magma in the vent cools and contracts.
• It withdraws into the vent leaving a depression at the vents mouth e.g. Ngorongoro and Menengai craters.
• Rain water or water from melting snow may collect into craters to form crater lakes e.g. L. Paradise on Mt. Marsabit, L. Magadi on Ngorongoro Crater and L. Chala on Kenyan Tanzanian border.
Explosion
• Gases underground expand due to heat from magma.
• They force their way out through a weak line in the crustal rocks.
• An explosion occurs leaving a hole in the ground called a ring crater e.g. Ghama and Dobot craters in Tanzania and Hora craters in Ethiopia.
• Water from underground or rivers may accumulate into ring craters to form lakes called maars e.g. Lakes Katwe and Nyungu in Uganda.
Falling of a Meteorite
• A meteorite falls on the earth’s surface.
• It sinks into the rocks leaving a depression.
• Water may collect into the depression forming a lake e.g. L. Bosumtwi in Ghana.
Calderas/Basal Wreck
– A very large basin-shaped depression on the summit of a volcano.
Modes of Formation
Violent Explosion
• Gases and water heated by magma expand.
• They force their way through a vent.
• The rocks at the top of the volcano are blown off forming a large depression e.g. Nyirarongo Caldera in DRC and Sabiro Caldera in Uganda.
Block Subsidence/Cauldron

• Eruption occurs to form a volcano.
• An empty space (cauldron) is left in the magma reservoir in the mantle.
• The rocks forming the middle of volcano are pulled inwards by gravity.
• The middle of the volcano collapses forming a large depression at the top e.g.
Menengai Caldera near Nakuru and Ngorongoro caldera which is the largest in E. Africa and 6th largest in the world.
• Water from rain or underground may fill calderas to form lakes e.g. L. Magadi in the Ngorongoro caldera and L. Ngozi in Tanzania.
Outward Collapsing
• Ash and pyroclasts volcano grows high.
• Materials on top exert pressure on those below.
• Materials at the base begin to spread outwards.
• The top of volcano collapses inwards forming a collapse caldera e.g. Napak Caldera in Uganda.
– A vent in a volcano which emits gases.
Fumaroles
The gases come from chemical reactions in crustal rocks when heated by magma or when minerals in rocks come into contact with hot air and steam underground.
They are of two types:
Mofette: fumarole which emits carbon dioxide.
Solfatara: fumarole which emits gases with sulphurous compounds.
Hot Springs and Geysers
Hot spring is a place where hot water is emitted from the ground quietly e.g. at the shores of Lakes Magadi and Bogoria.
A geyser is a jet of water and steam which are violently ejected from the ground e.g. at Olkaria and western shores of L. Bogoria.
How They Are Formed
• Percolating water is heated by hot rocks or magma.
• Some collect into chambers called sumps where it develops pressure causing it to be super heated super heated.
• The pressure forces the steam outwards towards the earths surface through holes and cracks in rocks.
• The steam comes out of the ground which reduces pressure in sumps causing the water to expand/boil and come to the surface.
• The steam comes out with a whistling sound accompanied by water forming a geyser.
• The escaping steam heats ground water in surrounding rock.
• The heated water may find its way to the surface where it quietly comes out of the ground forming a hot spring.
Differences

Pools of Boiling Water
-Small area of still water which appears to be boiling.
• Actual heating of pool water by gases and steam causing the water to boil.
• Gases and steam coming out below the pool of water causing the pool to bubble and appear as if it’s boiling.
World Distribution of Volcanoes
(a) Regions of faulting e.g. the Great Rift Valley of E. Africa.
(b) Mid-Atlantic ocean ridge.
(c) The western coast of America.
(d) Zones of recent mountain building e.g. fold mountains of S.E Asia.
Significance of Vulcanicity
Positive
(a) Volcanic rocks weather to form fertile agriculturally productive soils e.g. basalt.
(b) Geysers are sources of geothermal electricity e.g. at Olkaria.
(c) Hot springs water is pumped into houses for heating during winter e.g. Iceland.
(d) Volcanic features are a tourist attraction e.g. hot springs, geysers and snow capped Mt. Kenya.
(e) Igneous rocks e.g. phonolites are crushed to make ballast for building roads, bridges, etc.
(f) Crater lakes are a source of fish e.g. L. Katwe in Uganda, sources of minerals e.g.
L. Magadi and sources of water for domestic use.
(g) Volcanic mountains are catchment areas, sources of rivers and habitats for wildlife.
(h) Pumice a volcanic rock is used as a scrubbing stone.
(i) Vulcanicity is useful for production of gases e.g. carbon dioxide used in soft drinks manufacture.
Negative
(a) Volcanic eruptions cause of life and destruction of property e.g. sulphur dioxide, ash, cinder and lava may bury houses and farm land.
(b) Volcanic mountains are barrier to transport and communication.
(c) Volcanic mountains on the path of rain winds cause leeward slopes to receive little rainfall by preventing rain bearing winds from reaching there.
(d) Volcanic eruptions cause environmental pollution from dust, ash and sulphur dioxide.
EarthQuakes

– Sudden and rapid movement of the earths crust.
– areas prone to them are called seismic zones and those not prone are called aseismic zones.
It’s caused by shock waves.
There are 3 types of earthquake waves namely:
1. Primary waves-which travel fastest and cause the rock particles to vibrate in a push and pull manner and can pass through gases, liquids and solids.
2. Secondary waves-which cause rock particles to vibrate at right angles to the direction of wave movement.
3. Surface longitudinal waves-which cause surface rocks to shake sometimes causing buildings to collapse.
i. Rayleigh waves – Which cause surface rocks to move in elliptical orbits.
ii. Love waves – which cause rock particles to move in a horizontal manner at right angle to the direction of wave.
Earth quake originates from a point known as seismic focus/origin.
The part of the earth vertically above the seismic focus and where the shock waves are first experienced is called epicentre.
Causes of Earthquakes
Natural Causes
(a) Tectonic movements e.g. movement of tectonic plates. They cause tectonic earthquakes.
(b) Vulcanicity when magma movement displaces rocks suddenly shaking and shuttering them.
(c) Gravitative force when crustal rocks collapse into cauldron due to gravity.
(d) Energy release in the mantle when radioactivity takes place in mantle releasing explosive energy which sends shock waves outwards.
(e) Isostatic adjustment when the continental masses rise to restore the upset state of balance between sial and sima layers.
Human Causes
(a) Exploding nuclear bombs underground which causes shock waves which spread outwards and are felt in the neighbourhood.
(b) When a train rolls on its rails causing the ground to vibrate.
(c) Explosion of explosives used in mining and quarrying which cause vibrations to be felt in the neighbourhood.
(d) When large reservoirs are constructed and the heavy weight of water reactivate dormant faults causing tremors.
Measurement of Earthquakes
Seismograph is a pendulum based instrument used to measure earthquakes.
It records seismic impulses on a graph-like record called seismogram mounted on it.
Earthquakes are measured by their intensity and magnitude.
Intensity
-Measure of how strong/hard the quake shakes the ground.
It’s seen from the effects the earthquake has on people, buildings and other structures.
It’s measured on the Mercalli Scale which uses a scale running from Roman i-xiii e.g.
• I- description -imperceptible
• V-rather strong-sleepers are awakened and there is swinging of objects.
• VIII-destructive-gaping cracks in walls some brought down.
• XII- major catastrophe-every building destroyed.
Magnitude
-Measure of amount of energy given off by an earthquake.
It’s measured on Ritcher Scale which ranges from 0-8.9.
Intensity values depend on how far a place is from epicentre.
The higher the scale the more severe the earthquake is.
• Intensity I-magnitude 2
• Intensity VIII-magnitude 6
• Intensity XII-magnitude 8.5.
World Distribution of Earthquakes
(a) Within the zones of major faulting e.g. Rift Valley.
(b) In areas of Vulcanicity e.g. Oldonyo Lengai in Tanzania.
(c) Along boundaries of tectonic plates e.g. Japan, Philippines, East Indies and west coast of north and South America.
Effects of Earthquakes
(a) Can cause loss of life and property when buildings collapse burying people.
(b) Disrupt transport and communication by vertically and laterally displacing land which disconnects pipelines, electricity lines, roads and railways.
(c) Causes landslides which also cause loss of life and property and disrupts communication.
(d) Causes raising and lowering of the sea floor and the coastal regions.
(e) Cause huge sea waves called Tsunami which may flood the neighbouring coastal areas.
(f) Trigger folding, Vulcanicity and fires.
(g) Give off a lot of explosive energy more than an atomic bomb.
(h) Cause fear and panic.
(i) Hinder settlement as it is restricted to aseismic areas.
(j) Cause violent motions of the earth’s surface.
Map Work
Map – representation of the whole or part of the earth’s surface drawn to scale.
• Shows outline of objects on the ground
• Drawn as if the drawer was above the ground
• It shows details
• Most of the features are indicated by symbols.
Picture: image of a real object.
• Gives details in their visible shapes and sizes
• Can be inform of free hand, drawing, painting or a photograph
• Not drawn to scale
Plan: outline of something drawn to scale.
• Also drawn as if a person was directly above the ground
• It represents a very small place
• The scale is large to show details e.g. house plan
• Gives specific information
Types of Maps
Classified according to the purpose for which each map is drawn.
Topographical Maps: This shows selected natural physical features on a small portion of a country.
Atlas maps: this is a collection of maps in one volume.
Sketch maps: maps which are roughly drawn.
A good sketch map should have the following characteristics:
1. neat and clear
2. title
3. frame
4. key
5. compass direction
Uses of Maps
1. Sketch maps are used to summarise information for easy reference.
2. Used for locating other countries.
3. Used for comparing sizes of countries.
4. For locating climatic regions of different parts of the world.
5. Give information on distribution of geographical phenomena e.g. vegetation on the earth’s surface.
6. Help travellers to find their way.
7. Used to calculate distance of a certain place.
8. Used to locate physical features like landforms.
Marginal Information
Information contained in the area surrounding the map.
1. Map name e.g. Yimbo.
2. Sheet title e.g. East Africa 1:50000 (Kenya).
3. grid system numbers
4. latitudes and longitudes
5. Compass direction with grid, true and magnetic north.
6. scales
7. key
8. publisher and copyright
9. Map identification
• Map series
• Sheet number or sheet index
Map Scales
A scale is a ratio of a distance on a map to a corresponding distance on the ground.
Types of Scales
Statement scale –expressed in words e.g. 1cm represents 1km, 1cm to 1km.
Representative Fraction (RF)-expressed as a fraction or ratio e.g. 1/200,000 or 1:200,000.
Linear scale-shown by a line which is subdivided into smaller units.
Conversion of Scales
Statement scale into RF
1cm rep 1km to RF
Multiply the number of kilometres by 100,000 (1km=100,000cm) i.e. 1×100000=100,000.
Statement scale is 1/100,000 or 1:100,000.
2cm rep 1km
Divide both sides by two to get 1cm rep ½ kilometres.
Multiply ½ by 100,000 to get 50,000.
RF is 1/50,000 or 1:50,000.
RF to Statement Scale
Divide the denominator by 100,000.
Write the scale in statement form.
Linear Scale to Statement Scale
• Measure a unit distance off a linear scale e.g.
• The distance is 4-3=1km which is represented by 2cm.
• Use the methods in (1) and (2) above.
Q. Given that the ground distance is 200km while the distance on map is 20cm calculate the scale.
Sizes of Scales
1. Small scales- show a large area of land on a small size of paper.
They show limited details e.g. 1:250,000, 1:500,000, 1:1,000,000.
2. Medium scales- used to represent a relatively smaller area on a given size of paper e.g. 1:50,000, 1:100,000, 1:125,000.
3. Large scales-used to represent a small area of land on a given piece of paper.
They show a lot of details e.g. 1:2,500, 1:10,000, 1:25000
Arranging Scales in Order
Ascending Order-smallest to largest
Descending Order-largest to smallest
(1)1/500,000
(3)1:25,000
(4)1/10,000
(2)1cm rep 500m
Uses of Scales
1. Estimating distances on maps
2. Measuring distances accurately-use dividers and ruler, piece of string or thread for curved distances or straight edge of paper.
E.g. calculate actual distance of a line 8.5cm long on a map using the following scales.
(i) 2cm rep 1km
(ii) 1:100,000
3. Calculation of areas-no. of full grid squares+ number of ½grid squares/2 or use of rectangles (l×b) or triangles (½ b×h).
Direction
– Course upon which something is pointing to.
Methods of Showing Direction
Traditional Methods
1. Use of Stars

– E.g. use of groups of stars called plough to find northern direction by locating the pole star and use of Southern Cross by using the brightest star which is over South Pole to find northern direction.
2. Use of Shadows

– E.g. morning, shadow of flag pole cast to your left you are facing north, etc.
3. Land Marks
– Using conspicuous features such as hills, buildings even roads to get direction.
Modern Methods
1. Land Marks
2. Compass Direction.
– Use of magnetic compass which has a needle which always points north.
It has 16 cardinal points and 4 are basic.
Bearing
– Expression of direction in degrees of an angle.
It’s measured from north in a clockwise direction.
Calculation of Bearing

Draw N-S line through observation point.
Join the two points. If it’s a feature the line should end at the centre of that feature.
Using a protractor measure the angle between the N-S line and the line joining the 2 points in a clockwise direction.
Bearing is expressed in degrees, minutes and seconds. 1◦=60’(min), 1 min=60” (sec)
The degrees are always expressed in 3 figures e.g. 030◦
Types of Norths

1. True North
-Position on the globe where all longitudes meet or the direction of N. Pole.
2. Grid North
-Point where Eastings meet at the N. Pole.
3. Magnetic North
– Point which the magnetic needle rests when left to swing freely.
Types of Bearing
1. Grid Bearing

– Bearing calculated from Grid North.
• Join the two points on the topographical map using a line.
• Measure the angle where the Eastings intersect the line joining the two points e.g. 030◦.

2. True Bearing
-Bearing calculated from True North. Its calculated when the type of bearing isn’t specified.
-E.g. from our compass diagram true bearing will be 30◦-1’=29◦59’
3. Magnetic Bearing
-Bearing calculated from Magnetic North.
Position of Magnetic North changes slightly every year.
Steps
• Years which have elapsed × Annual change. (No need if annual change is negligible).
E.g. from our compass diagram annual change =(2009-1991)×4.8’=18×4.8’’=86.4’’=1◦26.4’
• Add to the angle between the grid and magnetic bearing 1.e. 1◦26.4’+2◦30’=3◦56.4’
• Add to the Grid bearing (if change is towards E) or Subtract (if change is towards W). 30◦ +3◦ 56.4’=33◦56.4’
Location of Places
– Showing of position of a place or feature on a topographical map.
Methods
Use of Place Names
-Locating a feature by using the name of the place it’s at e.g. a river in Kisumu, Nakuru, etc or if it isn’t at a named place locate by the nearest name place e.g. a meander near Garissa town.
Use of Direction, Bearing and Distance
This is from a stated position e.g. Locate Nakuru from Nairobi.
Nakuru is 157km N.W of Nairobi.
Latitudes and Longitudes
The main longitudes are I.D.L and Greenwich /Prime Meridian.
The main lines of latitudes:
• The equator/Great Circle (0◦) which is the longest.
• Tropic of Cancer (23½◦N) of equator.
• Tropic of Capricorn (23½◦) south of equator.
• The Arctic Circle (66½◦N).
• Antarctic Circle (66 ½ ◦ S).
They are marked at the margins. Latitude is stated first (N or S) and longitude later (E or W) e.g. X◦N Y◦E
• Identify a place.
• Identify the nearest numbered latitude and longitude.
• Estimate to the nearest 1◦.
Grid Reference
Grid lines: network of lines on topographical maps.
-Numbered in small and large numbers and the large ones are used.
Eastings: N-S grid lines called so because they are numbered eastwards.
Northings: W-E grid lines called so because they are numbered northwards.
Grid reference is given in 4 figures or six figures.
In 4 figure the nearest grid line is stated while the 6 figure is estimated in fractions by dividing the space between grid line into 10 equal parts.
Easting is stated first followed by northing.
In the example below the 4 figure grid references are:
• A-6856
• B-6856
• C-6857
6 figure grid references are:
• A-675555
• B-680560
• C-682568
Methods of Representing Relief on Topographical maps
Relief is the nature of landscape e.g. plain, plateau, valleys, hills, etc.
Spot Heights
-Points on map whose positions and heights have been determined by surveyors.
They are shown by a dot and a figure e.g. (.1827).
• Advantage-show actual heights
• Disadvantage-can’t be used to identify landforms.
Trigonometrical Stations/Points

-Carefully chosen points carefully chosen and their altitude determined which —Are used as a basis for surveying an area.
They are marked on the ground by concrete pillar or slab.
They are indicated on topographical maps by:
Isohypes/Contours and Form Lines
A contour is a line on a map joining all points of the same height above sea level.
They are browner in colour and have heights written on them.
Form lines are lines drawn on a map joining places of approximately the same height above sea level.
They are less brown than contours and not all have values written on them.
Both contours and form lines are referred to as contours.

Contour/Vertical interval is the difference in height between any two successive contours.
Advantages of contours:
• They show actual heights.
• Can be used to identify land forms.
Pictorials
– Showing relief by drawing landforms at approximate positions where they are found e.g. mountains, hills, valleys, etc.
Disadvantages:
• They obscure details behind them.
• Don’t give height above sea level.
• Limited variety of landforms can be accommodated.
Hachures
– Short lines drawn to represent direction of slope.
• On steep land they are thick and close together.
• On gentle slopes they are thin and wide apart.
Their disadvantage is that they can’t be drawn on flat land.
Hill Shading
– Showing relief by shading to show shadows where by steepest slopes which are list lit have darker shade while hill tops, surfaces of plateaus and plains and valley bottoms are well lit have lighter shade.
Layer Tinting
– Colouring or shading land within a certain range of altitude or using a single colour with varying tones where the colour gets darker with increasing altitude.
Photograph Work
A photograph is an image of an object, person or scene recorded by a camera on a light sensitive film or paper.
Types of Photographs
1. Ground Photographs
– Taken from the ground.
They are of 2 types:
Ground Horizontals- taken with the camera at the same level as the object.
They are of 2 types.
Ground close ups/particular view photographs-taken from the ground with a camera focused on one particular object.
Ground General View Photographs-taken from the ground with camera focused on general scenery.
Ground Obliques-taken from the ground with a camera slanting/held at an angle.
2. Aerial Photographs
-Taken from the air e.g. from aircrafts, balloons or satellites.
They are of 2 types:
Aerial Obliques-taken from the air with camera tilted towards the ground.
Vertical Aerial Photographs-taken from the air with the camera directly above the object or scenery.
Parts of a Photograph

Uses of Photographs
Used in learning geography because they bring unfamiliar features in the classroom enabling the students to understand them better.
Photographs showing vegetation and human activities can be used to deduce the climate of an area.
Aerial photographs show vital information on land use.
Photographs showing land forming processes help us to understand those processes.
Limitations in the Use of Photographs
Coloured photographs are generally expensive to produce.
Black and white photographs don’t show the real colours of objects or scenery e.g. it’s difficult to distinguish ripe coffee berries from green ones.
Some aerial photographs have objects which are far away and hence unclear which may lead to the wrong interpretation.
Vertical aerial photographs are difficult to interpret without special instruments like stereoscopes.
Photographs are difficult to interpret if they are brulled because it’s difficult to distinguish objects which look similar e.g. wheat and barley.
Interpretation of Photographs
– Means to explain the meaning of the objects or features on a photograph.
It involves the following:
Determining the Title
Photographs show human activities, physical features, natural catastrophes etc e.g. nomadic pastoralism, drought, flooding, etc.
when determining the title examine the photograph carefully and apply the knowledge you have learnt in geography.
Estimating Time
– In the tropics the shadows are short at noon and longest in the morning and afternoon.
If the camera is facing south and the shadow is cast to the right it’s in the morning and if cast to the left it’s in the afternoon.
Estimating Season
Dry season
Bright clear skies
Dry vegetation
harvesting
Light clothes e.g. shirts and T-shirts since temperature is high (also an indication of high temperature.
Rainy season
Rain clouds
Luxuriant vegetation
Young crops
Flowering plants
Weeding
Heavy clothing e.g. pullovers or jackets since temps are low (also an indication of cool season).
Determining Compass Direction
It it’s in the morning and the shadow of flag pole is cast to the left the photographer is facing north and if cast to the right he was facing south.
It it’s in the morning and the shadow is facing towards you the photographer was facing east and it taken in the afternoon and the shadow is facing towards you the photographer was facing west.
Interpretation of Physical Features on Photographs
Relief
Flat land
• Rice crop
• Irrigation
• Combine harvesters
• Swamps
• Meanders
• Oxbow lakes
• Inselbergs (isolated hills)
Hilly/Mountainous landscape/Highland Area
Steep slopes
Terraced landscape
Tea, wheat crops which grow at high altitude
rapids
Water falls
Interlocking spurs
Drainage
Youthful Stage
Rapids
Waterfalls
Interlocking spurs
Middle Stage
meanders
oxbow lakes
Lower Stage
• deltas
• distributaries
• meanders and oxbow lakes
• flood plain
Vegetation
Natural
• Indigenous species
• Dense undergrowth
• Different species of trees
• Not of the same height
Planted
• Exotic species
• In rows
• Little undergrowth
• Same species
• Same heights
Tropical Rain Forests
• Trees
• Broad leaves
• Umbrella shaped
Marshes
• swamps
Savannah Grassland
• Grass and short trees (woodland).
Desert Vegetation
• Thorny leaves
• Baobab and acacia
• Scrub-land covered with shrubs and underdeveloped trees (shrubs).
Climate
High Temperatures and low rainfall
• Sugar cane
• Grass
• Sisal
• Scrub and bush land vegetation
• Dense forests
• Light clothes
Cool Temperature and High rainfall (Sufficient, Reliable and well distributed)
• Tea
• Coffee
• Wheat
• Dairy farming
Soils
Acidic and Volcanic Soils
• Coffee
• Tea
Clay Soils
• Rice
Black Cotton Soils
• Cotton
• Rice
Loamy Soil
• Horticultural crops
Human Activities and evidence
Settlement
– Group of dwellings where people live.
Rural Settlements
• Semi permanent houses
• Farming or fishing activity
• Uneven distribution of settlements
• Presence of villages
Urban Settlements
• Permanent buildings
• Storied buildings
• Heavy traffic presence
• Regular street patterns
Agriculture/Farming
Subsistence Farming
• Temporary and permanent houses
• Small pieces of land
• Mixed cropping
• Simple implements
• Local and exotic breeds of livestock
Crop farming
• Crops
• People preparing land or weeding or Harvesting
Commercial Crop Farming
• cash crops
• machinery
• feeder routes
• processing factories
Plantation Farming
• Single crop on extensive piece of land e.g. tea, coffee, etc.
• Many labourers
• Nucleated settlement within farms
Livestock Rearing
Nomadic Pastoralism
• Cattle grazing in a grassland or semi-arid region
Daily Farming
• Zero grazing
• Cattle with big udders
Ranching
• Paddocks
• Wind mills
Mining
• Quarry
• Large open pits
• Large excavators
• Lorries carrying loads of rocks
Industrial Manufacturing
• Buildings with large chimneys
• People engaged in a processing activity such as Jua kali artisans.
Lumbering
• People cutting trees using power saws
• People loading timber into lorries
• Logs pilled near a saw mill
• Forests with stumps
• Logs floating on a river
Transport
Motor transport
• Vehicles on roads
Railway Transport
• Railway line
• Trains
Air Transport
• Flat tarmacked piece of land
• Aircraft
Water Transport
• Boats
• Ships
• Ferries
Communication
• Telephone lines
• Telephone booths
• Post office
• Satellite masts
• T.V and radio stations
Sketching Diagrams from Photographs
• Draw a rectangle the same size as the photograph.
• Divide it into squares using faint lines.
• Subdivide the photograph into 9 sections.
• Insert the features in their exact positions using simple lines being guided by the squares.
• Label the important features e.g. vegetation, land use, prominent buildings, transport, and communication.
• Give the sketch a suitable title.
Graphs
– 2 dimensional drawings which show relationships between 2 types of data representing two items also called variables.
These are dependent variable which is affected by the other e.g. temperature (on y axis) and independent variable whose change is not affected by the other e.g. altitude (on x axis).
Steps
• Draw x and y axis.
• Choose suitable scale to accommodate the highest and lowest value.
• Plot the values accurately using faint dots.
• Join the dots using curved line. If it’s a bar graph the dots should be at the middle of the top line.
Years should also be at the middle.
You should have also decided on the width of the bars.
• In data without continuity e.g. crop production there should be gaps between bars and for one with continuity e.g. rainfall bars should not have gaps.
• Draw vertical lines on either side of the dot then draw horizontal line to join them with the dot.
• Shade uniformly if they are representing only one type of data and differently if representing one type of data.
• In combined line and bar graph temperature figures are plotted on the right hand side of y-axis while rainfall on the left
• Don’t start exactly at zero.
• Include temperature and rainfall scales.
• Start where the longest bar ends.
What a Well Drawn Graph Should Have
• Title
• Scale/scales
• Labelled and marked x and y axis starting at zero.
• Key if required e.g. in comparative bar graph.
• Accurately plotted and lines, curves or bars properly drawn.
Simple Line graph
Advantages
• Easy to construct
• Easy to interpret
• Easy to read/estimate exact values.
• Shows trend or movement overtime.
Disadvantages
• Doesn’t give a clear impression on the quantity of data.
• May give false impression on the quantity especially when there was no production.
• Poor choice of vertical scale may exaggerate fluctuations in values.
• Difficult to find exact values by interpolation.
Simple Bar Graph/histogram
Advantages
• Easy to construct.
• Easy to interpret.
• Easy to read.
• Gives a clear visual impression on the quantity of data.
Disadvantages
• Poor choice of vertical scale may cause exaggeration of bars.
• Doesn’t show continuity/ variation of data overtime.
• Unsuitable technique when values exist in continuity.
• Not possible to obtain intermediate values from the graph.
Combined Line and bar Graph
Advantages
Easy to construct.
Easy to read.
It shows relationship between two sets of data.
Disadvantages
• Difficult to choose suitable scale when values of variables differ by great magnitude.
• Considerable variation of data represented by the line may cause the line the bars thus obscuring the relationship.
• Doesn’t show relationship between the same sets of data of more than one place.
Temperature and Rainfall for Thika

Analysis and Interpretation
• The month with heaviest rainfall is May.
• The month with lowest rainfall is July.
• The hottest month was January and February.
• The months with lowest temperature were June and July.
Crop Production in Kenya in the Years 2001 and 2002

If the data has large figures e.g. 195262 plot in 1000s=195, 184,988=185.
You can draw comparative/group/multiple line and bar graphs from the data.
Comparative/Group/Multiple Line Graph

Advantages
• Simple to construct
• Suitable when comparing trends or movements
• Comparison of items is easy because the graphs are drawn using common axis
• Its easy to read exact values from each graph
Disadvantages
• Number of items which can be represented are limited
• Crossing of lines may make interpretation and comparison difficult and confusing.
• Total amount of variable cant be established at a glance.
Comparative Bar Graph
Advantages
• Easy to construct
• Easy to read and interpret
• Easy to compare similar components within different bars.
• Gives a good impression of totality.
• Individual contribution made by each component is clearly seen.
• Differences in quantity of components are clearly seen.
Disadvantages
• Doesn’t show trend of components over time.
• Not easy to compare components where bars are many
• Not suitable for many components.
Divided Bars or Rectangles
Production of Sugarcane in 1000 tonnes of 5 major factories in Kenya
Factory Production(ooo tonnes) Length in cm

Look for a convenient scale say 1cm rep 100000 visitors
• Draw a divided rectangle 10 cm long to represent the data.
• Show your calculations.
It should have the following:
• Title
• Different shades
• Key
• Width of 2cm
Analysis and Interpretation
– To get the meaning of
• Factory leading in sugar production is Mumias.
• The 2nd leading is Muhoroni.
• Factory with the lowest production of sugar is Sony.
• Calculation of %s.
Advantages
• Easy to construct
• Easy to compare components because they are arranged in ascending or descending order.
• Takes less space than when the data is presented using graphs.
• Each component proportion to the total can easily be seen at a glance.
Disadvantages
• Can’t be used for a large data.
• Only one unit of measurement can be used.
• Difficult to asses values of individual components.
• The visual impression isn’t as good as pie charts.
Exercise 1
Temperature and Rainfall for Kisumu

(a) Draw a bar graph to represent rainfall figures.
(b) Calculate the mean monthly temperature for the place.
(c) Calculate the mean annual temperature range.
(d) calculate the annual rainfall totals.
Exercise 2.

(a) Calculate the diurnal/daily temperature range for Tuesday.
(b) Calculate the mean daily temperature for Sunday.
3. Suppose at 40 ◦c air can hold 60g/m3 of water vapour and the maximum vapour it can hold is 70g/m3. Calculate the relative humidity.
4. (a) Calculate the time at Lamu 70◦E when time at GWM is noon.
(b) Calculate the longitude of Watamu whose time is 6pm when time at GWM is 9am.
5. Students from a certain school obtained the following marks in their end of term geography examination.
74, 52, 48, 60, 48, 32, 80, 67 and 85.
Calculate the following:
(a) Median
(b) Mode
(c) Mean
(d) State their advantages and disadvantages.
6. (a) Calculate the scale given that the ground distance is 200km while the distance on the map is 20cm.
(b) A student measured the length of a road on a map from point A to B and found it to be 3.6 cm. Use a scale of 1:50000 calculate the actual/ground distance in km.
7. Students intend to carry out field study of a forest around their school.
(a) State two ways in which they’d prepare themselves.
(b) State 2 objectives they’d have formulated for their study.
(c) List two problems they’d have encountered in the field.
(d) State two follow up activities they would have after the field study.
Climate
– Average weather conditions of a given place over a long period of time usually 30-35 years.
Factors Influencing Climate
Latitude
• It influences temperature whereby low latitudes have high temperature and high latitudes have low temperature due to the angle at which the sun rays strike the earth and the distance travelled by the suns rays.
• It also influences rainfall whereby places in the equator receive rainfall in two seasons when the sun is overhead there while northern and southern tropical areas receive rainfall when the position of the sun is overhead in those areas.
Inter-Tropical Convergence Zone
It’s a low pressure belt around equator where trade winds converge.
It influences rainfall in the following ways:
• Places further from equator experience one rainy season when the sun is overhead and a long dry season when the sun is in the S. hemisphere.
• Regions near equator have 2 seasons of heavy rainfall because they experience passage of ITCZ twice.
Altitude
• It influences temperature whereby at low altitude temperature is high while at high altitude its lower due to the thickness of atmosphere determining the number of particles to store heat and distance from space where terrestrial radiation is lost.
• It also influences rainfall whereby mountains on the path of rain winds receive Orographic rainfall and the windward slopes receive heavier rainfall than leeward slopes.
Distance from the Sea
• It influences temperature whereby places in temperate regions near the sea experience low temperature during summer onshore winds blowing over cold ocean water and taking the cooling influence on adjacent land because the water is heated at a slower rate than land.
• Places near the sea also experience higher temperatures during the winter or cool season due to sea breezes carrying warmer air to the land because water loses heat at a slower rate than land.
• Temperatures in the interior of continents tend to be high in summer and very low in winter due to lack of marine influence.
• It also influences rainfall whereby coastal regions receive a lot of rain when the winds are onshore and the continental interiors receive less rain mainly in summer because onshore winds will have dropped most of moisture along the way.
Ocean Currents
• It influences temperature whereby coasts which are washed by warm ocean currents are warmer while those washed by cold ocean currents are cooler due to the onshore winds being either warmed or cooled and then taking the warmth or coolness to the land.
• It influences rainfall whereby coasts washed by warm ocean currents experience heavy rainfall when moist onshore winds are warmed by the current and made to hold on to moisture which they release on reaching the land.
• The coasts washed by cold ocean currents on the other hand experience low rainfall as a result of moist winds being cooled and moisture in them condensed resulting in rain falling over the ocean thereby bringing little or no rain to the coastal areas.
This is the cause of western margin deserts e.g. Kalahari and Namib deserts.
Aspect
– Direction of slope in relation to sunlight and the rain bearing winds.
Its effect on temperature is more pronounced in the northern and southern hemisphere.
• In the N and S hemispheres the slopes facing sun are warmer while those facing away are cooler.
• The slopes in the direction of rain winds i.e. the windward slopes receive heavier relief rainfall than the leeward side.
Winds and Air Masses
Wind blowing from a warm region warms the region its passing over and if blowing from a cool region cools the region it’s passing over since wind is a medium of transfer of heat.
• Sea breezes take cooling influence on land during hot afternoons.
• Katabatic winds cause low night temperatures on valleys and foot of mountains.
• Fohn and Chinook which are descending dry winds take dryness to the leeward sides of Alps and Rockies.
Winds influence rainfall in the following ways:
• Anabatic winds cause afternoon showers on mountainous regions.
• Moisture laden winds cause heavy rainfall.
• Persistent dry winds cause desert like conditions in the area they pass over e.g.
Harmattan winds from Sahara which blow over W. Africa.
• Regions around large water bodies experience high rainfall because of the effect of land breezes.
Configuration of Coastline
Coastal regions across the path of moisture laden winds receive higher rainfall because winds deposit moisture on land e.g.
Mombasa while those lying parallel to the path of those winds receive less rainfall because moisture is deposited on the sea e.g. Lamu.
Forests
Forested areas experience a micro climate whereby:
• Temperature is lower due to shades of trees reducing solar insolation reaching the ground.
• Rainfall is heavier due to high rate of evapotranspiration and friction between trees and rain bearing winds.
Human Activities
• Man has caused deforestation in the process of creating room for settlement and agriculture which has caused drop in rainfall amounts leading to semi-arid conditions.
• Man has constructed dams across rivers and done afforestation which has caused semi-arid regions to become wetland.
• Gases especially co2 emitted from burning fossil fuels and chlorofluorocarbons layer cause global warming through the green house effect and destruction of ozone layer respectively.

Modified Equatorial Climate
– Experienced along the coast and along the coast from Somali-Tanzanian border and L. Victoria basin regions around the lake.
Along the Coast
Characteristics
• High temperatures throughout the year mean annual about 27◦c.
• Small mean annual range of temperature about 4◦c.
• Hottest months are December and January.
• Experiences rainfall throughout the year/ no real dry season.
• Double maxima rainfall regime (2 rain seasons) in May and October.
• High humidity due to high temperature causing high rates of evaporation and nearness to the sea.
L. Victoria Basin
Characteristics
• Temperature is lower than the truly equatorial climate due to modifying influence of the lake (mean annual range between 22-26◦c).
• There are no real dry months.
• Heavy rainfall ranging from 1000-600mm.
• Double maxima rainfall regime.
• Receives convectional type of rainfall which falls mainly in the afternoons.
• High relative humidity due to high temperature and nearness to the lake which is a source of moisture.
Modified Tropical Climate
– Experienced in central highlands E and W of R. Valley.
Characteristics
• Mean annual temperatures averages between 17-24◦c.
• Lower warmer slopes and cooler higher slopes due to modification by altitude.
• Receives rainfall throughout the year (1000-2000mm).
• Receives Orographic rainfall caused by S.E Trade Winds.
• Double maxima rainfall regime in eastern highlands and single maximum in the W. highlands.
• Humidity is moderate.
Tropical Continental/desert Climate
– Experienced in about ½ of Kenya in most of N, N.E, most of E and S Kenya.
Characteristics
• High temperatures throughout the year with mean between 22 and 27◦c.
• Generally dry with less than 500mm of unreliable rainfall.
• Large diurnal range of temperature.
• The skies are generally clear.
• Low humidity.
• Temperature has been modified by relief in some areas e.g. Voi-25◦c and Garissa -28.5◦c.
Tropical Climate
– Experienced in Narok, S. Taita and Kwale region.
Characteristics
• High temperatures (mean annual temp-16.5◦c).
• Temperature is modified by relief in some areas e.g. Loita, Taita and Narok which has made the place suitable for human habitation.
• Generally low rainfall amounts.
• Rain falls in one season.
• A long dry season lasting up to 6 months.
Tropical Northern Climate
– Experienced in a small area in the N. W part of Kenya bordering Uganda.
Characteristics
• High average temperatures.
• Temperatures are modified in some places by altitude.
• Low mean annual rainfall of about 850mm.
• Rain falls mainly in June and September.
• Experiences a long dry season of up to 6 months.
Desert Climate
– Experienced in central northern Kenya where there are pure deserts such as Chalbi, Karoli and Kaisut deserts.
Characteristics
• Temperatures are very high throughout the year averaging 30◦c due to cloudless skies.
• Very low rainfall of less than 250mm per year.
• Characterised by diverging or descending winds which don’t bring any rain.
• Night temperatures are extremely low.
• Humidity is low.
• Sandstorms are common occurrences.
World Climatic Regions
Classifications
1. Hot climates
2. Warm climates
3. Cool climates
4. very cold climates
5. Mountain climates
6. micro/local climates
Hot/Tropical Climates
– Experienced within the tropical latitudes.
– Subdivided into:
(a) Equatorial climate
(b) Tropical monsoon climate
(c) Savannah climate/Sudan type
(d) Tropical desert climate
(e) Tropical marine climate
Equatorial climate
-Experienced in the following areas:
(a) Amazon basin in S. America.
(b) Along west coast of Africa from guinea to Cote d’ Ivoire.
(c) Southern part of Nigeria through Cameroon, Gabon, Central African Republic, Congo to Zaire.
(d) S.E Asia in Malaysia, Indonesia and a stretch between Burma and Vietnam.
Characteristics
• High temperatures throughout the year (between 24-27◦c).
• Temperature neither rises nor drops too low due to thick cloud cover all year round.
• Heavy rainfall throughout the year (mean annual of about 2000mm).
• Double maxima rainfall regime.
• Experiences convectional rainfall in low lands and relief rainfall in areas of high relief.
• High relative humidity of over 80% due to convergence of moist air masses and high evapo transpiration rates.
• Low pressure all year round.
• There are no seasons.
Tropical Monsoon Climate
It’s found in the following areas:
(a) S.E Asia in parts of Pakistan, India, Bangladesh, S. china and Philippines.
(b) Along the northern coastal region of Australia.
Characteristics
• High mean annual temperatures of about 28◦c.
• Seasonal reversal of winds.
• Heavy rainfall when monsoon winds are onshore (600-1300mm) climate.
• Rain falls in a few months and the rest of the year is dry due to influence of latitude.
• Low pressure in summer when winds blow onshore.
• High pressure in summer when winds blow offshore.
• Cloudy skies in summer and clear skies in winter.
Tropical Marine Climate
It’s found on windward slopes of islands and coastal areas on the east of continents under the influence of S.E Trade Winds in the following areas:
(a) C. America in S. Mexico through Guatemala, Nikaragua and Panama.
(b) N. coast of S. America.
(c) Caribbean islands of Cuba, Haiti and Jamaica.
(d) Coastlands of E. Africa from Kenya, Tanzania through Mozambique and E. Malagasy.
Characteristics
• Summer temperatures are very high approximately 30◦c.
• High rainfall totals in summer when winds are onshore (1000-2000mm).
• Orographic and convectional rainfall in summer.
• Dry winters due to winds being offshore.
• High humidity due to coastal location.
• Experiences tropical cyclones towards end of hot season.
• Winters are cool (about 21◦c).
Tropical Continental/Savanna/ Sudan type
– The largest natural climatic region in Africa.
It’s found in the following areas:
(a) In Africa it extends from Senegal through E. Africa to the northern part of s. Africa.
(b) Western Madagascar.
(c) A broad belt in N. Australia.
(d) N.W and S.E of Amazon Basin called Llanos and Campos.
Characteristics
• Higher temperatures of up to 32◦in hot season.
• Large diurnal range of temperature in dry season.
• Convectional rainfall in summer averaging 765mm annually.
• High humidity during the hot wet season.
• Low humidity in cooler drier months.
• Prevailing winds are mainly trade winds.
Types of deserts
Erg – Sandy deserts with large amounts of deposited sand.
Hamada – Rocky deserts made of bare surfaces.
Reg – Rocky deserts covered with angular pebbles, gravels and boulders.
Hot continental interior deserts found on the interior of continents on the leeward sides of high mountains e.g. Sahara and Arabian Desert.
Ice and snow deserts of polar lands like Greenland and Antarctica desert.
Tropical Desert Climate
– Found on the western coasts of continents washed by cold ocean currents.
They are the following:
(a) Arabian Desert of the middle East
(b) Sahara, Kalahari and Namib deserts in Africa.
(c) Atacama Desert in S. America.
Mohave and Colorado deserts of U.S.A. and Mexican deserts in N and C America.
(d) Jordan, Syria, Iran, Iraq, Saudi Arabia, Israel and Afghanistan.
(e) The great Australian desert in the greater western part of the continent.
Characteristics
Warm Climates
They border tropical climates and they experience moderate temperatures lower than of tropical climates.
They are situated in the zone of divergence of trade winds and westeries (subtropical high pressure belt).
Subdivided into:
1. Warm temperate Western margin/Mediterranean Climate.
2. Warm Temperate Interior/continental Climate.
3. Warm temperate Eastern marginal Climate.
4. Warm temperate Deserts.
Warm Temperate Western Margin
– Also known as Mediterranean Climate.
– Found on the western margin or sides of continents in the following areas.
(a) Southern Europe and N. Africa in the lands bordering Mediterranean Sea.
(b) S.W tip of Africa around Cape Town.
(c) Central Chile in S America.
(d) S.W and S Australia.
Characteristics
• Hot summers with temperatures of about 21◦c.
• Mild winters with temperatures of about 10◦c.
• Characterised by hot and cold local winds called Mistral and Sirocco.
• There is high sunshine duration and intensity in summer.
• Experiences cyclonic rainfall in winter when westeries are onshore.
• Rainfall decreases inland.
• Summers are dry due to trade winds blowing offshore.
• There are distinct seasons i.e. summer, autumn, winter and spring.
Warm temperate Interior Climate
– Also called Steppe Type.
It’s found in the interior of continents in the following areas (grasslands):
(a) Steppe Land of U.S.S.R.
(b) Veldt of S Africa.
(c) Prairie lands of Canada and U.S.A.
(d) Pampas lands of Argentina.
(e) Downs of Australia.
Characteristics
• Warm short temperatures between 18-21◦c.
• Long winters with extremely low temperatures due to continentality which can fall up to -20◦c.
• Precipitation is received all the year round.
• Most rainfall is received in summer and snow precipitation in winter.
• Rainfall is moderate with annual mean of 500mm.
• Summer rainfall is caused by convection and depressions.
• There is high humidity in summer.
Warm temperate Eastern Margin climate
– Also known as China Type.
It’s experienced on the eastern margins of continents in the following areas.
(a) S.E China and S. Japan.
(b) S.E Australia.
(c) S and S.E states of U.S.A.
(d) S. America in S. Brazil, Uruguay, E. Paraguay and coast of Argentina.
Characteristics
• Hot summers with a mean annual of about 26◦c.
• Mild to cool winters due to marine influence and local winds (4-13◦c).
• Receives rainfall throughout the year (about 1000mm).experiences hurricanes and typhoons.
• Convectional rainfall is common in summer.
• Rainfall is moderate between 760 and1500mm.
Warm Temperate Deserts
– Also known as Mid-Latitude Desert climate
.
It’s experienced in the following areas:
1. Nevada and Utah states of U.S.A.
2. Pentagonia in S. America.
3. Gobi Desert extensive desert area of southern Mongolia and northern China and the largest desert in Asia.
4. Turkey, Turkmenistan, Uzbekistan and Kazakhstan.
Characteristics
• High summer temperatures (27-37◦c).
• Cold winters as low as -7◦c.
• Very large diurnal and annual ranges of temperature.
• Low and unreliable rainfall due to great distance from the sea about 250 mm annually.
• Most rainfall falls in late winter or early spring.
Cool Climates
They differ from warm climates by having definite seasonal variations in temperature.
Subdivided into:
1. Cool Temperate Western Margin
2. Cool Temperate Continental Interior
3. Cool Temperate Eastern Margin
Cool Temperate Western Margin Climate
– Also known as British Type.
It’s under coastal influence.
– Found in the following areas:
(a) British Isles (Island)
(b) Central and N.W Europe
(c) N.W U.S.A. and British Columbia in Canada.
(d) S. Chile
(e) Tasmania in Australia
Characteristics
• Warm summers (13-15◦c).
• Cool winters (2-7◦c).
• Small temperature range.
• Well distributed rainfall throughout the year (760-2000mm).
• Cyclonic rainfall in the coastal lands and relief rainfall in mountainous areas.
• High humidity in winters.
• Long summer days with irregular thunderstorms.
• Convergence of sub-tropical and polar air masses.
• Onshore westerly winds are dominant.
Cool Temperate Continental Interior Climate
– Also called Siberian type.
– Found in the following areas:
(a) Alaska and most of Canada
(b) Eurasia covering Sweden, Finland, Poland, Germany, across former U.S.S.R. up to Kamchatka Peninsular in the east.
Characteristics
• Warm summers with temperatures of about 18◦c.
• Generally short summers.
• Extremely cold winter temperatures which go below 20◦c.
• Long winters with long nights.
• Precipitation is mainly in form of snow during winter (annual precipitation 400-500mm).
• Convectional rainfall in summer is accompanied by thunderstorms.
Cool Temperate Western Margin Climate
It’s also known as Laurentian Type.
Areas:
(a) N. U.S.A. and S Canada.
(b) S. Argentina.
(c) N & S Korea, N. China, C and N Japan and E. Siberia.
Characteristics
Cold Climates
– Found beyond Arctic Circle i.e. 66 ½◦N and S of equator.
– Classified into Tundra and Polar Climates.
Tundra Climate
Areas:
(a) Coast of N. America bordering Arctic Ocean.
(b) N part of America from Alaska through Canada to Greenland.
(c) From N coast of Scandinavia to the N.E of Russia.
(d) Baffin Island.
Characteristics3
• Short cool summers with average temperatures of about 10◦c.
• Long cold winters (-29 – -40◦c).
• Continuous days in winter and summer for several days.
• Low annual precipitation of about 250mm.
• Precipitation in form of rain and snow in winter.
Polar Climate
– Experienced at the poles in the interior of Iceland, Green land and Antarctica.
Characteristics
Temperature is permanently below freezing point.
There is permanent snow cover and ice on the ground (permafrost).
Snow storms (blizzards) are common.
• Continuous winter nights and summer days with exception of equinox when sun rises above horizon.
Mountain Climates
– Experienced on high mountain ranges of the world.
Areas:
1. Mt. Kenya (5199)
2. Mt. Ruwenzori (5109)
3. Mt. Kilimanjaro (5895)
4. Mt. Everest (8848)
5. Atlas mountains in Africa
6. Rockies of N. America
7. Alps of Europe
8. Himalayas in Asia
Characteristics
• Temperature decreases with increasing altitude.
• Temperature ranges from cool to cold.
• Experiences Orographic rainfall.
• Rainfall increases with altitude up to 3000mm and starts to decrease because air is cold and hence has poor capacity to hold moisture.
• Windward slopes are wetter than leeward slopes.
• Atmospheric pressure decreases with increasing altitude.
• Local winds are common and blow up the slope during the day and down slope at night.
• In temperate regions slopes facing the equator are warmer than those facing the poles.
• Atlas mountains in Africa
• Rockies of N. America
• Alps of Europe
• Himalayas in Asia
Local/Micro Climates
Climate experienced within a small area which is slightly different compared to the general climate of the area.
It occurs on the immediate surroundings and within some phenomenon on the earth’s surface.
Micro-climates can be found in the following areas:
(a) Within and around a forest
• Experience low temperatures due to trees preventing solar insolation from reaching the ground.
• Experiences high rainfall due to high rates of evapotranspiration.
(a) Urban areas
• Higher temperatures due to green house effect (situation where atmospheric gases absorb heat that is given off by the earth (terrestrial radiation) before its sent back to space causing the temperature of the lower atmosphere to increase.
(b) Around man made lakes
• Experience high convectional rainfall due to high moisture content.
• Around natural lakes experiences land breezes which cause early morning showers and sea breezes which lower temperatures during the hot season.
Aridity and Desertification
Aridity-state of land being deficient of moisture leading to little or no vegetation.
Desertification-process in which desert like conditions slowly and steadily encroach on formerly productive agricultural land.
Causes of Aridity and Desertification
1. Low and unreliable rainfall below 250mm per annum causing little or no vegetation and absence of animal and biological life causing soil forming processes to be incomplete.
2. High temperatures which cause high rates of evaporation which exceed evaporation or low temperatures which reduces air capacity to hold moisture causing a place to receive little or no rain..
3. Where a place is washed by ocean currents causing moist onshore winds to cool and then drop moisture over the sea and reach the land as dry winds e.g. Kalahari when onshore westeries cross the cold Benguela Current.
4. Where relief barriers such as hills or mountains cause some areas to lie on the rain shadow hence rain winds drop most of their moisture on the windward side and they drop on the leeward side, are warmed and hold onto moisture causing dry conditions e.g. Kalahari and Namib on the rain shadow of Drakensberg mountains.
5. Location of some places very far from the sea causing them to be far removed from wet onshore winds e.g. Gobi Desert.
6. Where hot dry winds blow over a region causing drying effect on land e.g. Harmattan over West Africa.
7. Where cool air descends causing no rain because cool air has to rise before condensation takes place.
Human Activities
8. When people clear forests which causes runoff to exceed infiltration which interferes with the water cycle.
9. Keeping large number of animals which exceed the carrying capacity of land they eat vegetation leaving the land bear exposing the land to soil erosion.
10. Poor agricultural practices such as overcultivation, monoculture and slashing and burning which lead to soil erosion.
11. Industrialisation which releases green house gases such as co2 to the atmosphere which absorb more heat making the earths temperature to rise.
12. Reclamation of water logged areas which lowers the water table causing arid conditions to set in plants when plants can’t access ground water.
13. Poor irrigation methods when evaporation takes place and salt from below are brought to the surface and are deposited on the top soil making the soil salty and hence unable to support plants.
Effects of Aridity and Desertification
1. Infertile soils which support little or no vegetation.
2. Low agricultural production due to insufficient rainfall leading to famine.
3. Shortage of water for domestic and industrial use which may also lead to shutting down of my sons.
4. Migration of people from areas affected by aridity and desertification leading to population pressure and eventually conflicts.
5. Destruction of vegetation which exposes land to soil erosion.
6. Can lead to extinction of some plants and animal species causing loss of biodiversity.
Solutions to Aridity and Desertification
1. Afforestation and reafforestation because trees protect soil from erosion, increase run off and release moisture to the atmosphere leading to increased rainfall.
2. Adopting soil conservation measures such as terracing, contour ploughing, planting cover crops etc.
3. Rearing a number of animals which is proportional to the carrying capacity of land.
4. Irrigating dry lands.
5. Introduction of energy saving stoves to reduce demand for wood fuel which will reduce deforestation.
6. Use of alternative sources of energy which don’t pollute the environment e.g. solar and water.
7. Introducing drought resistant crops in the arid areas.
8. Controlling industrialisation by setting laws governing pollution.
Climate Change
– Establishment of a new climatic state.
– Continuous changes in climatic states such as temperature and precipitation over time.
Causes of Climate Change
Natural Causes
1. Variations in the Earths Orbital Characteristics
-Changing or earths orbital characteristics within 1000 years from elliptical (aphelion) to nearly circular (perihelion) when the earth is nearest to the sun and receives maximum solar energy and back to elliptical when the earth is farthest from the sun and receives least solar energy.
2. Variation in the Atmospheric Carbon Dioxide
-When natural rise in temperature cause carbon dioxide held up in cold ocean waters to be released to the atmosphere after oceans warmed.
3. Volcanic Eruptions
• When large quantities of volcanic ash and dust thrown out of the ground block some of the solar insolation from reaching the earths surface causing temperatures on the earths surface to drop for a short period.
• When sulphur dioxide given off during volcanic eruptions reacts with water vapour forming a bright layer within stratosphere reducing the amount of solar radiation reaching the surface by reflecting some of it back which also lowers temperatures on the surface.
4. Variation in Solar Output
-changes in the amount of solar energy given off by the sun whereby at times its less causing drop of temperature on the earths surface and at others its gives off more causing rise in temperature on the surface.
Human Causes
1. Burning of fossil fuels in industries, transportation, electricity generation etc.
which contributes 65% of additional co2 in the atmosphere which is the main green house gas.
2. Burning of vegetation e.g. in shifting cultivation and forest fires which also adds co2 in the atmosphere.
3. Clearing large tracts of forests foe agriculture, settlement etc. which reduces the main deposal system for co>2 from the atmosphere by photosynthesis.
4. industrial developments which add gases like methane, nitrous oxide and those containing chlorine and chlorofluorocarbons which damages ozone layer which filters a greater percentage of ultra violet radiation given off by the sun which causes the average temperatures on the earth to rise.
Consequences of Climate Change
1. Global warming due to green house effect by gases added in to the atmosphere and destruction of ozone layer.
2. Increased rainfall as a result of high temperatures causing high rates of evaporation causing wet areas to become wetter and dry areas to become drier.
3. Effect on agriculture by causing crop growing areas to shift to cooler altitudes and latitudes e.g. wheat growing areas of Canada shifting to the poles and causing dropping or failure of crop yields in area where temperatures have increased.
4. Water shortage when climate becomes drier causing less water to infiltrate underground and hence less water to feed rivers.
5. Submergence of coastal areas causing flooding when Antarctic and Arctic glaciers melt and water is added to the oceans.
6. Heat waves due to increased temperature which leads to death of people.
7. Receding and disappearance of ice caps on mountains e.g. Mt. Ruwenzori.
8. Abnormal growth of plants due to increased amounts of co2 causing increased rate of photosynthesis which may lead to increased yields of major crops, poor soils due to soils having to sustain high rates of plant growth.
9. increased levels of ultra violet radiation which causes human diseases such as skin cancer, lowering crop production by slowing photosynthesis and germination, lowering fish population by damaging plankton which fish eats and degradation of paint and plastics.
Solution to Climate Change
• Afforestation and reafforestation.
• Use of energy saving stoves to reduce the rate of deforestation.
• Use of alternative sources of energy which are environmentally friendly e.g. solar and water instead of fossil fuels.
• Proper maintenance of vehicle to reduce emissions from their exhausts.
• Use of public transport to reduce the amount of fossil fuel used and hence the amount of co2 added into the atmosphere.
Vegatation
– Plant cover on the earths surface.
Types of Vegetation
1. Natural Vegetation
-Which grows by natural means of seed dispersal without interference and modification by man.
2. Semi- Natural/Derived Vegetation
-Natural vegetation which is in the process of recovering from interference by man.
3. Planted/Cultivated Vegetation
-Vegetation planted by people e.g. forests of exotic trees, trees in Agroforestry and plants used as hedges e.g. cypress.
Factors Influencing Types and Distribution of Vegetation
Topographical Factors
1. Altitude
• Coniferous trees are found at high altitudes because they are adapted to cool conditions.
• There is no vegetation on mountain tops because there are very low temperatures which inhibit plant growth.
2. Terrain
• Gentle slopes which have deep and well drained soils are best suited for plant growth than steep slopes which have thin soils due to severe erosion and less soil water to sustain plant growth due to high runoff.
• Flat areas have poor drainage hence are swampy and can only support swamp plants.
3. Aspect
There are a wide range of plants on the slope facing the sun and in the direction of rain bearing winds as they are warm and wetter.
Grass lands are dominant on the leeward side because they are drier.
4. Drainage
There is a large variety of plants on well drained soils while water logged soils have swamp plants such as reeds and papyrus.
Climatic Factors
1. Temperature
• Plants in warm areas are large in number and grow faster e.g. in the tropical lands. Also there are deciduous trees which shed leaves to reduce the rate of transpiration.
• In areas with low temperatures there is slow growth of plants and coniferous forests are found there.
2. Precipitation
• There are a large number of plants in areas with high precipitation and these areas are dominated by forests which are broad leaved to increase the rate of transpiration.
• Areas with moderate rainfall are dominated by grasslands and those with little rainfall have scanty vegetation of scrub and desert types.
3. Sunlight
• There is large number of plants in areas experiencing long sunshine duration.
• There is little undergrowth in tropical rain forests because the canopy prevents sunlight from reaching the ground.
4. Wind
• There is heavy rainfall in areas where warm moist blow to and hence a large number of plants which may be broad leaved to increase the surface area for transpiration.
Edaphic/Soil Factors
• Fertile soils have a larger number of plants while infertile soils have scanty vegetation.
• Soil pollution e.g. oil spillage cause drying up of plants.
• Deep soils have deep rooted plants such as trees while shallow rooted soils have shallow rooted plants such as grasses and shrubs.
Biotic/Biological Factors
1. Living Organisms
• Bacteria, earth warms and burrowing animals improve soil fertility resulting into more vegetation growth.
• Insect and birds pollinate plants enhancing their propagation.
• Bacteria and insects cause plant diseases of plants resulting in death of some e.g. aphids which affected cypress in late 80s.
• Large herds of wild animals can destroy vegetation through overgrazing and can turn grasslands into deserts.
2. Human Activities
• Clearing of natural vegetation for settlement, agriculture etc. can lead to desertification.
• Bush fires such as burning grasslands for the grass to sprout can cause extinction of some plant species.
• Overstocking can lead to overgrazing turning grasslands into deserts.
• Rehabilitation of deforested areas can stop the spread of deserts.
Vegetation in Kenya

1. Forests
The area under forest is less than 7%.
The bulk is found in Central Highlands
(a) Plateau Forests
It used to cover extensive areas around L. Victoria but today there are few patches around the lake in Maragoli, Kakamega, Kaimosi, Malava, Turbo and Tinderet forests.
They are tropical rain forests with tall trees standing among shorter trees intertwined with creepers.
(b) Lowland Forests
– Found along the Kenyan coast.
The main types are:
• Mangrove forests which grow in shallow waters and
• Tropical rain forests in Shimba hills in Kwale District and Arabuko Sokoke in Kilifi.
(c) Highland/Mountain Forests
-Found on the slopes of Mt. Kenya, Aberdare forests, Iveti, Mbooni, Kilala and Marsabit forests.
Indigenous hardwoods are olive, Meru oak, mvule, Elgon teak and camphor while indigenous softwoods are podocarpus and African pencil cedar and bamboo.
They have been planted with exotic hard wood trees e.g. eucalyptus and silver oak and exotic softwoods such as pines, cypress, fir and wattle.
2. Savanna
– Most widespread vegetation covering about 65% of the total area.
(a) Wooded/Tree Grassland
– Found along the coastal strip and on the plateau bordering highlands east of rift Valley.
– Consists of grass of 1m mixed with thorny acacias.
Where rain decreases trees become fewer and shorter and the grassland becomes more open.
There are many large trees along water courses due to abundant moisture (riverine or gallerie forests).
The trees shed leaves during the dry season to reduce the loss of water by transpiration.
(b) Bushland and Thicket
– Covers about 48% of savannah.
– Found between coastal land and Machakos and extends into Kitui, Mwingi, Garissa, Wajir and Mandera districts.
– Consists of a mixture of thorny acacias and shorter thorny shrubs between forming thorn bush with gaps between bushes which are bare or covered by scattered varieties of grasses.
Plants are adapted by:
• Having thin leaves and hard cuticle to reduce transpiration rate.
• Baobab has large trunk to store water for use during long dry period.
• Shedding of leaves to conserve water.
(c) Highland Grassland
– Found on the undulating slopes of grasslands.
– Grasses are such as red oat, wire, Manyatta and Kikuyu grass where forests have been cleared.
-Clover grows along kikuyu grass where rainfall is over 1000mm.
3. Semi-Desert and Desert Vegetation
– Covers about 21% of Kenya.
It’s found on the parts of N.E and N Kenya including Marsabit and Turkana districts.
It receives insufficient rainfall of less than 380mm annually.
It has mainly scrub type of vegetation (covered with underdeveloped trees or shrubs).
A shrub is a plant lower than a tree with a small woody stem branching near the ground.
The shrubs are up to 1m and grasses are up to 3m and in between there is bare ground.
Tree species are acacia and comiphora.
Real deserts hardly have any vegetation.
Adaptations plants (Xerophytes)
• Some have thick leaves to store water.
• Long tap roots to access water from rocks below.
• Needle like leaves to conserve water.
• Shedding of leaves to conserve water (deciduous).
4. Heath and Moorland
– Vegetation found towards the mountain tops.
• At lower altitudes there is groundsel, lobelia and heather.
• Where there is poor drainage there is mountain swamp vegetation referred to as bogs.
• At high altitudes there is tussock grasses, flowering plants and alchemilla shrubs.
This vegetation is adapted to cold windy conditions towards the summit.
5. Swamp Vegetation
– Vegetation found in areas with flat relief in wet areas along river courses and areas experiencing periodic flooding e.g. along the course of R. Tana, Lorian swamp in Isiolo, Wajir and Garissa and the mangrove belt along he coast.
Vegetation found there are marshes, grasses with smooth surfaces and long blades and papyrus which is dominant.
Vegetation Zones of the World
A. Forests
A forest is a continuous growth of trees and undergrowths covering large tracts of land.
1. Tropical Rain Forests
– Known as Selvas in S. America.
It’s found in the following areas:
1. Congo Basin
2. Amazon Basin
3. Western sides of India, Burma and Vietnam.
4. Coastal land of Queensland Australia.
Characteristics
• Closely set trees with three distinct canopies.
• There is less undergrowth on the forest floor due to light being obstructed by canopies.
• Trees take long time to grow.
• Trees have large trunks with buttress roots (radiating wall like roots).
• Trees have broad leaves to increase the surface area for efficient transpiration due to high precipitation.
• There is varied number of plants species over a small portion.
• Trees are tall, have smooth stems and straight trunks.
• Some trees are evergreen shedding a few leaves at a time while others shed leaves and are left bare.
• Some trees are very heavy and don’t float on water.
• Trees take very long time to mature between 70-100years.
Types of trees present are mahogany, ebony, ironwood, rose wood, camphor and Sapele.
Tree creepets and parasites are found around tall main trees.
Uses of tropical rain Forests
(a) Trees are valuable sources of timber for furniture, building and construction.
(b) Oil palms are for production of palm oil.
(c) Cacao crops for production of cocoa beans used to make cocoa used to make chocolates and beverages.
(d) Chicle from the bark of Zabote tree is used to make chewing gum.
(e) Ivory nuts are used for making buttons.
(f) Fibres from torquilla palm are used for making hats, mats, baskets and thatching materials.
(g) Cinchona tree’s bark contains quinine used in malarial treatment.
2. Mangrove Forests
-Found in low lying muddy coasts of tropical seas with shallow salty waters.
Areas
1. Along the east coast of Africa.
2. Near the estuary of Amazon River in S. America.
Characteristics
• Dominated by mangrove trees and 30 other species of trees.
• Mangrove trees have special roots which are partly aerial to aid breathing.
Some grow horizontally and then vertically downwards into mud while some grow horizontally in mud and bend upwards to aid breathing and others have net work of roots resembling stilts.
Uses of mangrove Forests
1. Mangrove trees provide tannin used for tanning leather.
2. Mangrove poles are used for building and construction because they are very strong.
3. Mangrove trees are also used for firewood.
4. Mangrove forests are habitats for marine life used for tourist attraction.
3. Tropical Monsoon Forests
Location
1. S.W and S coast of Mexico
2. parts of India, Bangladesh, Burma, Vietnam and Indonesia
3. Monsoon lands of Australia
Characteristics
• Most trees shed leaves during dry season and grow during hot wet season.
• Smaller number of tree species than tropical rain forests.
• Tall species of trees rising up to 30m.
• Trees don’t grow together.
• Trees have more branches because of light penetrating at lower levels.
• Denser undergrowth than tropical rain forests.
• Particular species of trees dominate an area (pure/definite stands) e.g.
– Leak in Burma
– Sal in India
– Eucalyptus in Queensland Australia
– Bamboo in S.E Asia
• Dominant tree species are leak, bamboo, acacia, camphor, ebony, Sapele and Pyinkaido.
Uses of tropical Monsoon Forests
(a) Teak in Burma and Thailand is used for building houses and boats because it’s hard and resistant to termites.
(b) Bamboo and rattan creeper are used for making furniture, baskets and weaving.
(c) Young tender shoots of bamboo are consumed as vegetables.
4. Mediterranean Forests
Areas
1. S. Europe and N. Africa areas bordering Mediterranean Sea.
2. Around Cape Town on S.W end of Africa.
3. Central coast of California.
4. Around Perth in S.W Australia.
Characteristics
• Forests are open woodlands.
• Many trees are deciduous.
• Some trees are evergreen e.g. oak
• There is woody scrub vegetation in areas which are dry and with poor soils which is called marquis in France, Chaparral in California and Machia in Italy.
• Many plants are sweet smelling (aromatic) e.g. rosemary, lavender, oleander, broom and myrtle.
• Many trees are xerophytes e.g.
– Trees have long tap roots to reach the water deep below during long dry spells.
– Waxy leaves to reduce transpiration
– Storing water in their thick leaves or stems
– Small spiny leaves
• Types of trees are olive, sweet chestnut, beech, cedar, cypress, sequoia, eucalyptus
Uses
(a) Cork oak is used to make corks for bottling wine.
(b) Olive tree fruits are used for cooking and extraction of olive oil.
(c) Timber from sweet chest nut, beech, cedar, cypress and pine is used for building houses and making furniture.
(d) Shrubs and grasses are used as pasture for goats.
5. Temperate Evergreen Forests
– Found in areas experiencing warm temperate eastern margin or China Climate.
Areas
1. Along Natal coast in S. Africa
2. S. china and S. Japan
3. S.E Australia
4. S.E and S. states of U.S.A.
Characteristics
• Evergreen because of abundant rainfall throughout the year.
• Most trees have broad leaves to increase the surface are for efficient transpiration.
• Many evergreen trees are hardwoods.
Uses
(a) Hard woods such as oak and iron wood are used for furniture and building materials.
(b) Soft woods such as cypress and pines are used for furniture.
(c) Wattle trunks are used in the coal mines of natal.
(d) Bamboo is used for making furniture and building in China and Japan.
(e) Walnuts provide nuts used for making chocolate.
(f) Ivory nuts are used for making buttons.
(g) Young shoots of bamboo are eaten as vegetables in china and Japan.
6. Temperate Deciduous Forests
– Found in areas experiencing cool temperate western marginal climate.
Location
1. C. and W. Europe.
2. Most of E. states of U.S.A.
3. Chile in S. America.
Characteristics
• Trees are deciduous and shed leaves in autumn and become green in summer.
• Individual species of trees are scattered and their density per unit area is small.
• Trees are smaller in size.
• Trees are broad leaved.
• Most of the trees are hardwoods
• There is rich undergrowth because of being fairly open.
• Trees grow in pure stands in some regions and at others they are mixed.
• Trees are easier to exploit than tropical hardwoods.
Uses
(a) Hardwoods such as oak and birch are used for timber, wood fuel and charcoal.
(b) Chestnut and walnut nuts are edible.
(c) Oak tree fruits are used for feeding pigs.
(d) Tung tree yields oil for making paint and furnish.
(e) Maple sap is used for making maple syrup.
Trees include eucalyptus (blue gum), olive, birch, walnut, elm and ash.
Coniferous Forests
It’s dominant in cool climates. It’s known as Taiga and Boreal in Russia.
Location
1. W. coast of Canada.
2. Scandinavia across Russia to the Pacific coast.
Characteristics/of soft woods in Canada
• Their seeds are cone shaped.
• Most trees are softwoods and are light in weight.
• Trees mature faster than hardwoods of tropical regions.
• Trees have big proportion of stem compared to leaves.
• Most tree species are evergreen with few shedding leaves e.g. larch and fir.
• Tree species occur in big pure stands.
• Very little undergrowth due to acidic humus from leaf fall.
• Trees have straight trunks.
• Trees mature after a long period of time (50-70 years) due to the cold conditions especially in winter.
Species of trees found here are pines, Fir, spruce, larch and Hemlock.
Adaptations
• Needle-like leaves to reduce transpiration.
• Leaves with tough waxy skin to protect them from winter cold.
• Tree crowns are cone shaped and flexible crowns to allow snow to slide off to prevent it from accumulating on the branches.
• Trees are evergreen to have maximum utilisation of sunlight during the short summers.
• Flexible tree trunks to allow swaying so as to allow swaying so as not to break during strong winter winds.
• Widely spread root system for maximum utilisation of moisture from top soil because sub soil is permanently frozen.
Used
Soft woods such as spruce, fir, pine and larch are used for construction, wood pulp used in paper manufacture.
7. Mixed Forests
-Found at the zone of transition between temperate deciduous and coniferous forests.
Location
1. Saskatchewan and Alberta provinces of Canada
2. Scottish regions in Europe
3. low lying Mediterranean regions
Characteristics
A mixture of broadleaved deciduous and coniferous trees.
Uses
Cedar and hazel are used for fencing posts.
Grazing activities are carried out where forests are open.
Softwoods such as spruce, fir and pine are used to make wood pulp used for paper manufacture.
Hardwoods such as oak and birch are valuable sources of timber, wood fuel and charcoal.
Maple tree syrup is used for making maple syrup.
B. Grasslands
-Found in climatic regions where a seasonal pattern occurs with a prolonged drought of about 5-7 months.
Tropical Grasslands/ Savanna
– Found in areas experiencing tropical continental climate.
Areas
1. N and S of Congo Basin.
2. Between Sahel and equatorial forests in E. Africa plateau.
3. N.E of Australian Desert.
4. Brazilian highlands
It’s divided into:
(a) Open grasslands where grass is dominant and
(b) Woodlands in areas which receive more rainfall.
Characteristics
• Grasslands with widely spaced trees such as acacias.
• Grasses die in dry season and sprout quickly when it rains.
• Grasses are tall (up to 3m with stiff blades and elephant grass is tallest reaching up to 4m.
• Trees are of medium size up to 13m
• Tree crowns are umbrella shaped to provide shade around roots to reduce evaporation.
• Most trees are deciduous and shed leaves during dry season.
• Trees have small leaves and thick barks to reduce transpiration.
• Trees have long tap roots to reach the water deep below during long dry spells.
Uses
(a) Grass is for grazing and commercial ranching though it’s of low nutritional value due to lack of phosphorous.
(b) Cereals e.g. wheat farming because the soil is rich in humus resulting from the grass cover.
(c) Vegetation acts as soil cover to reduce soil erosion.
(d) Homes of wild animals which attract tourists e.g. E. and C. African savannas.
(e) Trees are habitats for bees which provide honey.
(f) Some shrubs and herbs are used for medicine.
(g) Trees such as acacia provide fuel wood and charcoal.
Temperate Grasslands
– Found in continental interiors of temperate grasslands where rainfall isn’t sufficient to sustain forests.
Location
The Prairies
Areas
– Canadian provinces of Alberta, Saskatchewan, Manitoba and neighbouring states of U.S.A.
Characteristics
Continuous tuft grass
Grasses are nutritious.
Grass is short
Grass is interspersed with bulbons and leguminous plants.
Grass is mixed in some areas with species such as stipa, buffalo and gamma grasses.
Tall grasses in areas with rainfall of over 500mm.
The Steppes
– Found in Eurasia- temperate interiors of Europe and Asia.
Characteristics
True Steppes-rich carpet of grass and some flowering plants.
Desert steppes-Coarse grass growing in tufts
-Grass doesn’t form a continuous cove on the ground.
-Short grass which grows very close to the ground.
The Pampas
– Found in Argentina.
Characteristics
Feather – like grass
Grass forms individual tussocks with patches of bare soil.
Forests are present in some areas due to increased moisture.
Xerophytic or drought resistant plants are present in some areas.
The Veldt
– Found in S. Africa.
Characteristics
• Grasses are extensively spread.
• There is little or no mixture of trees or shrubs.
• There is a uniform cover of grass on high plateaus.
The Downs
– Found in Australia and New Zealand.
Characteristics
• Tall grass mixed with trees.
• Semi desert areas have patches of dominant grass.
• Mixture of temperate and tropical grass species.
• Grass is nutritious and nutritious for livestock.
• Natural grasses of Argentina have been replaced by Alfalfa and in New Zealand British meadow grasses now dominate.
Uses of Temperate Grasslands
(a) For grain cultivation e.g. wheat which requires as low as 325mm of rainfall.
(b) For cultivation of other crops e.g. oil seeds, Soya beans, vegetables and millet and sorghum widely grown in the Veldt.
(c) For livestock farming e.g. cattle, sheep, goats and horses.
There are scientifically managed ranches called Estancias in Argentina.
Desert Vegetation
Tropical Desert Vegetation
– Found in tropical deserts.
Characteristics
• Vegetation is present except in bare rock and sand covered areas.
• There are more plants on oasis e.g. date palms and a variety of shrubs.
• Some plants are succulent to have high water storage capacity.
• Some have spines to protect them from animals.
• Some have thorn-like leaves to reduce rate of transpiration.
• Some have long roots to enable them to tap water from deeper parts of rocks.
• Some shed leaves during dry season and grow new leaves during wet periods to reduce water loss.
• Some are salt tolerant (halophytic) by having many water storing cells to counter soil salinity or alkalinity.
Temperate and Arctic Desert Vegetation
– Found in warm temperate deserts and arctic climates.
Characteristics
• Grasses and woody plants.
• Woody plants which are Xerophytic and halophytic.
• Shrubs have shallow roots due to permafrost.
• Plants flower and produce fruits within short wet season.
• There is scarce vegetation in Tundra.
• Plants present in arctic deserts are such as lichens, mosses and flowering plants such as anemones and marsh marigold.
Uses of Desert Vegetation
(a) Bilberries in temperate deserts bear edible fruits.
(b) Small trees are source of fuel foe Eskimos who live in arctic region.
(c) Vegetation in tropical deserts is important in arresting sand dunes to prevent them from burying oasis and settlements.
(d) In tropical deserts fringes vegetation is valuable food for animals.
(e) Date palm is cultivated for its fruit.
Mountain Vegetation
– Vegetation found towards the top of the mountain.
Uses of Mountain Vegetation
(a) Grasslands are used for grazing.
(b) Alpine meadows in temperate regions provide summer grazing pastures.
(c) Mountain forests provide timber, building materials, fuel wood and charcoal.
(d) Mountain forests are habitats for wild animals e.g. elephants.
(e) Mountain vegetation makes mountains to be water catchment areas.
(f) Mountain forests help to purify air by absorbing carbon dioxide and providing oxygen.
(g) Mountain vegetation is used for research.

Significance of Vegetation
(a) Forests add beauty to country’s landscape.
(b) Vegetation protects soil from erosion by wind and rainwater.
(c) Vegetation partly decays forming humus making the soil fertile.
(d) Some plants roots, barks and leaves are used for medicine.
(e) Forests modify the climate of the surrounding area by increasing rainfall and reducing temperatures.
(f) Some plants such as bamboo shoots and wild fruits are consumed as food.
(g) Some fibrous plants such as sisal and jute are used for making ropes, sacks, mats, etc.
(h) Latex from rubber tree is used for manufacture of rubber used in tire manufacture.
Forestry
Forestry is the science of developing and managing forests including cultivating them.
Type of Forests
1. Natural forests-which grow by natural means of seed dispersal.
2. Semi-natural/derived/cultivated forests-which is in the process of recovering from interference by man.
3. Planted/cultivated forests-which have been planted by man.
4. Indigenous forests-which are native to a region or which have grown in a region from the beginning.
5. Exotic forests-which have trees which have been introduced to a place from other countries.
6. Other types have been discussed in the chapter of vegetation.
Factors Influencing Types and Distribution of Forests
Temperature
• High temperature causes fast growth of trees while low temperature causes slow growth.
• Rain forests are found at low altitudes which are warmer while coniferous forests are found at high altitudes which are cooler.
Aspect
• Dense forests are found on windward slopes of mountains because they are wetter than leeward slopes and they start at a lower level than on the leeward slopes.
• In temperate region slopes facing equator have dense forests because they are warmer while those facing the poles have coniferous forests which are adapted to low temperatures.
Precipitation
• There are dense forest where there is heavy precipitation while there is less forest cover consisting of stunted trees in areas with little precipitation.
• Coniferous forest have cone-shaped crowns to allow snow to slide off so as not to accumulate on the branches and cause them to break off.
Soil
• Deep soils support huge tropical trees while shallow soils support coniferous trees which have shallow and wide spread root system to be able to maximally utilise water on the top soil since the sub soil is permanently frozen.
• Poor or infertile soils have stunted trees.
Human Activities
• Deforestation and shifting cultivation- man has cleared forests to create room for agriculture settlement etc. which has reduced forest cover on the earth’s surface.
• Afforestation and Agroforestry-man has planted trees in areas where they never existed establishing forests there.
• Reafforestation-man has replanted forests which he has cleared with indigenous and exotic trees causing natural forests to become semi-natural/secondary or derived forests.
Importance of Forests to Kenya
1. Forests are water catchment areas which supports agriculture and H.E.P. generation.
2. Forests provide us with wood fuel e.g. firewood, charcoal and saw dust.
3. Forests prevent soil erosion by their roots binding the soil together, reducing run off thereby reducing incidents of flooding and dam siltation.
4. Forests are habitats of wild animals which are a tourist attraction which brings foreign exchange used to import goods and services and fund development projects.
5. Forests are a disposal system for carbon dioxide which they use in photosynthesis and release oxygen thereby purifying air and reducing global warming.
6. Forests increase soil fertility when leaves fall and rot forming humus.
7. Forests regulate the climate of an area by creating a micro climate causing heavy and frequent rain by evapotranspiration and lowering temperatures.
8. Forests are a source of timber for construction and furniture making.
9. Forests beautify the environment by flora (plants) and fauna (animals).
10. Some forest’s trees are a source of medicine.
11. Presence of forests has led to the development of infrastructure as roads have been constructed to make forests accessible.
12. Forests provide employment to people e.g. forest guards, forest officers, lumberjacks, carpenters and timber merchants.
Importance of Forest Products
1. Forests are a source of food e.g. fruits, honey, mushrooms and bamboo tender leaves which are used for vegetables.
2. Forests provide wood used for manufacture of paper, soft boards, ply wood etc.
3. Animals in forests are hunted for food, skins and horns.
4. Leaves of trees and forest undergrowth are used as livestock fodder.
5. Forests provide wood which is used in cottage industries for making carvings and wooden utensils which are sold locally and exported.
6. Forest flora and fauna are a rich reservoir for research.
Problems Facing Forestry in Kenya
1. Encroachment by people by clearing them to create room for agriculture and settlement, grazing etc. which puts some plants and animal species in danger of extinction.
2. Destruction especially of young trees by herbivorous wild animals such as elephants due to rapid increase in the population.
3. Destruction of huge tracts of forests by fires caused by poachers, honey harvesters etc. especially during the dry season.
4. Pests and diseases outbreak which can result in destruction of large tracts of land with valuable tree species e.g. there was an outbreak of aphids in 1980s which destroyed cypress.
5. Overexploitation whereby the trees are harvested at a higher rate than which they are being replaced naturally and also harvesting of immature trees.
6. Excision of forests e.g. by converting some parts of forests into private land, government land like Nyayo Tea Zones and public utilities like Agricultural Show Grounds which has resulted into reduction of the area under forests.
7. Poor management of forests e.g. clear cutting which may lead to harvesting of immature trees in future, government officials carrying out illegal logging and government in the past having not been strict in forest conservation of forests which led to destruction of large areas of forests.
Management and Conservation of Forests
Conservation of forests is protection of forests against interference and destruction by man while forest conservation is effective planning and control of forests and forest resources.
Conservation Measures
1. Creation of forest reserves to protect indigenous forests from extinction e.g. Mt. Kenya forest, Shimba Hills and Arabuko Sokoke.
2. Setting of forest guard posts in the forests to protect forests against illegal logging (tree felling).
3. Setting Nyayo Tea Zones to act as protective belts to prevent people from trespassing into the forests. They are also a source of employment and foreign exchange.
4. Afforestation and reafforestation.
5. Agroforestry (intercropping of various crops with trees) which:
• Supplies wood resources
• Provides animal fodder
• Provide food e.g. fruits e.g. mangoes and avocadoes for good health and nutrition
• Acts as wind breakers and
• Shade for crops.
Management Measures
1. Research to determine which tree species are suitable for which area and how to combat pests and diseases outbreak.
2. Carrying out public campaigns through mass media on the importance of forests.
3. Use of alternative sources of energy e.g. sun, wind, biogas and water to reduce the rate of tree felling.
4. Use of energy saving stoves to reduce the rate of over exploitation of wood fuel.
5. Improvement on cutting practices by selective falling of trees and replanting more trees than those cut.
6. Control of pests and diseases which affect trees.
Importance of Forest Management and Conservation
1. Are a source of utility products e.g. firewood for fuel and food from fruits and nuts.
2. For ecological reasons in that they help in the following ways:
• To preserve flora and fauna
• It’s a water catchment area
• Moderating the flow of water reducing soil erosion and floods which also prevents siltation of dams.
3. For posterity i.e. so that the future generation will have forest resources available for their use.
4. Industrial reasons because forest products are used as raw materials in the industries such as furniture, paper making, etc.
5. Forests are important for scientific research such as on herbal medicine and genetic mapping of the species of plants and animals which haven’t been identified.
Softwood Forests in Kenya and Canada
Factors Favouring the Development of Softwood Forests
Kenya
1. Cool climate of Kenya highlands which enables coniferous forests to thrive e.g. Mt. Kenya and Aberdares.
2. Heavy rainfall received in Kenya highlands and low evaporation rates which supports forest growth.
3. Ruggedness and steepness of some parts of Kenya highlands making them unsuitable for settlement thereby leaving forests to thrive.
4. High demand for timber and wood products locally and outside the country which encourages tree farming.
Canada
1. Cool and cold climate which favours growth of coniferous forests.
2. Very low average temperatures in the interior which favours the growth of coniferous forests.
3. Ruggedness and steepness such as of British Columbia which discourages agriculture and settlement leaving forests to thrive.
4. Very low population density leaving a lot of land available for forests.
5. Heavy rainfall on the windward slopes of mountain ranges of British Columbia and low evaporation in the east giving sufficient moisture to sustain forests.
Mode of Exploitation
Kenya
• Workers are transported daily to logging sites in Kenya while in Canada settlement is set for workers within forests.
• Power saws are used in both countries to fell trees but axes are used to a limited extent in Kenya.
• In Kenya transportation of logs is by tractors and lorries while in Canada rivers are widely used to transport logs by floating.
• In both countries logging is systematic and it is done in blocks.
Factors Favouring Exploitation of Softwoods
Kenya
1. Doesn’t experience winter so logging can go on throughout the year.
2. Soft wood forests in Kenya are easier to exploit because trees are planted in rows unlike in Kenya where they are natural and trees grow haphazardly.
3. In Kenya forests are accessible throughout the year unlike in Canada where forests in the north are inaccessible during severe winter and ruggedness.
4. In Kenya logging can go on throughout the year because there is no winter.
5. Availability of water from R. Nzoia for pulp and paper manufacture at Webuye.
6. Ready market due to high demand for wood products locally and outside in COMESA.
Canada
1. Mild winters in British Columbia which makes it possible to transport logs throughout the year.
2. Availability of water from many rivers providing plenty of water for paper and pulp manufacture.
3. Cheap H.E.P. for factories from many rivers in Canada.
4. Cheap and efficient land and water transport system easing transport of logs to factories and to markets.
5. Coastal location of major producing areas making exportation of timber to U.S.A. and Japan easy.
6. High demand for forest products in the neighbouring U.S.A. and locally due to high purchasing power.
7. Existence of natural coniferous forests in pure stands (one tree species covering a large area) making exploitation easy.
8. Absence of undergrowth which makes exploitation easy (due to dead leaves resulting in acidic humus.
Planted soft Woods in Kenya
• Planted in clear rows.
• Clear cutting
• Mature at the same time.
Products
In Kenya and Canada products are poles sawn timber, pulp, paper, block board, ply wood, clip board etc.
Economic Significance of Softwood Forests in both Countries
1. Provides employment to people e.g. lumberjacks, tree farmers and in timber related industries.
2. Has led to development of timber/wood related industries e.g. furniture, paper manufacture etc.
3. A foreign exchange earner when in Canada timber is exported to U.S.A. and when products in Kenya are exported to COMESA.
4. Saving some foreign exchange when the country produce wood products to cater for their needs on which they’d otherwise spend foreign exchange.
5. Infrastructural development when roads are constructed to ease transportation of logs to industries and products to markets.
6. Provide income to tree farmers.
Problems in Kenya and Canada
1. Forest fires which destroy large tracts of land where in Canada the greatest number of fires are caused by lighting while in Kenya they are caused by illegal loggers, poachers, etc.
2. Pests and diseases e.g. aphids which destroyed cypress in 1980s.
3. Overexploitation leading to soil erosion as trees takes long time to mature and provide sufficient cover to the soil after planting.
4. Canada’s trees take long time to mature (50-60 years due to severe winters which slow their growth. In Kenya they take 12-35 years.
5. In Canada there is problem of inaccessibility of forests in the northern part in winter and due to rugged terrain while in Kenya they are planted and easily accessible.
Comparison of softwood forests in Kenya and Canada
Similarities
• Soft wood forests in both countries experience the problems of pests and diseases, fires, soil erosion and overexploitation.
• Softwood forest products are similar e.g. sawn timber, wood pulp, paper, poles, etc.
• Softwood forests in both countries grow in places with heavy rainfall, cool temperatures, heavy rainfall and rugged terrain.
• Forest products earn foreign exchange in both countries.
• Tree species are similar e.g. there is pine in both countries.
Differences
• Species of trees differ e.g. in Kenya there is Kenya cedar and podo while in Canada there is Douglas fir and white pine.
• Canada’s soft woods are mainly natural while Kenya’s are mostly planted.
• Kenya’s softwood forests are found in highlands while Canada’s are found in lowlands due to cool temperatures.
• Canada’s softwood forests cover large tracts of land than Kenya’s.
• In Kenya softwood forests are propagated by afforestation while in Canada it’s by leaving some trees uncut so that they produce seeds to be dispersed naturally.
• Canada’s softwood forests take longer to mature than Kenya’s due to severe winter temperatures.
• Kenya’s softwood forests are planted in rows and easily exploitable unlike Canada’s which grow naturally and haphazardly.
KCSE Revision Notes Form 1 – Form 4 All Subjects
KCSE Results » KCSE Results Top 100 Schools – Kenya Certificate of Secondary Education – KCSE » KCSE Top 100 Candidates » Kenya Certificate of Secondary Education – KCSE » KNEC – Kenya National Examinations Council » Secondary Schools in Kenya » KNEC – Kenya National Examinations Council » Free KNEC KCSE Past Papers
Kenya Scholarships for Undergraduate Students » Kenya Scholarships for Postgraduate Students » Undergraduate Scholarships for Kenyan Students » Kenya Undergraduate Scholarships » Full Undergraduate Scholarships for Kenyans » Kenya Postgraduate Scholarships » Scholarships & Grants » Undergraduate Scholarships » Universities in Kenya » Kenya Universities and Colleges Central Placement Service (KUCCPS) » Colleges in Kenya » KASNEB Registration & Results » Secondary Schools Scholarships in Kenya » Undergraduate & Graduate Scholarships for Kenyans
Free KCSE Past Papers » KNEC Past Exams » Free Downloads » KCSE Papers & Marking Schemes
“Pdf” Revision Questions Geography Form 2
“Pdf” Revision Questions Geography Form 3
“Pdf” Revision Questions Geography Form 4
“Pdf” Revision Questions Geography Form Four
“Pdf” Revision Questions Geography Form One
“Pdf” Revision Questions Geography Form Three
“Pdf” Revision Questions Geography Form Two
1 a a KCSE Past Papers
10th Grade Geography Questions and Answers
10th Grade Geography Test
11th Ncert Geography
12th Class Geography Book Free Download
2014 KCSE Marking Schemes
2014 Pdf KCSE Past Papers 2015
2015 Geography Essay Questions and Answers Form 4
2016 KCSE Papers
2016 KCSE Prediction Questions
2017 Geography Hsc Answers
2017 KCSE Prediction Questions
2018 Geography KCSE Leakage
2018 Geography KCSE Questions
2018 KCSE Busineness Studies
2018 KCSE Exam
2018 KCSE Leakage
2018 KCSE Prediction Questions
2018 KCSE Questions
2019 Geography KCSE Leakage
2019 Geography KCSE Questions
2019 KCSE Leakage
2019 KCSE Questions
9th Grade Geography Study Guide
A a a Geography Notes
a a a Geography Notes!
a a a GeographyNotes!
A a KCSE Past Papers
A Biblical View of Social Justice
A Level Geography Biological Molecules Questions
A Level Geography Exam Questions by Topic
A Level Geography Notes Edexcel
A Level Geography Notes Xtremepapers
A Level Geography Past Papers
A Level Geography Questions and Answers
a Level Geography Questions and Answers
A Level Geography Questions and Answers (Pdf)
A Level Geography Questions and Answers Pdf
A Level Geography Questions by Topic Kidney Questions With Markschemes
A Level Geography Revision
A Level Geography Revision Edexcel
A Level Geography Revision Guide
A Level Geography Revision Notes
A Level Geography Revision Notes Pdf
A Level Geography Textbook Pdf
A Level Geography Year 1 / as Aqa Exam Questions by Topic
A Level Edexcel Notes a* Geography
aa Geography Form 3 Questions and Answers
Advance KCSE Past Papers
Advance-africa.com KCSE Rev Quiz
Advantages and Disadvantages.
All Geography Essays
All Geography Notes for Senior Two
All KCSE Past Papers Geography With Making Schemes
All Marking Schemes Questions and Answers
All Past K.c.s.e Questions With Answers
Alliance Mocks 2017
Ap Bio Quizzes
Ap Geography 1 Textbook Pdf
Ap Geography Essay Questions and Answers
Are Sourced From KNEC.
As Level Geography Notes
Atika Geography Notes
Atika School Geography Notes
B/s Book 2 Notes
Basic Geography Books Pdf
basic Geography Interview Questions and Answers Pdf
Basic Geography Interview Questions and Answers Pdf
Basic Geography Pdf
Basic Geography Questions and Answers
Basic Geography Questions and Answers Pdf
Bbc Bitesize Geography Ks3
Bihar Board Geography Objective Answer 2017
Bihar Board Geography Objective Answer 2018
Bio Answers
Bio Quesions
Geography 0478
Geography 101
Geography 12th
Geography 12th Class Notes Pdf
Geography 2019 Syllabus
Geography All KCSE Short Notes
Geography Answers
Geography Answers Online Free
Geography Answers Quizlet
Geography Bk 2 Notes
Geography Book 1
Geography Book 1 Notes
Geography Book 2
Geography Book 2 Notes
Geography Book 3
Geography Book 3 KLB
Geography Book 3 Notes
Geography Book 4
Geography Book 4 Notes
Geography Book 4 Pdf
Geography Book for Class 11
Geography Book Four
Geography Book Four Notes
Geography Book One
Geography Book One Notes
Geography Book Pdf Free Download
Geography Book Three
Geography Book Three Notes
Geography Book Three Pdf
Geography Book Two
Geography Book Two Notes
Geography Books Form Three
Geography Bowl Geography Study Guide
Geography Bowl Questions Geography
Geography Bowl Questions Earth Geography
Geography Bowl Questions Math
Geography Bowl Questions Middle School
Geography Brekthrough Form Two Notes
Geography Class 12 Ncert Solutions
Geography Class 12 Pdf
Geography Communication Syllabus
Geography Diagram Software
Geography Diagrams for Class 11
Geography Diagrams for Class 12
Geography Diagrams for Class 9
Geography Diagrams for Class-10
Geography Diagrams in Form 1
Geography Diagrams in Form 2
Geography Diagrams in Form 3
Geography Diagrams in Form 4
Geography Diagrams Pdf
Geography Diagrams to Label
Geography Essay Questions and Answers
Geography Essay Questions and Answers 2018
Geography Essay Questions and Answers Form 1
Geography Essay Questions and Answers Form 2
Geography Essay Questions and Answers Form 3
Geography Essay Questions and Answers Form 4
Geography Essay Questions and Answers Form 4 Pdf
Geography Essay Questions and Answers Pdf
Geography Essay Revision Q
Geography Essays and Answers
Geography Essays Form One to Form Four
Geography Essays Form One to Form Three
Geography Essays KCSE
Geography Essays Pdf
Geography Exam 1 Multiple Choice
Geography Exam 2 Advance
Geography Exam 2 Test
Geography Exam 2016
Geography Exam Form Four
Geography Exam Form One
Geography Exam Form Three
Geography Exam Form Two
Geography Exam Practice Test
Geography Exam Questions
Geography Exam Questions and Answers
Geography Exam Questions and Answers Pdf
Geography Exam Study Guide
Geography Exams
Geography Excretion Notes
Geography Exercise Form 4 With Answers
Geography Final Exam Answer Key
Geography Final Exam Answer Key 2016
Geography Final Exam Answer Key 2017
Geography Final Exam Answers 2018
Geography Final Exam Answers 2019
Geography Final Exam Questions and Answers
Geography Fom 1 Notes
Geography Fom 2 Notes
Geography Fom 3 Notes
Geography Fom 4 Notes
Geography Form 1
Geography Form 1 & 2 and Answers
Geography Form 1 and 2 Essays
Geography Form 1 and 2 Essays Questions and Answers
Geography Form 1 Chapter 1
Geography Form 1 Diagrams
Geography Form 1 Exams
Geography Form 1 Mid Year Exam
Geography Form 1 Notes
Geography Form 1 Notes and Questions
Geography Form 1 Notes Download
Geography Form 1 Notes Free Download
Geography Form 1 Notes GCSE
Geography Form 1 Notes KCSE-kcse
Geography Form 1 Notes Pdf
Geography Form 1 Notes Pdf Download
Geography Form 1 Past Papers
Geography Form 1 Pdf
Geography Form 1 Pressure
Geography Form 1 Question Papers
Geography Form 1 Questions
Geography Form 1 Questions and Answers
Geography Form 1 Questions and Answers Pdf
Geography Form 1 Quiz
Geography Form 1 Revision Questions
Geography Form 1 Summary Notes
Geography Form 1 Syllabus
Geography Form 1 Work
Geography Form 1-4 Notes
Geography Form 2
Geography Form 2 Chapter 1
Geography Form 2 Chapter 2
Geography Form 2 Diagrams
Geography Form 2 Exam Paper 2014
Geography Form 2 Exams
Geography Form 2 Notes
Geography Form 2 Notes and Questions
Geography Form 2 Notes GCSE
Geography Form 2 Notes KCSE-kcse
Geography Form 2 Notes Pdf
Geography Form 2 Notes Pdf Download
Geography Form 2 Past Papers
Geography Form 2 Pdf
Geography Form 2 Question Papers
Geography Form 2 Questions
Geography Form 2 Questions and Answers
Geography Form 2 Questions and Answers Pdf
Geography Form 2 Quiz
Geography Form 2 Revision Notes
Geography Form 2 Salts
Geography Form 2 Structure and Bonding
Geography Form 2 Summary Notes
Geography Form 2 Syllabus
Geography Form 2 Work
Geography Form 3
Geography Form 3 and 4 Essays
Geography Form 3 and 4 Essays Questions and Answers
Geography Form 3 Chapter 3
Geography Form 3 Classification
Geography Form 3 Diagrams
Geography Form 3 Ecology
Geography Form 3 Exams
Geography Form 3 Notes
Geography Form 3 Notes and Questions
Geography Form 3 Notes GCSE
Geography Form 3 Notes KCSE-kcse
Geography Form 3 Notes Pdf
Geography Form 3 Notes Pdf Download
Geography Form 3 Notes Topic 1
Geography Form 3 Past Papers
Geography Form 3 Pdf
Geography Form 3 Question Papers
Geography Form 3 Questions
Geography Form 3 Questions and Answers
Geography Form 3 Questions and Answers Pdf
Geography Form 3 Questions and Answers Term 3
Geography Form 3 Questions and Answers+pdf
Geography Form 3 Quiz
Geography Form 3 Revision Notes
Geography Form 3 Revision Questions
Geography Form 3 Summary Notes
Geography Form 3 Syllabus
Geography Form 3 Syllabus Pdf
Geography Form 3 Topics
Geography Form 3 Work
Geography Form 4
Geography Form 4 All Chapter
Geography Form 4 Chapter 1 Conversion of Units
Geography Form 4 Chapter 1 Exercise
Geography Form 4 Chapter 1 Exercise and Answers
Geography Form 4 Chapter 1 Exercise Pdf
Geography Form 4 Chapter 1 Mind Map
Geography Form 4 Chapter 2
Geography Form 4 Chapter 2 Exercise and Answers
Geography Form 4 Chapter 2 Exercise Pdf
Geography Form 4 Chapter 2 Experiment
Geography Form 4 Chapter 2 Formula
Geography Form 4 Chapter 2 Mind Map
Geography Form 4 Chapter 2 Momentum
Geography Form 4 Chapter 2 Notes Pdf
Geography Form 4 Chapter 2 Objective Questions and Answers
Geography Form 4 Chapter 2 Paper 2
Geography Form 4 Chapter 2 Slideshare
Geography Form 4 Chapter 3
Geography Form 4 Chapter 3 Questions and Answers
Geography Form 4 Chapter 4
Geography Form 4 Chapter 4 Notes Pdf
Geography Form 4 Chapter 5 Light Questions and Answers
Geography Form 4 Chapter 5 Notes Pdf
Geography Form 4 Diagrams
Geography Form 4 Exam Paper 1
Geography Form 4 Exams
Geography Form 4 Exercise
Geography Form 4 Exercise Pdf
Geography Form 4 Module With Answer
Geography Form 4 Note
Geography Form 4 Notes
Geography Form 4 Notes (Pdf)
Geography Form 4 Notes All Chapter Pdf
Geography Form 4 Notes and Questions
Geography Form 4 Notes Chapter 1
Geography Form 4 Notes Chapter 2
Geography Form 4 Notes Chapter 3
Geography Form 4 Notes Download
Geography Form 4 Notes Free Download
Geography Form 4 Notes GCSE
Geography Form 4 Notes KCSE-kcse
Geography Form 4 Notes Pdf
Geography Form 4 Notes Pdf Download
Geography Form 4 Paper 2 Questions and Answers
Geography Form 4 Past Papers
Geography Form 4 Question Papers
Geography Form 4 Questions
Geography Form 4 Questions and Answers
Geography Form 4 Questions and Answers Pdf
Geography Form 4 Quiz
Geography Form 4 Revision Notes
Geography Form 4 Schemes of Work
Geography Form 4 Summary Notes
Geography Form 4 Syllabus
Geography Form 4 Textbook Pdf
Geography Form 4 Work
Geography Form 5 Chapter 1 Exercise and Answers
Geography Form 5 Chapter 1 Notes Pdf
Geography Form 5 Chapter 2 Notes Pdf
Geography Form 5 Chapter 2 Slideshare
Geography Form 5 Chapter 3 Notes Pdf
Geography Form 5 Notes Pdf
Geography Form Four Book
Geography Form Four Notes
Geography Form Four Notes and Questions
Geography Form Four Notes GCSE
Geography Form Four Notes Pdf
Geography Form Four Past Papers
Geography Form Four Questions
Geography Form Four Questions and Answers
Geography Form Four Questions and Answers Pdf
Geography Form Four Quiz
Geography Form Four Study Notes
Geography Form Four Syllabus
Geography Form Four Topic 2
Geography Form Four Topic 4
Geography Form Four Topics
Geography Form Four Work
Geography Form One
Geography Form One Book
Geography Form One Book Pdf
Geography Form One Download Topic 1 Upto 3
Geography Form One Exam
Geography Form One Notes
Geography Form One Notes and Questions
Geography Form One Notes GCSE
Geography Form One Notes Pdf
Geography Form One Pdf
Geography Form One Questions
Geography Form One Questions and Answers
Geography Form One Questions and Answers Pdf
Geography Form One Questions and Their Answers
Geography Form One Quiz
Geography Form One Revision Question
Geography Form One Schemes of Work
Geography Form One Study Notes
Geography Form One Syllabus
Geography Form One Term Three Test
Geography Form One to Three Notes
Geography Form One Work
Geography Form Three
Geography Form Three Book
Geography Form Three Notes
Geography Form Three Notes and Questions
Geography Form Three Notes GCSE
Geography Form Three Questions and Answers
Geography Form Three Questions and Answers Pdf
Geography Form Three Quiz
Geography Form Three Reproduction
Geography Form Three Reproduction.
Geography Form Three Study Notes
Geography Form Three Work
Geography Form Three-questions and Answers
Geography Form Two
Geography Form Two Book
Geography Form Two Diagrams
Geography Form Two Notes
Geography Form Two Notes and Questions
Geography Form Two Notes GCSE
Geography Form Two Notes Pdf
Geography Form Two Notes-pdf
Geography Form Two Pdf
Geography Form Two Questions
Geography Form Two Questions and Answers
Geography Form Two Questions and Answers Pdf
Geography Form Two Quiz
Geography Form Two Study Notes
Geography Form Two Topics
Geography Form Two Work
Geography Form Two,schemes of Work
Geography Form2
Geography Form2 Textbook
Geography Game Form Four Question End Answers
Geography Grade 10 Exam Papers
Geography Hsc Pdf
Geography Human Reproduction Video
Geography IGCSE Past Papers Xtremepapers
Geography K.c.s.e 2017
Geography KCSE
Geography KCSE 2016
Geography KCSE 2017
Geography KCSE 2017 Paper 1
Geography KCSE Past Papers
Geography KCSE Questions
Geography KCSE Questions and Answer
Geography KCSE Quizzes & Answers
Geography KCSE Revision
Geography KCSE Revision Notes
Geography KCSE Setting Questions Form One and Two
Geography Ksce 2015
Geography Last Year K.c.s.e Questions
Geography Lesson Plan Form Two
Geography Made Familiar
Geography Mcq for Class 11
Geography Mcq for Class 12
Geography Mcq for Competitive Exams
Geography Mcq for Competitive Exams Pdf
Geography Mcq for Neet Pdf
Geography Mcq for Ssc
Geography Mcq Questions With Answers
Geography Mcq With Answers Pdf
Geography Mcqs for Class 12 Pdf
Geography Mcqs With Answers Pdf
Geography Mid Familia Form One
Geography Mock Papers
Geography Module Form 5
Geography Multiple Choice Questions and Answers Cxc
Geography Multiple Choice Questions and Answers Pdf
Geography Multiple Choice Questions With Answers Pdf
Geography Note
Geography Note Form Two All Chapters
Geography Notes
Geography Notes and Guestion and Answear
Geography Notes and Syllabus
Geography Notes Class 10
Geography Notes for Class 11 Pdf
Geography Notes for Class 12 Pdf
Geography Notes for High School Students
Geography Notes for IGCSE 2014
Geography Notes Form 1
Geography Notes Form 1 4
Geography Notes Form 1 Free Download
Geography Notes Form 1 KLB
Geography Notes Form 1 Pdf
Geography Notes Form 1-4
Geography Notes Form 1-4(1) Geography
Geography Notes Form 14
Geography Notes Form 2
Geography Notes Form 2 KLB
Geography Notes Form 2 Pdf
Geography Notes Form 2; Geography Notes
Geography Notes Form 3
Geography Notes Form 3 KLB
Geography Notes Form 3 Pdf
Geography Notes Form 4
Geography Notes Form 4 Chapter 2
Geography Notes Form 4 KLB
Geography Notes Form 4 Pdf
Geography Notes Form 4-pdf
Geography Notes Form Four
Geography Notes Form Four KLB
Geography Notes Form Four Pdf
Geography Notes Form One
Geography Notes Form One KLB
Geography Notes Form One Pdf
Geography Notes Form One to Form Four
Geography Notes Form Three
Geography Notes Form Three KLB
Geography Notes Form Three Pdf
Geography Notes Form Two
Geography Notes Form Two KLB
Geography Notes Form Two Pdf
Geography Notes Form2
Geography Notes IGCSE
Geography Notes Kenya
Geography Notes on Agroforestry
Geography Notes Pdf
Geography Notes:
Geography Objective Answer
Geography Objective Answer 2018
Geography Objective Questions for Competitive Exams
Geography Objective Questions for Competitive Exams Pdf
Geography Oral Exam Questions
Geography Paper 1
Geography Paper 1 2018 Marking Rules
Geography Paper 1 Notes
Geography Paper 1 Questions
Geography Paper 1 Questions and Answers
Geography Paper 1 Topics
Geography Paper 1 With Answers
Geography Paper 2
Geography Paper 2 2017
Geography Paper 2 2018 Marking Rules
Geography Paper 2 Questions and Answers
Geography Paper 2 Questions and Answers Pdf
Geography Paper 2 Revision
Geography Paper 2 Topics
Geography Paper 2018
Geography Paper 3 2018 Marking Rules
Geography Paper 3 Question and Answer
Geography Paper 3 Question Paper 2014 KCSE
Geography Paper 3 Question Paper 2015 KCSE
Geography Paper 3 Question Paper 2016 KCSE
Geography Paper 3 Question Paper 2017 KCSE
Geography Paper 3 Question Paper 2018 KCSE
Geography Paper 3 Questions and Answers
Geography Paper One Questions and Answers
Geography Paper One Topics
Geography Paper Two Qestions With Answers
Geography Paper1
Geography Paper2
Geography Paper3
Geography Paper4
Geography Past Papers
Geography Past Papers 2017
Geography Past Papers a Level
Geography Past Papers Form 1
Geography Past Papers Form 2
Geography Past Papers Form 3
Geography Past Papers O Level
Geography Pdf Download
Geography Pp1 KCSE 2016
Geography Practical Book Class 12 Pdf
Geography Practical Exam
Geography Practicals Form One
Geography Practicals Questions and Answers
Geography Practice Test 9th Grade
Geography Practice Test Answers
Geography Practice Test Questions and Answers
Geography Practice Test Quizlet
Geography Predicted Questions This Year KCSE
Geography Preparation Notes
Geography Pretest High School Pdf
Geography Question and Answer With Explanation
Geography Question and Answers 2019
Geography Question and Answers 2020
Geography Question and Answers 2021
Geography Question and Answers 2022
Geography Question and Answers Note
Geography Questions
Geography Questions and Answers
Geography Questions and Answers for High School
Geography Questions and Answers for High Schools
Geography Questions and Answers for High Schools Pdf
Geography Questions and Answers for Secondary Schools
Geography Questions and Answers Form 1
Geography Questions and Answers Form 2
Geography Questions and Answers Form 3
Geography Questions and Answers Form 4
Geography Questions and Answers Multiple Choice
Geography Questions and Answers Notes
Geography Questions and Answers O
Geography Questions and Answers Online
Geography Questions and Answers Pdf
Geography Questions and Answers Pdf for Class 12
Geography Questions and Answers Pdf for Competitive Exams
Geography Questions and Answers-form 2
Geography Questions for High School
Geography Questions for High School Students With Answers
Geography Questions for Senior 1
Geography Questions for Senior 2
Geography Questions for Senior 3
Geography Questions for Senior 4
Geography Questions for Senior 5
Geography Questions for Senior 6
Geography Questions for Senior Five
Geography Questions for Senior Four
Geography Questions for Senior One
Geography Questions for Senior Six
Geography Questions for Senior Three
Geography Questions for Senior Two
Geography Questions Form One
Geography Questions Multiple Choice
Geography Questions Quizlet
Geography Questions to Ask Your Teacher
Geography Quetion and Answer Form Four
Geography Quetion and Answer Form One
Geography Quetion and Answer Form Three
Geography Quetion and Answer Form Two
Geography Quiz for Class 9
Geography Quiz for Class 9 Geography
Geography Quiz Questions and Answers for Class 10
Geography Quiz Questions and Answers for Class 10 Pdf
Geography Quiz Questions and Answers for Class 12
Geography Quiz Questions and Answers for Class 9
Geography Quiz Questions and Answers for Class 9 Pdf
Geography Quiz Questions and Answers for High School
Geography Quiz Questions and Answers Multiple Choice
Geography Quiz Questions and Answers Pdf
Geography Quiz Questions for Class 12
Geography Quiz Questions for College Students
Geography Quiz With Answers
Geography Quiz With Answers Pdf
Geography Quizlet
Geography Revision
Geography Revision a Level
Geography Revision Geography Notes Geography
Geography Revision Exam
Geography Revision Examination
Geography Revision Form One
Geography Revision Notes
Geography Revision Notes Geography
Geography Revision Notes Form 1
Geography Revision Notes Form 2
Geography Revision Notes Form 3
Geography Revision Notes Form 4
Geography Revision Notes IGCSE
Geography Revision Paper One
Geography Revision Questions
Geography Revision Questions and Answers
Geography Revision Questions and Answers Form 1
Geography Revision Questions and Answers Form 2
Geography Revision Questions and Answers Form 3
Geography Revision Questions and Answers Form 4
Geography Revision Questions and Answers Form Four
Geography Revision Questions and Answers Form One
Geography Revision Questions and Answers Form Three
Geography Revision Questions and Answers Form Two
Geography Revision Questions Form 1
Geography Revision Questions Form 2
Geography Revision Questions Form 3
Geography Revision Questions Form 4
Geography Revision Questions Form Four
Geography Revision Questions Form One
Geography Revision Questions Form Three
Geography Revision Questions Form Two
Geography Revision Quiz
Geography Revision Test
Geography Secondary School Revision
Geography Simple Notes
Geography Spm Notes Download
Geography Spm Notes Pdf
Geography Spm Questions
Geography Study Form 2
Geography Study Guide
Geography Study Guide Answer Key
Geography Study Guide Answers
Geography Study Guide Geography Questions and Answers
Geography Study Guide Ib
Geography Study Guide Pdf
Geography Study Guides
Geography Study Notes
Geography Study Notes Materials Form 1 Pdf
Geography Study Notes Materials Form 2 3 Pdf
Geography Study Notes Materials Form 2 Pdf
Geography Study Notes Materials Form 3 Pdf
Geography Study Notes Materials Form 4 Pdf
Geography Syllabus in Kenya
Geography Syllabus Pdf
Geography Test 1 Quizlet
Geography Test Questions
Geography Test Questions and Answers
Geography Test Questions and Answers Pdf
Geography Topic One Form Four
Geography Topics Form One
Geography Unit 1 Quiz
Geography Vol 3
Geography | Revision Geography
Geography,form 4
Geography.form Four.topic Three
GeographyExam Form Three
GeographyModule Form 5
GeographyNotes
GeographyNotes for Class 11 Pdf
GeographyNotes for Class 12 Pdf
GeographyNotes Form 1
GeographyNotes Form 1 Free Download
GeographyNotes Form 2
GeographyNotes Form 3
GeographyNotes Form 3 Pdf
GeographyNotes IGCSE
GeographyNotes Pdf
GeographyPast Papers
GeographyQuestions and Answers Pdf
GeographySimple Notes
GeographySpm Notes Download
GeographySpm Notes Pdf
GeographySpm Questions
GeographyStudy Guide Answers
GeographyStudy Guide Pdf
GeographyStudy Guides
Blologytextpapers
Bridge Geography
Business Past KCSE Past Papers
Business Studies Form 3 Notes Pdf
Business Studies Form 4 Notes Pdf
C R E Form One KLB
C R E Form One Oli Topic
C.r.e Form 1 Notes Kenya
C.r.e Form 2 Notes Kenya
C.r.e Form 3 Notes
C.r.e Form 3 Notes Kenya
C.r.e Form 3 Pdf
C.r.e Form 4 Notes Kenya
C.r.e Form One Notes Pdf
C.r.e Notes Form 1
C.r.e Revision Notes
C.r.e Short Notes
Cambridge IGCSE Geography
Cambridge IGCSE Geography 3rd Edition
Cambridge IGCSE Geography 3rd Edition Plus Cd South Asia Edition
Cambridge IGCSE Geography Answers
Cambridge IGCSE Geography Coursebook Pdf Download
Cambridge IGCSE Geography Practical Workbook
Cambridge IGCSE Geography Revision Guide Pdf
Cambridge IGCSE Geography Study and Revision Guide 2nd Edition Pdf
Cambridge IGCSE Geography Study and Revision Guide Pdf
Cambridge IGCSE Geography Workbook Free Download
Cambridge IGCSE Geography Workbook Pdf
Cambridge IGCSE® Geography Coursebook
Caucasian Chalk Circle Essay Questions
Chapter 1 Introduction to Geography
Chapter 1 Introduction to Geography Studies
Cie a Level Geography Notes 2016
Cie a Level Geography Notes Pdf
Cie Past Papers
Class 10 Geography Chapter 1 Mcqs
Class 8 Geography Notes KCSE-kcse
College Geography Notes
College Geography Practice Test
College Geography Quiz
College Geography Quiz Chapter 1
College Geography Quizlet
College Geography Study Guide
College Geography Study Guide Pdf
College Geography Test Questions and Answers
College Geography Volume 3 Pdf
College GeographyNotes
Complete Geography for Cambridge IGCSE
Complete Geography for Cambridge IGCSE Revision Guide Pdf
County Mocks 2017
Cse Past Papers Geography 2017
Dl Geography Form 3 Pdf Kusoma
Download Geography Form 1
Download Geography Form 2
Download Geography Form 2 Notes
Download Geography Form 3
Download Geography Form 3 Notes
Download Geography Form 4
Download Geography Form Four
Download Geography Form One
Download Geography Form Three
Download Geography Form Two
Download Geography Notes Form 3
Download Geography Notes Form One
Download GeographyNotes Form 3
Download Form Three Geography Notes
Download Free KCSE Past Papers Geography
Download Free KCSE Past Papers From KNEC.
Download KCSE Past Papers With Answers
Download KCSE Revision Notes
Download KLB Geography Book 2
Download KLB Geography Book 3
Download KLB Geography Book 4
Download Notes of Geography
Downloads | Geography | Form Four Exams | Exams
Downloads | Geography | Form One Exams | Exams
Downloads | Geography | Form Three Exams | Exams
Downloads | Geography | Form Two Exams | Exams
Downloads | KCSE Papers and Marking Schemes |
Dvance KCSE Past Papers
Easy Geography Questions
Edexcel a Level Geography B
Edexcel a Level Geography Notes Pdf
Edexcel a Level Geography Salters Nuffield
Edexcel A2 Geography Notes
Edexcel as Geography Revision Guide Pdf
Edexcel Geography A2 Revision Notes Pdf
Edexcel Geography Unit 2 Revision Notes
Edexcel GCSE Geography Revision Guide Pdf
Edexcel IGCSE Geography Past Papers
Edexcel IGCSE Geography Revision Guide Free Pdf Download
Edexcel IGCSE Geography Revision Guide Pdf
Edexcel IGCSE Geography Revision Guide Pdf Download
Electronics Form Four Notes
Energy Questions Geography Bowl
Essay Questions and Answers KCSE Geography Notes
Essay Questions and Answers on Betrayal in the City
Essay Questions Based on Betrayal in the City
Evolving World Geography Book 1 Pdf
Evolving World Geography Book 4 Notes
Evolving World Geography Book Form 1
Evolving World-history Book 3
Exam Notes for Geography 101
Exams KCSE Geography Paper 1 Questions and Answers
F3 Geography Test Paper
Find Download KCSE Past Papers With Answers
Find KCSE Geography Essay Questions and Answers
Form 1 Geography Exam
Form 1 Geography Notes
Form 1 Geography Questions and Answers
Form 1 Geography Questions and Answers Pdf
Form 1 Geography Revision Notes
Form 1 Geography Summurized Revision Pdf
Form 1 Geography Syllabus
Form 1 Geography Test Paper Pdf
Form 1 Geography Topics
Form 1 GeographyNotes
Form 1 GeographyQuestions and Answers
Form 1 GeographyRevision Notes
Form 1 GeographySyllabus
Form 1 GeographyTest Paper Pdf
Form 1 Past Papers
Form 1 Past Papers With Answers
Form 1 Revision Papers
Form 1 Subjects in Kenya
Form 2 Geography Exam
Form 2 Geography Exam Paper
Form 2 Geography Exam Paper 2016
Form 2 Geography Exam Paper Free Download
Form 2 Geography Exam Paper With Answer
Form 2 Geography Final Year Exam Paper 2
Form 2 Geography Notes
Form 2 Geography Notes and Revision Questions
Form 2 Geography Notes Pdf
Form 2 Geography Past Papers
Form 2 Geography Questions
Form 2 Geography Questions and Answers
Form 2 Geography Questions and Answers >
Form 2 Geography Questions and Answers Pdf
Form 2 Geography Revision Notes
Form 2 Geography Short Notes
Form 2 Geography Syllabus
Form 2 GeographyExam Paper
Form 2 GeographyExam Paper Free Download
Form 2 GeographyExam Paper With Answer
Form 2 GeographyFinal Year Exam Paper 2
Form 2 GeographyPast Papers
Form 2 GeographyRevision Notes
Form 2 GeographyShort Notes
Form 2 GeographySyllabus
Form 2 Revision Papers
Form 2 Subjects in Kenya
Form 3 Geography Book
Form 3 Geography Exam
Form 3 Geography Exam Paper
Form 3 Geography Notes
Form 3 Geography Past Papers
Form 3 Geography Questions
Form 3 Geography Questions and Answers
Form 3 Geography Questions and Answers Pdf
Form 3 Geography Revision Notes
Form 3 Geography Syllabus
Form 3 GeographyExam Paper
Form 3 GeographyNotes
Form 3 GeographyPast Papers
Form 3 GeographyQuestions
Form 3 GeographyQuestions and Answers Pdf
Form 3 GeographyRevision Notes
Form 3 GeographySyllabus
Form 3 C.r.e
Form 3 Notes of Geography Topic on Fish
Form 3 Past Papers
Form 3 Revision Papers
Form 3 Subjects in Kenya
Form 4 Geography Exam
Form 4 Geography Notes
Form 4 Geography Notes Pdf
Form 4 Geography Questions and Answers
Form 4 Geography Questions and Answers Pdf
Form 4 Geography Revision Notes
Form 4 Geography Syllabus
Form 4 Geography Topics
Form 4 GeographyNotes
Form 4 GeographyRevision Notes
Form 4 GeographySyllabus
Form 4 GeographyTopics
Form 4 Exam Papers
Form 4 Revision Papers
Form 4 Subjects in Kenya
Form 5 Geography Topics
Form 5 GeographyTopics
Form Five Geography Notes
Form Five GeographyNotes
Form Four Geography Book
Form Four Geography Notes
Form Four Geography Notes Pdf
Form Four Geography Questions and Answers
Form Four Geography Questions and Answers Pdf
Form Four Geography Revision Questions
Form Four Geography Syllabus
Form Four Geography Topics
Form Four GeographyNotes
Form Four GeographyQuestions and Answers
Form Four GeographyQuestions and Answers Pdf
Form Four GeographyTopics
Form Four Notes
Form Four Revision Papers
Form Four Subjects in Kenya
Form One Geography Book
Form One Geography Examination
Form One Geography First Topic
Form One Geography Lesson Plan
Form One Geography Notes Pdf
Form One Geography Past Papers Pdf
Form One Geography Questions
Form One Geography Questions and Answers
Form One Geography Questions and Answers Pdf
Form One Geography Revision Questions
Form One Geography Short Notes
Form One Geography Syllabus
Form One Geography Topics
Form One GeographyExamination
Form One GeographyPast Papers Pdf
Form One GeographyQuestions and Answers
Form One GeographyQuestions and Answers Pdf
Form One GeographyTopics
Form One Exams
Form One Notes of Geography
Form One Past Papers
Form One Subjects in Kenya
Form One Term One Geography Exam
Form One Term One GeographyExam
Form Three Geography Book
Form Three Geography Book Pdf
Form Three Geography Notes
Form Three Geography Notes Pdf
Form Three Geography Questions and Answers
Form Three Geography Questions and Answers Pdf
Form Three Geography Revision Questions
Form Three Geography Syllabus
Form Three Geography Topics
Form Three GeographyNotes
Form Three GeographyNotes Pdf
Form Three GeographyQuestions and Answers
Form Three GeographyQuestions and Answers Pdf
Form Three GeographyTopics
Form Three Subjects in Kenya
Form Two Geography Book
Form Two Geography Cat
Form Two Geography Examination
Form Two Geography Notes
Form Two Geography Notes Pdf
Form Two Geography Past Papers
Form Two Geography Questions and Answers
Form Two Geography Questions and Answers Pdf
Form Two Geography Revision Questions
Form Two Geography Syllabus
Form Two Geography Topics
Form Two GeographyNotes
Form Two GeographyNotes Pdf
Form Two GeographyQuestions and Answers
Form Two GeographyQuestions and Answers Pdf
Form Two GeographySyllabus
Form Two GeographyTopics
Form Two Notes
Form Two Subjects in Kenya
Free a-level Geography Revision App | Pass Your Geography Exams
Free Geography Form 1 Notes
Free Geography Notes Form 1
Free Geography Notes Pdf
Free GeographyNotes Pdf
Free College Geography Practice Test
Free Form1,form2,form3 Past Papers Free KCSE Past Papers
Free KCSE Mocks 2015
Free KCSE Past Papers 2014
Free KCSE Past Papers KCSE Past
Free KCSE Past Papers Kenya,
Free KCSE Past Papers With Answers
Free KCSE Questions and Answers on Geography
Free KCSE Revision Notes
Free Marking Schemes
Free Mocks Online KCSE Answers Past Exams Question Papers
Free Revision Papers
From Three Notes Topic One KLB
Fun Geography Questions
Funny Geography Questions
Funny Geography Questions and Answers
Funny Geography Questions to Ask
Funny Geography Quotes
GCSE Geography Exam Questions and Answers
GCSE Geography Past Papers
GCSE Geography Revision
GCSE Geography Revision Notes
GCSE Geography Revision Notes Pdf
GCSE Geography Revision Notes Pdf 9-1
GCSE Geography Revision Questions and Answers
GCSE Geography Textbook Pdf
GCSE Geography Topics Pass My Exams: Easy Exam Revision Notes
General Geography Notes Pdf
General Geography Practice Test With Answers
General Geography Quiz
General Geography Quiz Pdf
General Geography Test Questions and Answers
General Geography Test Questions and Answers Pdf
General Knowledge in Geography Human Body
Good Geography Questions to Ask
GRE Geography Practice Test
GRE Geography Subject Test Pdf
Handbook of Geography Pdf Free Download
Hard Geography Questions
Hard Geography Questions and Answers
Hard Geography Questions to Ask Your Teacher
Hard Geography Quiz Questions
Hard Form 3 Geography Question
High School Geography Final Exam Doc
High School Geography Final Exam Pdf
High School Geography Final Exam Questions
High School Geography Final Exam Questions and Answers
High School Geography Notes
High School Geography Practice Test
High School Geography Pretest With Answers
High School Geography Questions and Answers Pdf
High School Geography Study Guide
High School Geography Test Questions and Answers Pdf
High School GeographyNotes
High School GeographyStudy Guide
How to Answer KCSE Geography Question
How to Motivate a Form 4 Student
How to Motivate a KCSE Candidate
How to Motivate a KCSE Student
How to Pass Geography Questions & Answers Form 1&2 | Text Book
How to Revise Geography
How to Revise Effectively for KCSE
How to Study Geography: 5 Study Techniques to Master Geography
Hsc Geography 2018
Hsc Geography 2019
Https://www.knec.ac.ke/ Www.knec-portal.ac.ke/ KNEC Portal:
Ial Geography Notes
Ib Geography Cold War Notes
Ib Geography Notes
Ib Geography Notes Pdf
Ib Geography of the Americas Notes
Ib Geography of the Americas Study Guide
Ib Geography Paper 2 Study Guide
Ib Geography Question Bank by Topic
Ib Geography Study Guide Pdf
Ict Notes Form 1
IGCSE Geography Alternative to Practical Revision
IGCSE Geography Alternative to Practical Revision Notes
IGCSE Geography Book
IGCSE Geography Book Pdf Download
IGCSE Geography Notes
IGCSE Geography Notes 2017 Pdf
IGCSE Geography Notes Edexcel
IGCSE Geography Paper 2 Notes
IGCSE Geography Paper 6 Notes
IGCSE Geography Past Papers
IGCSE Geography Past Papers 2014
IGCSE Geography Past Papers 2017
IGCSE Geography Pdf
IGCSE Geography Pre Release Material 2018
IGCSE Geography Resources
IGCSE Geography Revision Guide
IGCSE Geography Revision Guide Free Download
IGCSE Geography Revision Guide Pdf Download
IGCSE Geography Revision Notes Pdf
IGCSE Geography Revision Worksheets
IGCSE Geography Workbook Pdf
IGCSE Geography Znotes
IGCSE GeographyPast Papers
IGCSE Notes Geography
Importance of Agroforestry
Inorganic Geography Multiple Choice Questions With Answers Pdf
Inorganic Geography Questions and Answers Pdf
Interesting Geography Questions
Interesting Geography Questions and Answers
Interesting Questions to Ask About Geography
Intro to Geography Quiz
Introduction of Geography Form One
Introduction to Geography
Introduction to Geography Notes
Introduction to Geography Pdf
Introduction to GeographyNotes
Is Agroforestry Sustainable?
K.c.s.e Answers Geography Paper One 2018
K.c.s.e Geography 2017
K.c.s.e Geography 2018
K.c.s.e Geography Paper 1 2017
K.c.s.e Mocks 2018
K.c.s.e Papers 2015
K.c.s.e Papers 2016
K.c.s.e Past Papers 2014
K.c.s.e.Geography Paper 2 Year 2018
K.c.s.e.results 2018 for Busia County
K.l.b Geography Form 3
K.l.b Geography Notes
K.l.b GeographyNotes
Kasneb Past Papers for Colleges Geography Past Papers
KCSE 2010 Marking Scheme
KCSE 2010 Past Papers
KCSE 2011 Geography Paper 1
KCSE 2011 Marking Scheme
KCSE 2012 Geography Paper 2 Marking Scheme
KCSE 2012 Marking Schemes
KCSE 2013 Geography Paper 1
KCSE 2013 Marking Scheme
KCSE 2013 Marking Scheme Pdf
KCSE 2014
KCSE 2015 Geography Paper 2
KCSE 2015 Geography Paper 3
KCSE 2015 Marking Scheme
KCSE 2015 Past Papers
KCSE 2016 Geography Paper 1
KCSE 2016 Geography Paper 2
KCSE 2017 Geography Paper 1
KCSE 2017 Geography Paper 2
KCSE 2017 Hostory Papers With Answers.com
KCSE 2017 Marking Scheme
KCSE 2017 Papers
KCSE 2017 Papers and Marking Scheme
KCSE 2017 Papers Pdf
KCSE 2017 Past Papers
KCSE 2017 Prediction Pdf
KCSE 2018 Geography and Answers
KCSE 2018 Geography Prediction
KCSE 2018 Leakage
KCSE 2018 Marking Scheme
KCSE 2018 Papers
KCSE 2018 Prediction Pdf
KCSE 2018 Predictions
KCSE 2018 Questions
KCSE 2018 Questions and Answers
KCSE 2019 Leakage Geography
KCSE 2019 Marking Scheme
KCSE 2019 Questions
KCSE 2019 Questions and Answers
KCSE 2020 Questions
KCSE 2020 Questions and Answers
KCSE Answers
KCSE Answers Past Exams Question Papers Downloads |
KCSE Geography 2011
KCSE Geography 2016
KCSE Geography Diagramsbiology Revision Tips
KCSE Geography Essay Questions and Answers
KCSE Geography Essay Questions and Answers Pdf
KCSE Geography Essays
KCSE Geography Essays Pdf
KCSE Geography Marking Schemes
KCSE Geography Notes
KCSE Geography Notes Pdf
KCSE Geography Notes, Syllabus, Questions, Answers
KCSE Geography Paper 1
KCSE Geography Paper 1 2011
KCSE Geography Paper 1 2012
KCSE Geography Paper 1 2013
KCSE Geography Paper 1 2015
KCSE Geography Paper 1 2016
KCSE Geography Paper 1 2017
KCSE Geography Paper 1 2017 Pdf
KCSE Geography Paper 1 Questions and Answers
KCSE Geography Paper 2
KCSE Geography Paper 2 2012
KCSE Geography Paper 2 2012 KCSE Geography Paper 2 2015
KCSE Geography Paper 2 2013
KCSE Geography Paper 2 2014
KCSE Geography Paper 2 2015
KCSE Geography Paper 2 2016
KCSE Geography Paper 2 2017
KCSE Geography Paper 3
KCSE Geography Paper 3 2012
KCSE Geography Paper 3 2016
KCSE Geography Paper 3 2017
KCSE Geography Paper 3 Past Papers
KCSE Geography Past Papers
KCSE Geography Past Papers and Answers
KCSE Geography Past Papers Pdf
KCSE Geography Practical
KCSE Geography Practical 2015
KCSE Geography Practical 2016
KCSE Geography Practical Past Papers
KCSE Geography Practicals
KCSE Geography Practicals KCSE Geography Paper 1
KCSE Geography Question and Answer
KCSE Geography Questions and Answers
KCSE Geography Questions and Answers Ap Geography
KCSE Geography Revision
KCSE Geography Revision Notes
KCSE Geography Revision Papers
KCSE Geography Revision Questions
KCSE Geography Revision Questions and Answers
KCSE Geography Syllabus
KCSE GeographyNotes
KCSE GeographyPaper 1
KCSE GeographyPaper 2
KCSE GeographyPaper 2 Pdf
KCSE GeographySyllabus
KCSE Business Paper 1 2016
KCSE Business Past Papers
KCSE Business Studies Past Papers
KCSE Essay Questions in Betrayal in the City
KCSE Essays
KCSE Exam Papers 2018
KCSE Exam Papers Answers
KCSE Form 1 Geography Revision
KCSE Form 2 Geography Revision
KCSE Form 3 Geography Revision
KCSE Form 4 Geography Revision
KCSE Form Four Geography Revision
KCSE Form One Geography Revision
KCSE Form Three Geography Revision
KCSE Form Two Geography Revision
KCSE KCSE Past Papers KNEC
KCSE Leakage
KCSE Leakage Geography
KCSE Made Familiar Geography
KCSE Made Familiar Geography Pdf
KCSE Marking Scheme 2016
KCSE Marking Schemes
KCSE Marking Schemes 2017
KCSE Marking Schemes Pdf
KCSE Mock Exams
KCSE Mock Papers 2015
KCSE Mock Papers 2017
KCSE Mock Papers 2018
KCSE Mock Papers Pdf
KCSE Mock Papers Pdf 2018
KCSE Mock Papers Pdf KCSE Past Papers
KCSE Mocks 2017
KCSE Mocks 2018
KCSE Notes
KCSE Online Notes
KCSE Online Past Papers
KCSE Online Registration
KCSE Papers 2015
KCSE Papers and Marking Schemes | Exams
KCSE Past Papers
KCSE Past Papers 2007
KCSE Past Papers 2009
KCSE Past Papers 2010
KCSE Past Papers 2011
KCSE Past Papers 2011 Pdf
KCSE Past Papers 2012
KCSE Past Papers 2013
KCSE Past Papers 2013knec
KCSE Past Papers 2014
KCSE Past Papers 2014 Pdf
KCSE Past Papers 2015
KCSE Past Papers 2015 Marking Schemes
KCSE Past Papers 2015 Pdf
KCSE Past Papers 2016
KCSE Past Papers 2016 Pdf
KCSE Past Papers 2017
KCSE Past Papers 2017 Pdf
KCSE Past Papers 2018
KCSE Past Papers Geography
KCSE Past Papers Geography and Answers
KCSE Past Papers Geography Pdf
KCSE Past Papers Geography With Answers
KCSE Past Papers Geographyand Answers
KCSE Past Papers Business Studies and Answers
KCSE Past Papers KCSE and Answers
KCSE Past Papers KCSE and Answers Free Mocks Online
KCSE Past Papers Marking Scheme
KCSE Past Papers Pdf Download
KCSE Past Papers Pdf Download KCSE 2013
KCSE Past Papers With Answers
KCSE Past Papers Woodwork and Answers
KCSE Prediction 2017
KCSE Prediction 2018
KCSE Prediction 2018 Pdf
KCSE Prediction Papers 2018
KCSE Prediction Questions
KCSE Prediction Questions 2018
KCSE Prediction Questions and Answers
KCSE Questions
KCSE Questions and Answers
KCSE Questions and Answers.
KCSE Questions on Geography
KCSE Results, Online Registration, KCSE Result Slip.
KCSE Revision
KCSE Revision Notes
KCSE Revision Notes Geography
KCSE Revision Notes Pdf
KCSE Revision Papers
KCSE Revision Papers 2014
KCSE Revision Papers With Answers
KCSE Revision Question for Geography
KCSE Revision Questions
KCSE Revision Questions and Answers
KCSE Revision | Secondary School | Text Books | Text Book Centre
KCSE Syllabus Pdf
KCSE Trial 2017
KCSE Trial Exams 2017
Kenya Secondary School Geography Syllabus
Kenya Secondary School Geography Syllabus Pdf
Kenya Secondary School GeographySyllabus Pdf
Kenya Secondary School Syllabus Pdf
Kenya-kcse-christian Religious Education Syllabus
Kenyaplex KCSE Past Papers
Kenyaplex Past Papers for Secondary
KLB Geography Book 1 Download
KLB Geography Book 1 Notes
KLB Geography Book 1 Pdf
KLB Geography Book 2
KLB Geography Book 2 Notes
KLB Geography Book 2 Notes Pdf
KLB Geography Book 2 Pdf
KLB Geography Book 3 Notes
KLB Geography Book 3 Pdf
KLB Geography Book 3 Pdf Download
KLB Geography Book 4 Notes
KLB Geography Book 4 Pdf
KLB Geography Book 4 Pdf Download
KLB Geography Book 4 Topics
KLB Geography Book One
KLB Geography Form 1
KLB Geography Form 1 Notes
KLB Geography Form 1 Pdf
KLB Geography Form 2
KLB Geography Form 2 Book
KLB Geography Form 2 Notes
KLB Geography Form 2 Pdf
KLB Geography Form 2 Pdf Download
KLB Geography Form 2 Schemes of Work
KLB Geography Form 3
KLB Geography Form 3 Notes
KLB Geography Form 3 Notes Pdf
KLB Geography Form 3 Pdf
KLB Geography Form 3 Pdf Download
KLB Geography Form 4
KLB Geography Form 4 Notes
KLB Geography Form 4 Pdf
KLB Geography Form Four
KLB Geography Form Four Notes
KLB Geography Form One
KLB Geography Form One Notes
KLB Geography Form Three
KLB Geography Form Three Notes
KLB Geography Form Two
KLB Geography Form Two Notes
KLB Geography Notes
KLB Geography Notes Form 4
KLB Geography Pdf
KLB GeographyNotes
KLB GeographyNotes Form 4
KLB GeographyPdf
KNEC Geography Syllabus
KNEC Examiners Portal KNEC Website
KNEC Ict Past Papers
KNEC Past Papers for Colleges
KNEC Past Papers Free Download
KNEC Past Papers Free Downloads
KNEC Past Papers Pdf
KNEC Portal Confirmation
KNEC Portal KCSE Results
KNEC Portal KNEC Past Papers for Colleges Kasneb Past Papers
KNEC Revision Papers
KNEC Technical Exams Past Papers
Kusoma Geography Notes
Kusoma Geography Notes Pdf
Kusoma Notes Geography
Kusoma.co.ke
Kusoma.com Past Papers
Learner Guide for Cambridge IGCSE Geography
Longhorn Geography Book 3 Pdf
Made Familiar Geography
Made Familiar Geography Pdf
Made Familiar Geography Questions
Maktaba Tetea Notes
Marking Scheme KCSE Geography Past Papers
Math Form2 Note
Mcqs About Gaseous Exchange
Middle School Geography Bowl Geography Questions
Mock Past Papers 2017
Mock Past Papers With Answers
Mokasa Mock 2017
More Than 1800 Geography Questions and Answers to Help You Study
Multiple Choice Questions on Geography
Necta Geography Past Papers
Necta Geography Practicals
Necta GeographyPast Papers
Necta GeographyPracticals
Necta Form Four Past Papers
Necta Past Papers Form 4
Necta Past Papers Form 4 2016
Necta Past Papers Form Six
Necta Past Papers Form Two
Necta Questions and Answers
Necta Review Questions
Notes Geography Form 1
Notes Geography Form 2
Notes Geography Form 3
Notes Geography Form 3 Notes Pdf
Notes Geography Form 3 Syllabus
Notes Geography Form 4 Syllabus
Notes on Geography Studies
Notes Za Geography 4m 2
Notes Za Geography Form One
Notes Za Geography Form Three
O Level Geography Practical Experiments
O Level Geography Questions and Answers Pdf
Orm Three Geography Notes
Page Navigation
Papacambridge Geography IGCSE
Papers KNEC KCSE Online Past
Papers KNEC KCSE Results Past Papers
Past KCSE Papers
Past Paper Questions by Topic Geography
Past Papers 2014
Past Papers in Kenya
Pdf Geography Form 3
Pdf Geography Notes
Pdf Geography Notes Form 1
Pdf Geography Notes Form 2
Pdf Geography Notes Form 3
Pdf Geography Notes Form 4
Pdf Geography Notes Form Four
Pdf Geography Notes Form One
Pdf Geography Notes Form Three
Pdf Geography Notes Form Two
Pdf Form 1 Geography Questions and Answers
Pdf Form 2 Geography Questions and Answers
Pdf Form 3 Geography Questions and Answers
Pdf Form 4 Geography Questions and Answers
Pdf Form Four Geography Questions and Answers
Pdf Form One Geography Questions and Answers
Pdf Form Three Geography Questions and Answers
Pdf Form Two Geography Questions and Answers
Pdf Free KCSE Past Papers and Marking Schemes
Pdf” Revision Questions Geography Form 1
Practical Geography Experiments Pdf
Practical Geography Question and Answer Pdf
Pre Mocks 2018
Preliminary Geography
Primary and Secondary Tillage Implements Ppt
Pte KNEC Past Papers
Questions and Answers Pdf Geography Form 1
Questions and Answers Pdf Geography Form 2
Questions and Answers Pdf Geography Form 3
Questions and Answers Pdf Geography Form 4
Questions and Answers Pdf Geography Form Four
Questions and Answers Pdf Geography Form One
Questions and Answers Pdf Geography Form Three
Questions and Answers Pdf Geography Form Two
Questions Based to Introduction to Geography
Questions on Gaseous Exchange in Humans
Questions on Introduction to Geography
Questions to Ask in Geography Class
Questions to Confuse Your Geography Teacher
Quizlet Geography Test
Quizlet Test Questions
Qustions in Geography and Answers
Revision
Revision Geography Notes and Questions?
Revision Quiz for Geography for Form Three
S.1 Geography Questions
S.2 Geography Questions
S.3 Geography Questions
S.4 Geography Questions
Sample Essays on Betrayal in the City
School Geography Notes
Secondary Geography Notes
Secondary Geography Notes Pdf
Secondary GeographyNotes Pdf
Senior 1 Geography Notes
Senior 2 Geography Notes
Senior 3 Geography Notes
Senior 4 Geography Notes
Senior 5 Geography Notes
Senior 6 Geography Notes
Senior Five Geography Notes
Senior Four Geography Notes
Senior One Geography Notes
Senior Six Geography Notes
Senior Three Geography Notes
Senior Two Geography Notes
Simple Scientific Questions
Smart Questions to Ask a Geography Teacher
Snab Geography Revision Notes
Southwest Mock Paper 2 2016 Geography Only
Spm Geography Revision Notes
Spm Notes
Success Geography Spm Pdf
Success GeographySpm Pdf
Summary of Geography Form 3
Tahossa Past Papers
To Motivate a Form 4 KCSE Student
To Motivate a Form 4 Student
Topical Revision Material
Tricky Geography Questions and Answers
Tricky Geography Questions for Adults
Tricky Geography Questions With Answers
Tricky Geography Quiz Questions
Two Geography Revision Questions
University Geography Volume 3 Openstax
University Geography Volume 3 Pdf
University Geography Volume 4 Pdf
Ur Revision Guide IGCSE Geography
What Are the Types of Gametes
Working of Excretory System
Www.Geography Form One Notes.com
Www.Geography From One KLB.com
Www.form 1 Geography.com
Www.form 2 Geography.com
Www.form 3 Geography.com
Www.form 4 Geography.com
Www.form Four Geography.com
Www.form One Geography.com
Www.form Three Geography.com
Www.form Two Geography.com
Www.kusoma Notes
Www.kusoma Revision Materials
Www.kusoma.co.ke Geography Notes
Xtremepapers IGCSE Geography
Year 11 Geography
Z Notes Geography IGCSE
Znotes as Geography
15 Common Geography Questions From Form 1
15 Common Geography Questions From Form 2
15 Common Geography Questions From Form 3
15 Common Geography Questions From Form 4
15 Common Geography Questions From Form Four
15 Common Geography Questions From Form One
15 Common Geography Questions From Form Three
15 Common Geography Questions From Form Two
150 Common Geography Questions From Form 1
150 Common Geography Questions From Form 2
150 Common Geography Questions From Form 3
150 Common Geography Questions From Form 4
150 Common Geography Questions From Form Four
150 Common Geography Questions From Form One
150 Common Geography Questions From Form Three
150 Common Geography Questions From Form Two
2019 KCSE Exams Geography Papers
All Subjects Online Form1 Notes
All Subjects Online Form2 Notes
All Subjects Online Form3 Notes
All Subjects Online Form4 Notes
All Subjects Online Form 1 Notes
All Subjects Online Form 2 Notes
All Subjects Online Form 3 Notes
All Subjects Online Form 4 Notes
All Subjects Online Form One Notes
All Subjects Online Form Two Notes
All Subjects Online Form Three Notes
All Subjects Online Form Four Notes
2019 KCSE Exams Papers
2020 KCSE Exams Geography Papers
2021 KCSE Exams Geography Papers
Best Geography Books for KCSE Knec
Geography
Geography 2 Topic Form Two
Geography Diagrams
Geography Form 1 and 2 Notes
Geography Form 1 Download
Geography Form 1 Notes Online
Geography Form 1 Notes Revision
Geography Form 1 Pastpapers and Marking Scheme
Geography Form 1 Questions and Answers Pdf
Geography Form 1 Revision Notes
Geography Form 1 Text Book
Geography Form 1 Text Book Notes
Geography Form 2 Download
Geography Form 2 Notes
Geography Form 2 Notes Online
Geography Form 2 Notes Revision
Geography Form 2 Pastpapers and Marking Scheme
Geography Form 2 Pdf
Geography Form 2 Questions and Answers Pdf
Geography Form 2 Revision Notes
Geography Form 2 Text Book
Geography Form 2 Text Book Notes
Geography Form 3 Download
Geography Form 3 Notes Online
Geography Form 3 Notes Revision
Geography Form 3 Pastpapers and Marking Scheme
Geography Form 3 Questions and Answers Pdf
Geography Form 3 Revision Notes
Geography Form 3 Text Book
Geography Form 3 Text Book Notes
Geography Form 4 Download
Geography Form 4 Notes Online
Geography Form 4 Notes Revision
Geography Form 4 Pastpapers and Marking Scheme
Geography Form 4 Questions and Answers Pdf
Geography Form 4 Revision Notes
Geography Form 4 Text Book
Geography Form 4 Text Book Notes
Geography Form Four Download
Geography Form Four Notes Online
Geography Form Four Notes Revision
Geography Form Four Pastpapers and Marking Scheme
Geography Form Four Questions and Answers Pdf
Geography Form Four Revision Notes
Geography Form Four Text Book
Geography Form Four Text Book Notes
Geography Form One Download
Geography Form One Notes Online
Geography Form One Notes Revision
Geography Form One Pastpapers and Marking Scheme
Geography Form One Questions and Answers
Geography Form One Questions and Answers Pdf
Geography Form One Revision Notes
Geography Form One Text Book
Geography Form One Text Book Notes
Geography Form Three Download
Geography Form Three Notes Online
Geography Form Three Notes Revision
Geography Form Three Pastpapers and Marking Scheme
Geography Form Three Questions and Answers Pdf
Geography Form Three Revision Notes
Geography Form Three Text Book
Geography Form Three Text Book Notes
Geography Form Two Download
Geography Form Two Notes Online
Geography Form Two Notes Revision
Geography Form Two Pastpapers and Marking Scheme
Geography Form Two Questions and Answers Pdf
Geography Form Two Revision Notes
Geography Form Two Text Book
Geography Form Two Text Book Notes
Geography Full Exam Papers
Geography K.C.S.E Revision Papers
Geography KCSE Revision
Geography Notes Book Four
Geography Notes Book One
Geography Notes Book Three
Geography Notes Book Two
Geography Notes Form 2
Geography Questions and Answers for High Schools Pdf
Geography Questions and Answers Form 1
Geography Questions and Answers Form 2
Geography Questions and Answers Form 3
Geography Short Note for Revising Form 1
Geography Short Note for Revising Form 2
Geography Short Note for Revising Form 3
Geography Short Note for Revising Form 4
Geography Short Note for Revising Form Four
Geography Short Note for Revising Form One
Geography Short Note for Revising Form Three
Geography Short Note for Revising Form Two
Geography Short Notes Form 1
Geography Short Notes Form 2
Geography Short Notes Form 3
Geography Short Notes Form 4
Geography Short Notes Form Four
Geography Short Notes Form One
Geography Short Notes Form Three
Geography Short Notes Form Two
Geography Form 2 Questions and Answers Pdf
Brief Notes Geography Form 1
Brief Notes Geography Form 2
Brief Notes Geography Form 3
Brief Notes Geography Form 4
Brief Notes Geography Form Four
Brief Notes Geography Form One
Brief Notes Geography Form Three
Brief Notes Geography Form Two
Brief Notes Geography Form3 Chapter1
Download Book 1 Geography Notes
Download Book 2 Geography Notes
Download Book 3 Geography Notes
Download Book 4 Geography Notes
Download Book Four Geography Notes
Download Book One Geography Notes
Download Book Three Geography Notes
Download Book Two Geography Notes
Download Book1 Geography Notes
Download Book2 Geography Notes
Download Book3 Geography Notes
Download Book4 Geography Notes
Download KCSE Geography Study Notes
Download Secondary Subjects
Download Secondary Subjects in Kenya
Download Secondary Subjects KCSE
Exams Revision Kenya
Exams Revision Kenya KCSE
Expected Questions and Answers in Geography Form One
Form 2 Geography Notes
Form 2 Geography Notes Pdf
Form 2 Geography Topics
Form 3 Geography Book Pdf
Form Iii Topics of Geography Revisios
How to Answer Geography Paper 1 Questions?
How to Answer Geography Paper 2 Questions?
How to Answer Geography Paper 3 Questions?
How to Answer KCSE Geography Paper 1 Questions?
How to Answer KCSE Geography Paper 2 Questions?
How to Answer KCSE Geography Paper 3 Questions?
How to Answer Paper 1 Geography Questions?
How to Answer Paper 2 Geography Questions?
How to Answer Paper 3 Geography Questions?
K.C.S.E Revision Papers
K.C.S.E Revision Papers Geography
KCSE Geography Essay Questions and Answers Pdf
KCSE Geography Revisions
KCSE Geography Study Notes
KCSE Free Geography Qussions
KCSE Free Qussions
KCSE Revision Kenya
KCSE Revisions
Geography Form Two Questions
Revision Kenya
Revision Kenya Kcsse
Sammary Note for Geography Form 1
Sammary Note for Geography Form 2
Sammary Note for Geography Form 3
Sammary Note for Geography Form 4
Sammary Note for Geography Form Four
Sammary Note for Geography Form One
Sammary Note for Geography Form Three
Sammary Note for Geography Form Two
Www.last Year KCSE Exams.com
Geography Paper2 Revision 2019
Igcse Geography Paper 2 Revision
Edexcel Igcse Geography Revision Notes
Igcse Geography Revision Questions
Igcse Geography Revision Notes Pdf
Igcse Geography Paper 2 Map Extract
Igcse Geography Paper 4 Revision Pdf
Igcse Geography Case Studies Pdf
Igcse Geography Revision Guide
[ad_2]
Source link
Comments
The Kenyan Digest Team
You may like
EXPOSED: How Kenya’s Student Leaders Have Been Silenced as Lecturers’ Strike Enters Another Week
Paul Biya’s Re-Election: What Cameroon’s Political Longevity Reveals About Leadership and Governance in Africa
Influencers for Sale: Inside the Government’s Attempt to Control Public Opinion Through the Cyber Crimes Bill 2025
How Powerful Politicians Are Using Proxies to Privatize Kenya’s Public Assets
President Ruto Congratulates Harambee Starlets, Pledges Sh1 Million Each After Historic WAFCON Qualification
15 Proven Ways to Make Money Online in Kenya; No Scams!
15 Proven Ways to Make Money Online in Kenya; No Scams!
President Ruto Congratulates Harambee Starlets, Pledges Sh1 Million Each After Historic WAFCON Qualification
How Powerful Politicians Are Using Proxies to Privatize Kenya’s Public Assets
Influencers for Sale: Inside the Government’s Attempt to Control Public Opinion Through the Cyber Crimes Bill 2025
EXPOSED: How Kenya’s Student Leaders Have Been Silenced as Lecturers’ Strike Enters Another Week
Paul Biya’s Re-Election: What Cameroon’s Political Longevity Reveals About Leadership and Governance in Africa
Why Mutahi Kahiga’s Remarks Might Be Part of President Ruto’s Larger Political Game
From Power to Prison: The Fall of France’s Former President Nicolas Sarkozy
8 Laws, One Moment: How Ruto Quietly Changed Kenya While the Nation Grieved Raila Odinga
The War in Ukraine: A Comprehensive Analysis of the Conflict
Trending
-
General News1 week agoEXPOSED: How Kenya’s Student Leaders Have Been Silenced as Lecturers’ Strike Enters Another Week
-
Politics1 week ago
Paul Biya’s Re-Election: What Cameroon’s Political Longevity Reveals About Leadership and Governance in Africa
-
Politics1 week agoInfluencers for Sale: Inside the Government’s Attempt to Control Public Opinion Through the Cyber Crimes Bill 2025
-
Business News1 week agoHow Powerful Politicians Are Using Proxies to Privatize Kenya’s Public Assets
-
General News1 week agoPresident Ruto Congratulates Harambee Starlets, Pledges Sh1 Million Each After Historic WAFCON Qualification
-
Business News2 days ago15 Proven Ways to Make Money Online in Kenya; No Scams!