Jobs
KKCSE Past Papers 2017 Drawing and Design Paper 1
Published
7 years agoon
[ad_1]
Click Here – KCSE Past Papers 2017 Drawing and Design Paper 1 » KNEC Past Exams » Free Downloads » KCSE Papers & Marking Schemes
KCSE Past Papers 2017 Drawing and Design Paper 1
2017 Drawing and Design – Paper 1
Section A (50 marks)
Answer all questions in this section on the answer sheet provided.
1 (a) State three roles of the National Industrial Training Authority (NITA). (3 marks)
(b) Name two methods of sharpening pencils leads and state where each is applied in technical drawing. (2 marks)
2 Sketch the conventional symbol for each of the following as used in drawing:(3 marks)
(a) Planned timber.
(b) Third angle projection.
(c) Earth wire.
3 (a) State two advantages of plywood over solid timber. (2 marks)
(b) State two factors that relate to the quality of a design with regard to the following:
(i) Material.
(ii) Proportion.
4 Figure 1 shows a simple shaped block drawn full size in isometric projection.
(2 marks)

Copy the figure and dimension it fully.
(4 marks)
5 (a) State two reasons why care must be taken when storing drawing instruments.
(1 mark)
(b) Name four components of a computer and state the use of each. (4 marks)
6 Figure 2 shows a truncated hexagonal pyramid whose distance across corners is 50 mm.

Copy the figure and draw the following:
(a) Complete plan.
(b) Auxillary view as seen in the direction of arrow shown.
7 Construct an involute of a square whose side is 35 mm.
8 Figure 3 shows a diagonal scale.

(a) Determine the accuracy of the scale.
(b) Outline the steps to follow in order to obtain reading “P”.
(7 marks)
9 Figure 4 shows a shaped block drawn in isometric projection.

Sketch in good proportion the following views in first angle projection:
(a) Front elevation in the direction of Arrow A.
(b) End elevation in the direction of Arrow B.
(c) Plan.
10 Figure 5 shows two views of a solid block drawn in first angle projection.

(6 marks)
In good proportion draw the block in oblique projection with A as the front face. (6 marks)
Section B (20 marks)
This question is compulsory.
It should be answered or the A3 paper provided.
Candidates are advised not to spend more than one hour on this question.
11 Figure 6 shows parts of a tool post drawn in first angle projection. Assemble the parts and draw full size the following views in third angle projection:
(a) Sectional front elevation along the cutting plane X-X.
(b) Plan.
Insert four leading dimensions and do not show hidden details. (20 marks)

Section C (30 marks)
Answer any two questions from this section on the A3 paper provided.
12 Figure 7 shows a link mechanism in which AB rotates about A while C oscillates about
point D. Plot the locus of point E as AB makes one complete revolution. (15 marks)

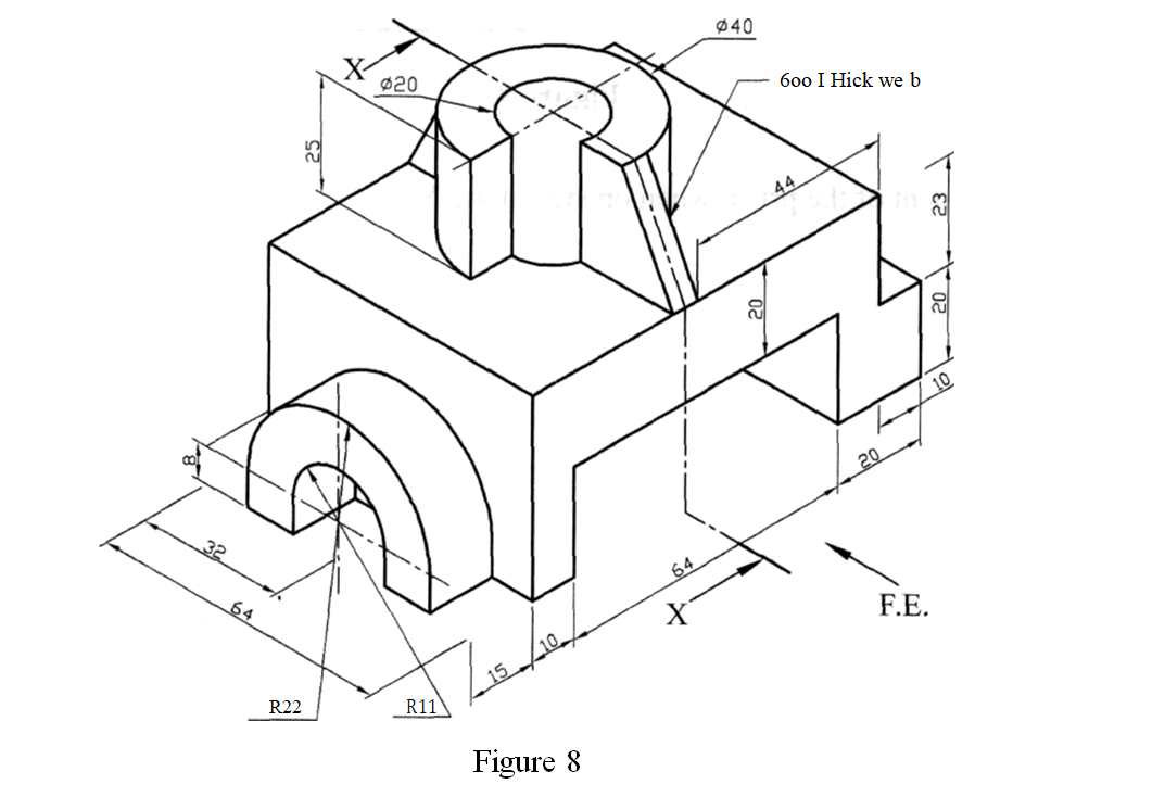
13 Figure 8 shows a machine block drawn isometric projection.

Draw Full Size the following views in first angle projection:
(a) Front elevation in the direction of arrow F.E.
(b) Sectional end elevation along the cutting plane X-X.
(c) Plan.
(15 marks)
14 Figure 9 shows the front elevation of a truncated heptagonal prism, whose length of base is 30 mm.

Draw the development of the prism when opened along X-Y. (15 marks)
Marking Scheme
KCSE Past Papers 2017 Drawing and Design Paper 1
1. (a) Roles of ‘NITA’
(i) Controls training of personnel in the industry.
(ii) Offers technical training in various institutions.
(iii) Examines and certifies various technical trades.
(iv) Controls the type of examinations and certificates to be awarded for Artisan Courses in Kenya.
(v) Gives guidance on the scope of training in the technical
fields.
(b) Sharpening pencil leads:
(i) Chisel used with a compass for drawing arcs and circles.
Used for drawing of construction lines and guidelines
(ii) Pointed /conical —+ for general purpose e.g. lettering and outlines.

(b) Advantages of plywood over solid timber
Factors that relate to good or bad design with regard to:
(i) Material
(ii) Proportion
4. Drawing with the correct dimensions
1 mark Any 6 dimensions 6×1/2=3 marks

5. (a) Reasons for care when storing drawing instruments.
(b) Components of a computer
6.

7.

8. (a) The accuracy of the scale is 0.01 m (1cm)
Reading ‘P’
– Main reading 1.50m
– 1 Horizontal Div. represents 0 – o osm
9




KCSE Results » KCSE Results Top 100 Schools – Kenya Certificate of Secondary Education – KCSE » KCSE Top 100 Candidates » Kenya Certificate of Secondary Education – KCSE » KNEC – Kenya National Examinations Council » Secondary Schools in Kenya » KNEC – Kenya National Examinations Council » Free KNEC KCSE Past Papers
Kenya Scholarships for Undergraduate Students » Kenya Scholarships for Postgraduate Students » Undergraduate Scholarships for Kenyan Students » Kenya Undergraduate Scholarships » Full Undergraduate Scholarships for Kenyans » Kenya Postgraduate Scholarships » Scholarships & Grants » Undergraduate Scholarships » Universities in Kenya » Kenya Universities and Colleges Central Placement Service (KUCCPS) » Colleges in Kenya » KASNEB Registration & Results » Secondary Schools Scholarships in Kenya » Undergraduate & Graduate Scholarships for Kenyans
Scholarships for African Students » Undergraduate Scholarships » African Women Scholarships & Grants » Developing Countries Scholarships » Erasmus Mundus Scholarships for Developing Countries » Fellowship Programs » Funding Grants for NGOs » Government Scholarships » LLM Scholarships » MBA Scholarships » PhD and Masters by Research Scholarships » Public Health Scholarships – MPH Scholarships » Refugees Scholarships » Research Grants » Scholarships and Grants
Scholarships in Australia » Scholarships in Belgium » Scholarships in Canada » Scholarships in Germany » Scholarships in Italy » Scholarships in Japan » Scholarships in Korea » Scholarships in Netherlands » Scholarships in UK » Scholarships in USA
KCSE Past Papers 2017 Drawing and Design Paper 1
“Pdf” Revision Questions Drawing and Design Form 2
“Pdf” Revision Questions Drawing and Design Form 3
“Pdf” Revision Questions Drawing and Design Form 4
“Pdf” Revision Questions Drawing and Design Form Four
“Pdf” Revision Questions Drawing and Design Form One
“Pdf” Revision Questions Drawing and Design Form Three
“Pdf” Revision Questions Drawing and Design Form Two
1 a a KCSE Past Papers
10th Grade Drawing and Design Questions and Answers
10th Grade Drawing and Design Test
11th Ncert Drawing and Design
12th Class Drawing and Design Book Free Download
2014 KCSE Marking Schemes
2014 Pdf KCSE Past Papers 2015
2015 Drawing and Design Essay Questions and Answers Form 4
2016 KCSE Papers
2016 KCSE Prediction Questions
2017 Drawing and Design Hsc Answers
2017 KCSE Prediction Questions
2018 Drawing and Design KCSE Leakage
2018 Drawing and Design KCSE Questions
2018 KCSE Busineness Studies
2018 KCSE Exam
2018 KCSE Leakage
2018 KCSE Prediction Questions
2018 KCSE Questions
2019 Drawing and Design KCSE Leakage
2019 Drawing and Design KCSE Questions
2019 KCSE Leakage
2019 KCSE Questions
9th Grade Drawing and Design Study Guide
A a a Drawing and Design Notes
a a a Drawing and Design Notes!
a a a Drawing and DesignNotes!
A a KCSE Past Papers
A Biblical View of Social Justice
A Level Drawing and Design Biological Molecules Questions
A Level Drawing and Design Exam Questions by Topic
A Level Drawing and Design Notes Edexcel
A Level Drawing and Design Notes Xtremepapers
A Level Drawing and Design Past Papers
A Level Drawing and Design Questions and Answers
a Level Drawing and Design Questions and Answers
A Level Drawing and Design Questions and Answers (Pdf)
A Level Drawing and Design Questions and Answers Pdf
A Level Drawing and Design Questions by Topic Kidney Questions With Markschemes
A Level Drawing and Design Revision
A Level Drawing and Design Revision Edexcel
A Level Drawing and Design Revision Guide
A Level Drawing and Design Revision Notes
A Level Drawing and Design Revision Notes Pdf
A Level Drawing and Design Textbook Pdf
A Level Drawing and Design Year 1 / as Aqa Exam Questions by Topic
A Level Edexcel Notes a* Drawing and Design
aa Drawing and Design Form 3 Questions and Answers
Advance KCSE Past Papers
Advance-africa.com KCSE Rev Quiz
Advantages and Disadvantages.
All Drawing and Design Essays
All Drawing and Design Notes for Senior Two
All KCSE Past Papers Drawing and Design With Making Schemes
All Marking Schemes Questions and Answers
All Past K.c.s.e Questions With Answers
Alliance Mocks 2017
Ap Bio Quizzes
Ap Drawing and Design 1 Textbook Pdf
Ap Drawing and Design Essay Questions and Answers
Are Sourced From KNEC.
As Level Drawing and Design Notes
Atika Drawing and Design Notes
Atika School Drawing and Design Notes
B/s Book 2 Notes
Basic Drawing and Design Books Pdf
basic Drawing and Design Interview Questions and Answers Pdf
Basic Drawing and Design Interview Questions and Answers Pdf
Basic Drawing and Design Pdf
Basic Drawing and Design Questions and Answers
Basic Drawing and Design Questions and Answers Pdf
Bbc Bitesize Drawing and Design Ks3
Bihar Board Drawing and Design Objective Answer 2017
Bihar Board Drawing and Design Objective Answer 2018
Bio Answers
Bio Quesions
Drawing and Design 0478
Drawing and Design 101
Drawing and Design 12th
Drawing and Design 12th Class Notes Pdf
Drawing and Design 2019 Syllabus
Drawing and Design All KCSE Short Notes
Drawing and Design Answers
Drawing and Design Answers Online Free
Drawing and Design Answers Quizlet
Drawing and Design Bk 2 Notes
Drawing and Design Book 1
Drawing and Design Book 1 Notes
Drawing and Design Book 2
Drawing and Design Book 2 Notes
Drawing and Design Book 3
Drawing and Design Book 3 KLB
Drawing and Design Book 3 Notes
Drawing and Design Book 4
Drawing and Design Book 4 Notes
Drawing and Design Book 4 Pdf
Drawing and Design Book for Class 11
Drawing and Design Book Four
Drawing and Design Book Four Notes
Drawing and Design Book One
Drawing and Design Book One Notes
Drawing and Design Book Pdf Free Download
Drawing and Design Book Three
Drawing and Design Book Three Notes
Drawing and Design Book Three Pdf
Drawing and Design Book Two
Drawing and Design Book Two Notes
Drawing and Design Books Form Three
Drawing and Design Bowl Drawing and Design Study Guide
Drawing and Design Bowl Questions Drawing and Design
Drawing and Design Bowl Questions Earth Drawing and Design
Drawing and Design Bowl Questions Math
Drawing and Design Bowl Questions Middle School
Drawing and Design Brekthrough Form Two Notes
Drawing and Design Class 12 Ncert Solutions
Drawing and Design Class 12 Pdf
Drawing and Design Communication Syllabus
Drawing and Design Diagram Software
Drawing and Design Diagrams for Class 11
Drawing and Design Diagrams for Class 12
Drawing and Design Diagrams for Class 9
Drawing and Design Diagrams for Class-10
Drawing and Design Diagrams in Form 1
Drawing and Design Diagrams in Form 2
Drawing and Design Diagrams in Form 3
Drawing and Design Diagrams in Form 4
Drawing and Design Diagrams Pdf
Drawing and Design Diagrams to Label
Drawing and Design Essay Questions and Answers
Drawing and Design Essay Questions and Answers 2018
Drawing and Design Essay Questions and Answers Form 1
Drawing and Design Essay Questions and Answers Form 2
Drawing and Design Essay Questions and Answers Form 3
Drawing and Design Essay Questions and Answers Form 4
Drawing and Design Essay Questions and Answers Form 4 Pdf
Drawing and Design Essay Questions and Answers Pdf
Drawing and Design Essay Revision Q
Drawing and Design Essays and Answers
Drawing and Design Essays Form One to Form Four
Drawing and Design Essays Form One to Form Three
Drawing and Design Essays KCSE
Drawing and Design Essays Pdf
Drawing and Design Exam 1 Multiple Choice
Drawing and Design Exam 2 Advance
Drawing and Design Exam 2 Test
Drawing and Design Exam 2016
Drawing and Design Exam Form Four
Drawing and Design Exam Form One
Drawing and Design Exam Form Three
Drawing and Design Exam Form Two
Drawing and Design Exam Practice Test
Drawing and Design Exam Questions
Drawing and Design Exam Questions and Answers
Drawing and Design Exam Questions and Answers Pdf
Drawing and Design Exam Study Guide
Drawing and Design Exams
Drawing and Design Excretion Notes
Drawing and Design Exercise Form 4 With Answers
Drawing and Design Final Exam Answer Key
Drawing and Design Final Exam Answer Key 2016
Drawing and Design Final Exam Answer Key 2017
Drawing and Design Final Exam Answers 2018
Drawing and Design Final Exam Answers 2019
Drawing and Design Final Exam Questions and Answers
Drawing and Design Fom 1 Notes
Drawing and Design Fom 2 Notes
Drawing and Design Fom 3 Notes
Drawing and Design Fom 4 Notes
Drawing and Design Form 1
Drawing and Design Form 1 & 2 and Answers
Drawing and Design Form 1 and 2 Essays
Drawing and Design Form 1 and 2 Essays Questions and Answers
Drawing and Design Form 1 Chapter 1
Drawing and Design Form 1 Diagrams
Drawing and Design Form 1 Exams
Drawing and Design Form 1 Mid Year Exam
Drawing and Design Form 1 Notes
Drawing and Design Form 1 Notes and Questions
Drawing and Design Form 1 Notes Download
Drawing and Design Form 1 Notes Free Download
Drawing and Design Form 1 Notes GCSE
Drawing and Design Form 1 Notes KCSE-kcse
Drawing and Design Form 1 Notes Pdf
Drawing and Design Form 1 Notes Pdf Download
Drawing and Design Form 1 Past Papers
Drawing and Design Form 1 Pdf
Drawing and Design Form 1 Pressure
Drawing and Design Form 1 Question Papers
Drawing and Design Form 1 Questions
Drawing and Design Form 1 Questions and Answers
Drawing and Design Form 1 Questions and Answers Pdf
Drawing and Design Form 1 Quiz
Drawing and Design Form 1 Revision Questions
Drawing and Design Form 1 Summary Notes
Drawing and Design Form 1 Syllabus
Drawing and Design Form 1 Work
Drawing and Design Form 1-4 Notes
Drawing and Design Form 2
Drawing and Design Form 2 Chapter 1
Drawing and Design Form 2 Chapter 2
Drawing and Design Form 2 Diagrams
Drawing and Design Form 2 Exam Paper 2014
Drawing and Design Form 2 Exams
Drawing and Design Form 2 Notes
Drawing and Design Form 2 Notes and Questions
Drawing and Design Form 2 Notes GCSE
Drawing and Design Form 2 Notes KCSE-kcse
Drawing and Design Form 2 Notes Pdf
Drawing and Design Form 2 Notes Pdf Download
Drawing and Design Form 2 Past Papers
Drawing and Design Form 2 Pdf
Drawing and Design Form 2 Question Papers
Drawing and Design Form 2 Questions
Drawing and Design Form 2 Questions and Answers
Drawing and Design Form 2 Questions and Answers Pdf
Drawing and Design Form 2 Quiz
Drawing and Design Form 2 Revision Notes
Drawing and Design Form 2 Salts
Drawing and Design Form 2 Structure and Bonding
Drawing and Design Form 2 Summary Notes
Drawing and Design Form 2 Syllabus
Drawing and Design Form 2 Work
Drawing and Design Form 3
Drawing and Design Form 3 and 4 Essays
Drawing and Design Form 3 and 4 Essays Questions and Answers
Drawing and Design Form 3 Chapter 3
Drawing and Design Form 3 Classification
Drawing and Design Form 3 Diagrams
Drawing and Design Form 3 Ecology
Drawing and Design Form 3 Exams
Drawing and Design Form 3 Notes
Drawing and Design Form 3 Notes and Questions
Drawing and Design Form 3 Notes GCSE
Drawing and Design Form 3 Notes KCSE-kcse
Drawing and Design Form 3 Notes Pdf
Drawing and Design Form 3 Notes Pdf Download
Drawing and Design Form 3 Notes Topic 1
Drawing and Design Form 3 Past Papers
Drawing and Design Form 3 Pdf
Drawing and Design Form 3 Question Papers
Drawing and Design Form 3 Questions
Drawing and Design Form 3 Questions and Answers
Drawing and Design Form 3 Questions and Answers Pdf
Drawing and Design Form 3 Questions and Answers Term 3
Drawing and Design Form 3 Questions and Answers+pdf
Drawing and Design Form 3 Quiz
Drawing and Design Form 3 Revision Notes
Drawing and Design Form 3 Revision Questions
Drawing and Design Form 3 Summary Notes
Drawing and Design Form 3 Syllabus
Drawing and Design Form 3 Syllabus Pdf
Drawing and Design Form 3 Topics
Drawing and Design Form 3 Work
Drawing and Design Form 4
Drawing and Design Form 4 All Chapter
Drawing and Design Form 4 Chapter 1 Conversion of Units
Drawing and Design Form 4 Chapter 1 Exercise
Drawing and Design Form 4 Chapter 1 Exercise and Answers
Drawing and Design Form 4 Chapter 1 Exercise Pdf
Drawing and Design Form 4 Chapter 1 Mind Map
Drawing and Design Form 4 Chapter 2
Drawing and Design Form 4 Chapter 2 Exercise and Answers
Drawing and Design Form 4 Chapter 2 Exercise Pdf
Drawing and Design Form 4 Chapter 2 Experiment
Drawing and Design Form 4 Chapter 2 Formula
Drawing and Design Form 4 Chapter 2 Mind Map
Drawing and Design Form 4 Chapter 2 Momentum
Drawing and Design Form 4 Chapter 2 Notes Pdf
Drawing and Design Form 4 Chapter 2 Objective Questions and Answers
Drawing and Design Form 4 Chapter 2 Paper 2
Drawing and Design Form 4 Chapter 2 Slideshare
Drawing and Design Form 4 Chapter 3
Drawing and Design Form 4 Chapter 3 Questions and Answers
Drawing and Design Form 4 Chapter 4
Drawing and Design Form 4 Chapter 4 Notes Pdf
Drawing and Design Form 4 Chapter 5 Light Questions and Answers
Drawing and Design Form 4 Chapter 5 Notes Pdf
Drawing and Design Form 4 Diagrams
Drawing and Design Form 4 Exam Paper 1
Drawing and Design Form 4 Exams
Drawing and Design Form 4 Exercise
Drawing and Design Form 4 Exercise Pdf
Drawing and Design Form 4 Module With Answer
Drawing and Design Form 4 Note
Drawing and Design Form 4 Notes
Drawing and Design Form 4 Notes (Pdf)
Drawing and Design Form 4 Notes All Chapter Pdf
Drawing and Design Form 4 Notes and Questions
Drawing and Design Form 4 Notes Chapter 1
Drawing and Design Form 4 Notes Chapter 2
Drawing and Design Form 4 Notes Chapter 3
Drawing and Design Form 4 Notes Download
Drawing and Design Form 4 Notes Free Download
Drawing and Design Form 4 Notes GCSE
Drawing and Design Form 4 Notes KCSE-kcse
Drawing and Design Form 4 Notes Pdf
Drawing and Design Form 4 Notes Pdf Download
Drawing and Design Form 4 Paper 2 Questions and Answers
Drawing and Design Form 4 Past Papers
Drawing and Design Form 4 Question Papers
Drawing and Design Form 4 Questions
Drawing and Design Form 4 Questions and Answers
Drawing and Design Form 4 Questions and Answers Pdf
Drawing and Design Form 4 Quiz
Drawing and Design Form 4 Revision Notes
Drawing and Design Form 4 Schemes of Work
Drawing and Design Form 4 Summary Notes
Drawing and Design Form 4 Syllabus
Drawing and Design Form 4 Textbook Pdf
Drawing and Design Form 4 Work
Drawing and Design Form 5 Chapter 1 Exercise and Answers
Drawing and Design Form 5 Chapter 1 Notes Pdf
Drawing and Design Form 5 Chapter 2 Notes Pdf
Drawing and Design Form 5 Chapter 2 Slideshare
Drawing and Design Form 5 Chapter 3 Notes Pdf
Drawing and Design Form 5 Notes Pdf
Drawing and Design Form Four Book
Drawing and Design Form Four Notes
Drawing and Design Form Four Notes and Questions
Drawing and Design Form Four Notes GCSE
Drawing and Design Form Four Notes Pdf
Drawing and Design Form Four Past Papers
Drawing and Design Form Four Questions
Drawing and Design Form Four Questions and Answers
Drawing and Design Form Four Questions and Answers Pdf
Drawing and Design Form Four Quiz
Drawing and Design Form Four Study Notes
Drawing and Design Form Four Syllabus
Drawing and Design Form Four Topic 2
Drawing and Design Form Four Topic 4
Drawing and Design Form Four Topics
Drawing and Design Form Four Work
Drawing and Design Form One
Drawing and Design Form One Book
Drawing and Design Form One Book Pdf
Drawing and Design Form One Download Topic 1 Upto 3
Drawing and Design Form One Exam
Drawing and Design Form One Notes
Drawing and Design Form One Notes and Questions
Drawing and Design Form One Notes GCSE
Drawing and Design Form One Notes Pdf
Drawing and Design Form One Pdf
Drawing and Design Form One Questions
Drawing and Design Form One Questions and Answers
Drawing and Design Form One Questions and Answers Pdf
Drawing and Design Form One Questions and Their Answers
Drawing and Design Form One Quiz
Drawing and Design Form One Revision Question
Drawing and Design Form One Schemes of Work
Drawing and Design Form One Study Notes
Drawing and Design Form One Syllabus
Drawing and Design Form One Term Three Test
Drawing and Design Form One to Three Notes
Drawing and Design Form One Work
Drawing and Design Form Three
Drawing and Design Form Three Book
Drawing and Design Form Three Notes
Drawing and Design Form Three Notes and Questions
Drawing and Design Form Three Notes GCSE
Drawing and Design Form Three Questions and Answers
Drawing and Design Form Three Questions and Answers Pdf
Drawing and Design Form Three Quiz
Drawing and Design Form Three Reproduction
Drawing and Design Form Three Reproduction.
Drawing and Design Form Three Study Notes
Drawing and Design Form Three Work
Drawing and Design Form Three-questions and Answers
Drawing and Design Form Two
Drawing and Design Form Two Book
Drawing and Design Form Two Diagrams
Drawing and Design Form Two Notes
Drawing and Design Form Two Notes and Questions
Drawing and Design Form Two Notes GCSE
Drawing and Design Form Two Notes Pdf
Drawing and Design Form Two Notes-pdf
Drawing and Design Form Two Pdf
Drawing and Design Form Two Questions
Drawing and Design Form Two Questions and Answers
Drawing and Design Form Two Questions and Answers Pdf
Drawing and Design Form Two Quiz
Drawing and Design Form Two Study Notes
Drawing and Design Form Two Topics
Drawing and Design Form Two Work
Drawing and Design Form Two,schemes of Work
Drawing and Design Form2
Drawing and Design Form2 Textbook
Drawing and Design Game Form Four Question End Answers
Drawing and Design Grade 10 Exam Papers
Drawing and Design Hsc Pdf
Drawing and Design Human Reproduction Video
Drawing and Design IGCSE Past Papers Xtremepapers
Drawing and Design K.c.s.e 2017
Drawing and Design KCSE
Drawing and Design KCSE 2016
Drawing and Design KCSE 2017
Drawing and Design KCSE 2017 Paper 1
Drawing and Design KCSE Past Papers
Drawing and Design KCSE Questions
Drawing and Design KCSE Questions and Answer
Drawing and Design KCSE Quizzes & Answers
Drawing and Design KCSE Revision
Drawing and Design KCSE Revision Notes
Drawing and Design KCSE Setting Questions Form One and Two
Drawing and Design Ksce 2015
Drawing and Design Last Year K.c.s.e Questions
Drawing and Design Lesson Plan Form Two
Drawing and Design Made Familiar
Drawing and Design Mcq for Class 11
Drawing and Design Mcq for Class 12
Drawing and Design Mcq for Competitive Exams
Drawing and Design Mcq for Competitive Exams Pdf
Drawing and Design Mcq for Neet Pdf
Drawing and Design Mcq for Ssc
Drawing and Design Mcq Questions With Answers
Drawing and Design Mcq With Answers Pdf
Drawing and Design Mcqs for Class 12 Pdf
Drawing and Design Mcqs With Answers Pdf
Drawing and Design Mid Familia Form One
Drawing and Design Mock Papers
Drawing and Design Module Form 5
Drawing and Design Multiple Choice Questions and Answers Cxc
Drawing and Design Multiple Choice Questions and Answers Pdf
Drawing and Design Multiple Choice Questions With Answers Pdf
Drawing and Design Note
Drawing and Design Note Form Two All Chapters
Drawing and Design Notes
Drawing and Design Notes and Guestion and Answear
Drawing and Design Notes and Syllabus
Drawing and Design Notes Class 10
Drawing and Design Notes for Class 11 Pdf
Drawing and Design Notes for Class 12 Pdf
Drawing and Design Notes for High School Students
Drawing and Design Notes for IGCSE 2014
Drawing and Design Notes Form 1
Drawing and Design Notes Form 1 4
Drawing and Design Notes Form 1 Free Download
Drawing and Design Notes Form 1 KLB
Drawing and Design Notes Form 1 Pdf
Drawing and Design Notes Form 1-4
Drawing and Design Notes Form 1-4(1) Drawing and Design
Drawing and Design Notes Form 14
Drawing and Design Notes Form 2
Drawing and Design Notes Form 2 KLB
Drawing and Design Notes Form 2 Pdf
Drawing and Design Notes Form 2; Drawing and Design Notes
Drawing and Design Notes Form 3
Drawing and Design Notes Form 3 KLB
Drawing and Design Notes Form 3 Pdf
Drawing and Design Notes Form 4
Drawing and Design Notes Form 4 Chapter 2
Drawing and Design Notes Form 4 KLB
Drawing and Design Notes Form 4 Pdf
Drawing and Design Notes Form 4-pdf
Drawing and Design Notes Form Four
Drawing and Design Notes Form Four KLB
Drawing and Design Notes Form Four Pdf
Drawing and Design Notes Form One
Drawing and Design Notes Form One KLB
Drawing and Design Notes Form One Pdf
Drawing and Design Notes Form One to Form Four
Drawing and Design Notes Form Three
Drawing and Design Notes Form Three KLB
Drawing and Design Notes Form Three Pdf
Drawing and Design Notes Form Two
Drawing and Design Notes Form Two KLB
Drawing and Design Notes Form Two Pdf
Drawing and Design Notes Form2
Drawing and Design Notes IGCSE
Drawing and Design Notes Kenya
Drawing and Design Notes on Agroforestry
Drawing and Design Notes Pdf
Drawing and Design Notes:
Drawing and Design Objective Answer
Drawing and Design Objective Answer 2018
Drawing and Design Objective Questions for Competitive Exams
Drawing and Design Objective Questions for Competitive Exams Pdf
Drawing and Design Oral Exam Questions
Drawing and Design Paper 1
Drawing and Design Paper 1 2018 Marking Rules
Drawing and Design Paper 1 Notes
Drawing and Design Paper 1 Questions
Drawing and Design Paper 1 Questions and Answers
Drawing and Design Paper 1 Topics
Drawing and Design Paper 1 With Answers
Drawing and Design Paper 2
Drawing and Design Paper 2 2017
Drawing and Design Paper 2 2018 Marking Rules
Drawing and Design Paper 2 Questions and Answers
Drawing and Design Paper 2 Questions and Answers Pdf
Drawing and Design Paper 2 Revision
Drawing and Design Paper 2 Topics
Drawing and Design Paper 2018
Drawing and Design Paper 3 2018 Marking Rules
Drawing and Design Paper 3 Question and Answer
Drawing and Design Paper 3 Question Paper 2014 KCSE
Drawing and Design Paper 3 Question Paper 2015 KCSE
Drawing and Design Paper 3 Question Paper 2016 KCSE
Drawing and Design Paper 3 Question Paper 2017 KCSE
Drawing and Design Paper 3 Question Paper 2018 KCSE
Drawing and Design Paper 3 Questions and Answers
Drawing and Design Paper One Questions and Answers
Drawing and Design Paper One Topics
Drawing and Design Paper Two Qestions With Answers
Drawing and Design Paper1
Drawing and Design Paper2
Drawing and Design Paper3
Drawing and Design Paper4
Drawing and Design Past Papers
Drawing and Design Past Papers 2017
Drawing and Design Past Papers a Level
Drawing and Design Past Papers Form 1
Drawing and Design Past Papers Form 2
Drawing and Design Past Papers Form 3
Drawing and Design Past Papers O Level
Drawing and Design Pdf Download
Drawing and Design Pp1 KCSE 2016
Drawing and Design Practical Book Class 12 Pdf
Drawing and Design Practical Exam
Drawing and Design Practicals Form One
Drawing and Design Practicals Questions and Answers
Drawing and Design Practice Test 9th Grade
Drawing and Design Practice Test Answers
Drawing and Design Practice Test Questions and Answers
Drawing and Design Practice Test Quizlet
Drawing and Design Predicted Questions This Year KCSE
Drawing and Design Preparation Notes
Drawing and Design Pretest High School Pdf
Drawing and Design Question and Answer With Explanation
Drawing and Design Question and Answers 2019
Drawing and Design Question and Answers 2020
Drawing and Design Question and Answers 2021
Drawing and Design Question and Answers 2022
Drawing and Design Question and Answers Note
Drawing and Design Questions
Drawing and Design Questions and Answers
Drawing and Design Questions and Answers for High School
Drawing and Design Questions and Answers for High Schools
Drawing and Design Questions and Answers for High Schools Pdf
Drawing and Design Questions and Answers for Secondary Schools
Drawing and Design Questions and Answers Form 1
Drawing and Design Questions and Answers Form 2
Drawing and Design Questions and Answers Form 3
Drawing and Design Questions and Answers Form 4
Drawing and Design Questions and Answers Multiple Choice
Drawing and Design Questions and Answers Notes
Drawing and Design Questions and Answers O
Drawing and Design Questions and Answers Online
Drawing and Design Questions and Answers Pdf
Drawing and Design Questions and Answers Pdf for Class 12
Drawing and Design Questions and Answers Pdf for Competitive Exams
Drawing and Design Questions and Answers-form 2
Drawing and Design Questions for High School
Drawing and Design Questions for High School Students With Answers
Drawing and Design Questions for Senior 1
Drawing and Design Questions for Senior 2
Drawing and Design Questions for Senior 3
Drawing and Design Questions for Senior 4
Drawing and Design Questions for Senior 5
Drawing and Design Questions for Senior 6
Drawing and Design Questions for Senior Five
Drawing and Design Questions for Senior Four
Drawing and Design Questions for Senior One
Drawing and Design Questions for Senior Six
Drawing and Design Questions for Senior Three
Drawing and Design Questions for Senior Two
Drawing and Design Questions Form One
Drawing and Design Questions Multiple Choice
Drawing and Design Questions Quizlet
Drawing and Design Questions to Ask Your Teacher
Drawing and Design Quetion and Answer Form Four
Drawing and Design Quetion and Answer Form One
Drawing and Design Quetion and Answer Form Three
Drawing and Design Quetion and Answer Form Two
Drawing and Design Quiz for Class 9
Drawing and Design Quiz for Class 9 Drawing and Design
Drawing and Design Quiz Questions and Answers for Class 10
Drawing and Design Quiz Questions and Answers for Class 10 Pdf
Drawing and Design Quiz Questions and Answers for Class 12
Drawing and Design Quiz Questions and Answers for Class 9
Drawing and Design Quiz Questions and Answers for Class 9 Pdf
Drawing and Design Quiz Questions and Answers for High School
Drawing and Design Quiz Questions and Answers Multiple Choice
Drawing and Design Quiz Questions and Answers Pdf
Drawing and Design Quiz Questions for Class 12
Drawing and Design Quiz Questions for College Students
Drawing and Design Quiz With Answers
Drawing and Design Quiz With Answers Pdf
Drawing and Design Quizlet
Drawing and Design Revision
Drawing and Design Revision a Level
Drawing and Design Revision Drawing and Design Notes Drawing and Design
Drawing and Design Revision Exam
Drawing and Design Revision Examination
Drawing and Design Revision Form One
Drawing and Design Revision Notes
Drawing and Design Revision Notes Drawing and Design
Drawing and Design Revision Notes Form 1
Drawing and Design Revision Notes Form 2
Drawing and Design Revision Notes Form 3
Drawing and Design Revision Notes Form 4
Drawing and Design Revision Notes IGCSE
Drawing and Design Revision Paper One
Drawing and Design Revision Questions
Drawing and Design Revision Questions and Answers
Drawing and Design Revision Questions and Answers Form 1
Drawing and Design Revision Questions and Answers Form 2
Drawing and Design Revision Questions and Answers Form 3
Drawing and Design Revision Questions and Answers Form 4
Drawing and Design Revision Questions and Answers Form Four
Drawing and Design Revision Questions and Answers Form One
Drawing and Design Revision Questions and Answers Form Three
Drawing and Design Revision Questions and Answers Form Two
Drawing and Design Revision Questions Form 1
Drawing and Design Revision Questions Form 2
Drawing and Design Revision Questions Form 3
Drawing and Design Revision Questions Form 4
Drawing and Design Revision Questions Form Four
Drawing and Design Revision Questions Form One
Drawing and Design Revision Questions Form Three
Drawing and Design Revision Questions Form Two
Drawing and Design Revision Quiz
Drawing and Design Revision Test
Drawing and Design Secondary School Revision
Drawing and Design Simple Notes
Drawing and Design Spm Notes Download
Drawing and Design Spm Notes Pdf
Drawing and Design Spm Questions
Drawing and Design Study Form 2
Drawing and Design Study Guide
Drawing and Design Study Guide Answer Key
Drawing and Design Study Guide Answers
Drawing and Design Study Guide Drawing and Design Questions and Answers
Drawing and Design Study Guide Ib
Drawing and Design Study Guide Pdf
Drawing and Design Study Guides
Drawing and Design Study Notes
Drawing and Design Study Notes Materials Form 1 Pdf
Drawing and Design Study Notes Materials Form 2 3 Pdf
Drawing and Design Study Notes Materials Form 2 Pdf
Drawing and Design Study Notes Materials Form 3 Pdf
Drawing and Design Study Notes Materials Form 4 Pdf
Drawing and Design Syllabus in Kenya
Drawing and Design Syllabus Pdf
Drawing and Design Test 1 Quizlet
Drawing and Design Test Questions
Drawing and Design Test Questions and Answers
Drawing and Design Test Questions and Answers Pdf
Drawing and Design Topic One Form Four
Drawing and Design Topics Form One
Drawing and Design Unit 1 Quiz
Drawing and Design Vol 3
Drawing and Design | Revision Drawing and Design
Drawing and Design,form 4
Drawing and Design.form Four.topic Three
Drawing and DesignExam Form Three
Drawing and DesignModule Form 5
Drawing and DesignNotes
Drawing and DesignNotes for Class 11 Pdf
Drawing and DesignNotes for Class 12 Pdf
Drawing and DesignNotes Form 1
Drawing and DesignNotes Form 1 Free Download
Drawing and DesignNotes Form 2
Drawing and DesignNotes Form 3
Drawing and DesignNotes Form 3 Pdf
Drawing and DesignNotes IGCSE
Drawing and DesignNotes Pdf
Drawing and DesignPast Papers
Drawing and DesignQuestions and Answers Pdf
Drawing and DesignSimple Notes
Drawing and DesignSpm Notes Download
Drawing and DesignSpm Notes Pdf
Drawing and DesignSpm Questions
Drawing and DesignStudy Guide Answers
Drawing and DesignStudy Guide Pdf
Drawing and DesignStudy Guides
Blologytextpapers
Bridge Drawing and Design
Business Past KCSE Past Papers
Business Studies Form 3 Notes Pdf
Business Studies Form 4 Notes Pdf
C R E Form One KLB
C R E Form One Oli Topic
C.r.e Form 1 Notes Kenya
C.r.e Form 2 Notes Kenya
C.r.e Form 3 Notes
C.r.e Form 3 Notes Kenya
C.r.e Form 3 Pdf
C.r.e Form 4 Notes Kenya
C.r.e Form One Notes Pdf
C.r.e Notes Form 1
C.r.e Revision Notes
C.r.e Short Notes
Cambridge IGCSE Drawing and Design
Cambridge IGCSE Drawing and Design 3rd Edition
Cambridge IGCSE Drawing and Design 3rd Edition Plus Cd South Asia Edition
Cambridge IGCSE Drawing and Design Answers
Cambridge IGCSE Drawing and Design Coursebook Pdf Download
Cambridge IGCSE Drawing and Design Practical Workbook
Cambridge IGCSE Drawing and Design Revision Guide Pdf
Cambridge IGCSE Drawing and Design Study and Revision Guide 2nd Edition Pdf
Cambridge IGCSE Drawing and Design Study and Revision Guide Pdf
Cambridge IGCSE Drawing and Design Workbook Free Download
Cambridge IGCSE Drawing and Design Workbook Pdf
Cambridge IGCSE® Drawing and Design Coursebook
Caucasian Chalk Circle Essay Questions
Chapter 1 Introduction to Drawing and Design
Chapter 1 Introduction to Drawing and Design Studies
Cie a Level Drawing and Design Notes 2016
Cie a Level Drawing and Design Notes Pdf
Cie Past Papers
Class 10 Drawing and Design Chapter 1 Mcqs
Class 8 Drawing and Design Notes KCSE-kcse
College Drawing and Design Notes
College Drawing and Design Practice Test
College Drawing and Design Quiz
College Drawing and Design Quiz Chapter 1
College Drawing and Design Quizlet
College Drawing and Design Study Guide
College Drawing and Design Study Guide Pdf
College Drawing and Design Test Questions and Answers
College Drawing and Design Volume 3 Pdf
College Drawing and DesignNotes
Complete Drawing and Design for Cambridge IGCSE
Complete Drawing and Design for Cambridge IGCSE Revision Guide Pdf
County Mocks 2017
Cse Past Papers Drawing and Design 2017
Dl Drawing and Design Form 3 Pdf Kusoma
Download Drawing and Design Form 1
Download Drawing and Design Form 2
Download Drawing and Design Form 2 Notes
Download Drawing and Design Form 3
Download Drawing and Design Form 3 Notes
Download Drawing and Design Form 4
Download Drawing and Design Form Four
Download Drawing and Design Form One
Download Drawing and Design Form Three
Download Drawing and Design Form Two
Download Drawing and Design Notes Form 3
Download Drawing and Design Notes Form One
Download Drawing and DesignNotes Form 3
Download Form Three Drawing and Design Notes
Download Free KCSE Past Papers Drawing and Design
Download Free KCSE Past Papers From KNEC.
Download KCSE Past Papers With Answers
Download KCSE Revision Notes
Download KLB Drawing and Design Book 2
Download KLB Drawing and Design Book 3
Download KLB Drawing and Design Book 4
Download Notes of Drawing and Design
Downloads | Drawing and Design | Form Four Exams | Exams
Downloads | Drawing and Design | Form One Exams | Exams
Downloads | Drawing and Design | Form Three Exams | Exams
Downloads | Drawing and Design | Form Two Exams | Exams
Downloads | KCSE Papers and Marking Schemes |
Dvance KCSE Past Papers
Easy Drawing and Design Questions
Edexcel a Level Drawing and Design B
Edexcel a Level Drawing and Design Notes Pdf
Edexcel a Level Drawing and Design Salters Nuffield
Edexcel A2 Drawing and Design Notes
Edexcel as Drawing and Design Revision Guide Pdf
Edexcel Drawing and Design A2 Revision Notes Pdf
Edexcel Drawing and Design Unit 2 Revision Notes
Edexcel GCSE Drawing and Design Revision Guide Pdf
Edexcel IGCSE Drawing and Design Past Papers
Edexcel IGCSE Drawing and Design Revision Guide Free Pdf Download
Edexcel IGCSE Drawing and Design Revision Guide Pdf
Edexcel IGCSE Drawing and Design Revision Guide Pdf Download
Electronics Form Four Notes
Energy Questions Drawing and Design Bowl
Essay Questions and Answers KCSE Drawing and Design Notes
Essay Questions and Answers on Betrayal in the City
Essay Questions Based on Betrayal in the City
Evolving World Drawing and Design Book 1 Pdf
Evolving World Drawing and Design Book 4 Notes
Evolving World Drawing and Design Book Form 1
Evolving World-history Book 3
Exam Notes for Drawing and Design 101
Exams KCSE Drawing and Design Paper 1 Questions and Answers
F3 Drawing and Design Test Paper
Find Download KCSE Past Papers With Answers
Find KCSE Drawing and Design Essay Questions and Answers
Form 1 Drawing and Design Exam
Form 1 Drawing and Design Notes
Form 1 Drawing and Design Questions and Answers
Form 1 Drawing and Design Questions and Answers Pdf
Form 1 Drawing and Design Revision Notes
Form 1 Drawing and Design Summurized Revision Pdf
Form 1 Drawing and Design Syllabus
Form 1 Drawing and Design Test Paper Pdf
Form 1 Drawing and Design Topics
Form 1 Drawing and DesignNotes
Form 1 Drawing and DesignQuestions and Answers
Form 1 Drawing and DesignRevision Notes
Form 1 Drawing and DesignSyllabus
Form 1 Drawing and DesignTest Paper Pdf
Form 1 Past Papers
Form 1 Past Papers With Answers
Form 1 Revision Papers
Form 1 Subjects in Kenya
Form 2 Drawing and Design Exam
Form 2 Drawing and Design Exam Paper
Form 2 Drawing and Design Exam Paper 2016
Form 2 Drawing and Design Exam Paper Free Download
Form 2 Drawing and Design Exam Paper With Answer
Form 2 Drawing and Design Final Year Exam Paper 2
Form 2 Drawing and Design Notes
Form 2 Drawing and Design Notes and Revision Questions
Form 2 Drawing and Design Notes Pdf
Form 2 Drawing and Design Past Papers
Form 2 Drawing and Design Questions
Form 2 Drawing and Design Questions and Answers
Form 2 Drawing and Design Questions and Answers >
Form 2 Drawing and Design Questions and Answers Pdf
Form 2 Drawing and Design Revision Notes
Form 2 Drawing and Design Short Notes
Form 2 Drawing and Design Syllabus
Form 2 Drawing and DesignExam Paper
Form 2 Drawing and DesignExam Paper Free Download
Form 2 Drawing and DesignExam Paper With Answer
Form 2 Drawing and DesignFinal Year Exam Paper 2
Form 2 Drawing and DesignPast Papers
Form 2 Drawing and DesignRevision Notes
Form 2 Drawing and DesignShort Notes
Form 2 Drawing and DesignSyllabus
Form 2 Revision Papers
Form 2 Subjects in Kenya
Form 3 Drawing and Design Book
Form 3 Drawing and Design Exam
Form 3 Drawing and Design Exam Paper
Form 3 Drawing and Design Notes
Form 3 Drawing and Design Past Papers
Form 3 Drawing and Design Questions
Form 3 Drawing and Design Questions and Answers
Form 3 Drawing and Design Questions and Answers Pdf
Form 3 Drawing and Design Revision Notes
Form 3 Drawing and Design Syllabus
Form 3 Drawing and DesignExam Paper
Form 3 Drawing and DesignNotes
Form 3 Drawing and DesignPast Papers
Form 3 Drawing and DesignQuestions
Form 3 Drawing and DesignQuestions and Answers Pdf
Form 3 Drawing and DesignRevision Notes
Form 3 Drawing and DesignSyllabus
Form 3 C.r.e
Form 3 Notes of Drawing and Design Topic on Fish
Form 3 Past Papers
Form 3 Revision Papers
Form 3 Subjects in Kenya
Form 4 Drawing and Design Exam
Form 4 Drawing and Design Notes
Form 4 Drawing and Design Notes Pdf
Form 4 Drawing and Design Questions and Answers
Form 4 Drawing and Design Questions and Answers Pdf
Form 4 Drawing and Design Revision Notes
Form 4 Drawing and Design Syllabus
Form 4 Drawing and Design Topics
Form 4 Drawing and DesignNotes
Form 4 Drawing and DesignRevision Notes
Form 4 Drawing and DesignSyllabus
Form 4 Drawing and DesignTopics
Form 4 Exam Papers
Form 4 Revision Papers
Form 4 Subjects in Kenya
Form 5 Drawing and Design Topics
Form 5 Drawing and DesignTopics
Form Five Drawing and Design Notes
Form Five Drawing and DesignNotes
Form Four Drawing and Design Book
Form Four Drawing and Design Notes
Form Four Drawing and Design Notes Pdf
Form Four Drawing and Design Questions and Answers
Form Four Drawing and Design Questions and Answers Pdf
Form Four Drawing and Design Revision Questions
Form Four Drawing and Design Syllabus
Form Four Drawing and Design Topics
Form Four Drawing and DesignNotes
Form Four Drawing and DesignQuestions and Answers
Form Four Drawing and DesignQuestions and Answers Pdf
Form Four Drawing and DesignTopics
Form Four Notes
Form Four Revision Papers
Form Four Subjects in Kenya
Form One Drawing and Design Book
Form One Drawing and Design Examination
Form One Drawing and Design First Topic
Form One Drawing and Design Lesson Plan
Form One Drawing and Design Notes Pdf
Form One Drawing and Design Past Papers Pdf
Form One Drawing and Design Questions
Form One Drawing and Design Questions and Answers
Form One Drawing and Design Questions and Answers Pdf
Form One Drawing and Design Revision Questions
Form One Drawing and Design Short Notes
Form One Drawing and Design Syllabus
Form One Drawing and Design Topics
Form One Drawing and DesignExamination
Form One Drawing and DesignPast Papers Pdf
Form One Drawing and DesignQuestions and Answers
Form One Drawing and DesignQuestions and Answers Pdf
Form One Drawing and DesignTopics
Form One Exams
Form One Notes of Drawing and Design
Form One Past Papers
Form One Subjects in Kenya
Form One Term One Drawing and Design Exam
Form One Term One Drawing and DesignExam
Form Three Drawing and Design Book
Form Three Drawing and Design Book Pdf
Form Three Drawing and Design Notes
Form Three Drawing and Design Notes Pdf
Form Three Drawing and Design Questions and Answers
Form Three Drawing and Design Questions and Answers Pdf
Form Three Drawing and Design Revision Questions
Form Three Drawing and Design Syllabus
Form Three Drawing and Design Topics
Form Three Drawing and DesignNotes
Form Three Drawing and DesignNotes Pdf
Form Three Drawing and DesignQuestions and Answers
Form Three Drawing and DesignQuestions and Answers Pdf
Form Three Drawing and DesignTopics
Form Three Subjects in Kenya
Form Two Drawing and Design Book
Form Two Drawing and Design Cat
Form Two Drawing and Design Examination
Form Two Drawing and Design Notes
Form Two Drawing and Design Notes Pdf
Form Two Drawing and Design Past Papers
Form Two Drawing and Design Questions and Answers
Form Two Drawing and Design Questions and Answers Pdf
Form Two Drawing and Design Revision Questions
Form Two Drawing and Design Syllabus
Form Two Drawing and Design Topics
Form Two Drawing and DesignNotes
Form Two Drawing and DesignNotes Pdf
Form Two Drawing and DesignQuestions and Answers
Form Two Drawing and DesignQuestions and Answers Pdf
Form Two Drawing and DesignSyllabus
Form Two Drawing and DesignTopics
Form Two Notes
Form Two Subjects in Kenya
Free a-level Drawing and Design Revision App | Pass Your Drawing and Design Exams
Free Drawing and Design Form 1 Notes
Free Drawing and Design Notes Form 1
Free Drawing and Design Notes Pdf
Free Drawing and DesignNotes Pdf
Free College Drawing and Design Practice Test
Free Form1,form2,form3 Past Papers Free KCSE Past Papers
Free KCSE Mocks 2015
Free KCSE Past Papers 2014
Free KCSE Past Papers KCSE Past
Free KCSE Past Papers Kenya,
Free KCSE Past Papers With Answers
Free KCSE Questions and Answers on Drawing and Design
Free KCSE Revision Notes
Free Marking Schemes
Free Mocks Online KCSE Answers Past Exams Question Papers
Free Revision Papers
From Three Notes Topic One KLB
Fun Drawing and Design Questions
Funny Drawing and Design Questions
Funny Drawing and Design Questions and Answers
Funny Drawing and Design Questions to Ask
Funny Drawing and Design Quotes
GCSE Drawing and Design Exam Questions and Answers
GCSE Drawing and Design Past Papers
GCSE Drawing and Design Revision
GCSE Drawing and Design Revision Notes
GCSE Drawing and Design Revision Notes Pdf
GCSE Drawing and Design Revision Notes Pdf 9-1
GCSE Drawing and Design Revision Questions and Answers
GCSE Drawing and Design Textbook Pdf
GCSE Drawing and Design Topics Pass My Exams: Easy Exam Revision Notes
General Drawing and Design Notes Pdf
General Drawing and Design Practice Test With Answers
General Drawing and Design Quiz
General Drawing and Design Quiz Pdf
General Drawing and Design Test Questions and Answers
General Drawing and Design Test Questions and Answers Pdf
General Knowledge in Drawing and Design Human Body
Good Drawing and Design Questions to Ask
GRE Drawing and Design Practice Test
GRE Drawing and Design Subject Test Pdf
Handbook of Drawing and Design Pdf Free Download
Hard Drawing and Design Questions
Hard Drawing and Design Questions and Answers
Hard Drawing and Design Questions to Ask Your Teacher
Hard Drawing and Design Quiz Questions
Hard Form 3 Drawing and Design Question
High School Drawing and Design Final Exam Doc
High School Drawing and Design Final Exam Pdf
High School Drawing and Design Final Exam Questions
High School Drawing and Design Final Exam Questions and Answers
High School Drawing and Design Notes
High School Drawing and Design Practice Test
High School Drawing and Design Pretest With Answers
High School Drawing and Design Questions and Answers Pdf
High School Drawing and Design Study Guide
High School Drawing and Design Test Questions and Answers Pdf
High School Drawing and DesignNotes
High School Drawing and DesignStudy Guide
How to Answer KCSE Drawing and Design Question
How to Motivate a Form 4 Student
How to Motivate a KCSE Candidate
How to Motivate a KCSE Student
How to Pass Drawing and Design Questions & Answers Form 1&2 | Text Book
How to Revise Drawing and Design
How to Revise Effectively for KCSE
How to Study Drawing and Design: 5 Study Techniques to Master Drawing and Design
Hsc Drawing and Design 2018
Hsc Drawing and Design 2019
Https://www.knec.ac.ke/ Www.knec-portal.ac.ke/ KNEC Portal:
Ial Drawing and Design Notes
Ib Drawing and Design Cold War Notes
Ib Drawing and Design Notes
Ib Drawing and Design Notes Pdf
Ib Drawing and Design of the Americas Notes
Ib Drawing and Design of the Americas Study Guide
Ib Drawing and Design Paper 2 Study Guide
Ib Drawing and Design Question Bank by Topic
Ib Drawing and Design Study Guide Pdf
Ict Notes Form 1
IGCSE Drawing and Design Alternative to Practical Revision
IGCSE Drawing and Design Alternative to Practical Revision Notes
IGCSE Drawing and Design Book
IGCSE Drawing and Design Book Pdf Download
IGCSE Drawing and Design Notes
IGCSE Drawing and Design Notes 2017 Pdf
IGCSE Drawing and Design Notes Edexcel
IGCSE Drawing and Design Paper 2 Notes
IGCSE Drawing and Design Paper 6 Notes
IGCSE Drawing and Design Past Papers
IGCSE Drawing and Design Past Papers 2014
IGCSE Drawing and Design Past Papers 2017
IGCSE Drawing and Design Pdf
IGCSE Drawing and Design Pre Release Material 2018
IGCSE Drawing and Design Resources
IGCSE Drawing and Design Revision Guide
IGCSE Drawing and Design Revision Guide Free Download
IGCSE Drawing and Design Revision Guide Pdf Download
IGCSE Drawing and Design Revision Notes Pdf
IGCSE Drawing and Design Revision Worksheets
IGCSE Drawing and Design Workbook Pdf
IGCSE Drawing and Design Znotes
IGCSE Drawing and DesignPast Papers
IGCSE Notes Drawing and Design
Importance of Agroforestry
Inorganic Drawing and Design Multiple Choice Questions With Answers Pdf
Inorganic Drawing and Design Questions and Answers Pdf
Interesting Drawing and Design Questions
Interesting Drawing and Design Questions and Answers
Interesting Questions to Ask About Drawing and Design
Intro to Drawing and Design Quiz
Introduction of Drawing and Design Form One
Introduction to Drawing and Design
Introduction to Drawing and Design Notes
Introduction to Drawing and Design Pdf
Introduction to Drawing and DesignNotes
Is Agroforestry Sustainable?
K.c.s.e Answers Drawing and Design Paper One 2018
K.c.s.e Drawing and Design 2017
K.c.s.e Drawing and Design 2018
K.c.s.e Drawing and Design Paper 1 2017
K.c.s.e Mocks 2018
K.c.s.e Papers 2015
K.c.s.e Papers 2016
K.c.s.e Past Papers 2014
K.c.s.e.Drawing and Design Paper 2 Year 2018
K.c.s.e.results 2018 for Busia County
K.l.b Drawing and Design Form 3
K.l.b Drawing and Design Notes
K.l.b Drawing and DesignNotes
Kasneb Past Papers for Colleges Drawing and Design Past Papers
KCSE 2010 Marking Scheme
KCSE 2010 Past Papers
KCSE 2011 Drawing and Design Paper 1
KCSE 2011 Marking Scheme
KCSE 2012 Drawing and Design Paper 2 Marking Scheme
KCSE 2012 Marking Schemes
KCSE 2013 Drawing and Design Paper 1
KCSE 2013 Marking Scheme
KCSE 2013 Marking Scheme Pdf
KCSE 2014
KCSE 2015 Drawing and Design Paper 2
KCSE 2015 Drawing and Design Paper 3
KCSE 2015 Marking Scheme
KCSE 2015 Past Papers
KCSE 2016 Drawing and Design Paper 1
KCSE 2016 Drawing and Design Paper 2
KCSE 2017 Drawing and Design Paper 1
KCSE 2017 Drawing and Design Paper 2
KCSE 2017 Hostory Papers With Answers.com
KCSE 2017 Marking Scheme
KCSE 2017 Papers
KCSE 2017 Papers and Marking Scheme
KCSE 2017 Papers Pdf
KCSE 2017 Past Papers
KCSE 2017 Prediction Pdf
KCSE 2018 Drawing and Design and Answers
KCSE 2018 Drawing and Design Prediction
KCSE 2018 Leakage
KCSE 2018 Marking Scheme
KCSE 2018 Papers
KCSE 2018 Prediction Pdf
KCSE 2018 Predictions
KCSE 2018 Questions
KCSE 2018 Questions and Answers
KCSE 2019 Leakage Drawing and Design
KCSE 2019 Marking Scheme
KCSE 2019 Questions
KCSE 2019 Questions and Answers
KCSE 2020 Questions
KCSE 2020 Questions and Answers
KCSE Answers
KCSE Answers Past Exams Question Papers Downloads |
KCSE Drawing and Design 2011
KCSE Drawing and Design 2016
KCSE Drawing and Design Diagramsbiology Revision Tips
KCSE Drawing and Design Essay Questions and Answers
KCSE Drawing and Design Essay Questions and Answers Pdf
KCSE Drawing and Design Essays
KCSE Drawing and Design Essays Pdf
KCSE Drawing and Design Marking Schemes
KCSE Drawing and Design Notes
KCSE Drawing and Design Notes Pdf
KCSE Drawing and Design Notes, Syllabus, Questions, Answers
KCSE Drawing and Design Paper 1
KCSE Drawing and Design Paper 1 2011
KCSE Drawing and Design Paper 1 2012
KCSE Drawing and Design Paper 1 2013
KCSE Drawing and Design Paper 1 2015
KCSE Drawing and Design Paper 1 2016
KCSE Drawing and Design Paper 1 2017
KCSE Drawing and Design Paper 1 2017 Pdf
KCSE Drawing and Design Paper 1 Questions and Answers
KCSE Drawing and Design Paper 2
KCSE Drawing and Design Paper 2 2012
KCSE Drawing and Design Paper 2 2012 KCSE Drawing and Design Paper 2 2015
KCSE Drawing and Design Paper 2 2013
KCSE Drawing and Design Paper 2 2014
KCSE Drawing and Design Paper 2 2015
KCSE Drawing and Design Paper 2 2016
KCSE Drawing and Design Paper 2 2017
KCSE Drawing and Design Paper 3
KCSE Drawing and Design Paper 3 2012
KCSE Drawing and Design Paper 3 2016
KCSE Drawing and Design Paper 3 2017
KCSE Drawing and Design Paper 3 Past Papers
KCSE Drawing and Design Past Papers
KCSE Drawing and Design Past Papers and Answers
KCSE Drawing and Design Past Papers Pdf
KCSE Drawing and Design Practical
KCSE Drawing and Design Practical 2015
KCSE Drawing and Design Practical 2016
KCSE Drawing and Design Practical Past Papers
KCSE Drawing and Design Practicals
KCSE Drawing and Design Practicals KCSE Drawing and Design Paper 1
KCSE Drawing and Design Question and Answer
KCSE Drawing and Design Questions and Answers
KCSE Drawing and Design Questions and Answers Ap Drawing and Design
KCSE Drawing and Design Revision
KCSE Drawing and Design Revision Notes
KCSE Drawing and Design Revision Papers
KCSE Drawing and Design Revision Questions
KCSE Drawing and Design Revision Questions and Answers
KCSE Drawing and Design Syllabus
KCSE Drawing and DesignNotes
KCSE Drawing and DesignPaper 1
KCSE Drawing and DesignPaper 2
KCSE Drawing and DesignPaper 2 Pdf
KCSE Drawing and DesignSyllabus
KCSE Business Paper 1 2016
KCSE Business Past Papers
KCSE Business Studies Past Papers
KCSE Essay Questions in Betrayal in the City
KCSE Essays
KCSE Exam Papers 2018
KCSE Exam Papers Answers
KCSE Form 1 Drawing and Design Revision
KCSE Form 2 Drawing and Design Revision
KCSE Form 3 Drawing and Design Revision
KCSE Form 4 Drawing and Design Revision
KCSE Form Four Drawing and Design Revision
KCSE Form One Drawing and Design Revision
KCSE Form Three Drawing and Design Revision
KCSE Form Two Drawing and Design Revision
KCSE KCSE Past Papers KNEC
KCSE Leakage
KCSE Leakage Drawing and Design
KCSE Made Familiar Drawing and Design
KCSE Made Familiar Drawing and Design Pdf
KCSE Marking Scheme 2016
KCSE Marking Schemes
KCSE Marking Schemes 2017
KCSE Marking Schemes Pdf
KCSE Mock Exams
KCSE Mock Papers 2015
KCSE Mock Papers 2017
KCSE Mock Papers 2018
KCSE Mock Papers Pdf
KCSE Mock Papers Pdf 2018
KCSE Mock Papers Pdf KCSE Past Papers
KCSE Mocks 2017
KCSE Mocks 2018
KCSE Notes
KCSE Online Notes
KCSE Online Past Papers
KCSE Online Registration
KCSE Papers 2015
KCSE Papers and Marking Schemes | Exams
KCSE Past Papers
KCSE Past Papers 2007
KCSE Past Papers 2009
KCSE Past Papers 2010
KCSE Past Papers 2011
KCSE Past Papers 2011 Pdf
KCSE Past Papers 2012
KCSE Past Papers 2013
KCSE Past Papers 2013knec
KCSE Past Papers 2014
KCSE Past Papers 2014 Pdf
KCSE Past Papers 2015
KCSE Past Papers 2015 Marking Schemes
KCSE Past Papers 2015 Pdf
KCSE Past Papers 2016
KCSE Past Papers 2016 Pdf
KCSE Past Papers 2017
KCSE Past Papers 2017 Pdf
KCSE Past Papers 2018
KCSE Past Papers Drawing and Design
KCSE Past Papers Drawing and Design and Answers
KCSE Past Papers Drawing and Design Pdf
KCSE Past Papers Drawing and Design With Answers
KCSE Past Papers Drawing and Designand Answers
KCSE Past Papers Business Studies and Answers
KCSE Past Papers KCSE and Answers
KCSE Past Papers KCSE and Answers Free Mocks Online
KCSE Past Papers Marking Scheme
KCSE Past Papers Pdf Download
KCSE Past Papers Pdf Download KCSE 2013
KCSE Past Papers With Answers
KCSE Past Papers Woodwork and Answers
KCSE Prediction 2017
KCSE Prediction 2018
KCSE Prediction 2018 Pdf
KCSE Prediction Papers 2018
KCSE Prediction Questions
KCSE Prediction Questions 2018
KCSE Prediction Questions and Answers
KCSE Questions
KCSE Questions and Answers
KCSE Questions and Answers.
KCSE Questions on Drawing and Design
KCSE Results, Online Registration, KCSE Result Slip.
KCSE Revision
KCSE Revision Notes
KCSE Revision Notes Drawing and Design
KCSE Revision Notes Pdf
KCSE Revision Papers
KCSE Revision Papers 2014
KCSE Revision Papers With Answers
KCSE Revision Question for Drawing and Design
KCSE Revision Questions
KCSE Revision Questions and Answers
KCSE Revision | Secondary School | Text Books | Text Book Centre
KCSE Syllabus Pdf
KCSE Trial 2017
KCSE Trial Exams 2017
Kenya Secondary School Drawing and Design Syllabus
Kenya Secondary School Drawing and Design Syllabus Pdf
Kenya Secondary School Drawing and DesignSyllabus Pdf
Kenya Secondary School Syllabus Pdf
Kenya-kcse-christian Religious Education Syllabus
Kenyaplex KCSE Past Papers
Kenyaplex Past Papers for Secondary
KLB Drawing and Design Book 1 Download
KLB Drawing and Design Book 1 Notes
KLB Drawing and Design Book 1 Pdf
KLB Drawing and Design Book 2
KLB Drawing and Design Book 2 Notes
KLB Drawing and Design Book 2 Notes Pdf
KLB Drawing and Design Book 2 Pdf
KLB Drawing and Design Book 3 Notes
KLB Drawing and Design Book 3 Pdf
KLB Drawing and Design Book 3 Pdf Download
KLB Drawing and Design Book 4 Notes
KLB Drawing and Design Book 4 Pdf
KLB Drawing and Design Book 4 Pdf Download
KLB Drawing and Design Book 4 Topics
KLB Drawing and Design Book One
KLB Drawing and Design Form 1
KLB Drawing and Design Form 1 Notes
KLB Drawing and Design Form 1 Pdf
KLB Drawing and Design Form 2
KLB Drawing and Design Form 2 Book
KLB Drawing and Design Form 2 Notes
KLB Drawing and Design Form 2 Pdf
KLB Drawing and Design Form 2 Pdf Download
KLB Drawing and Design Form 2 Schemes of Work
KLB Drawing and Design Form 3
KLB Drawing and Design Form 3 Notes
KLB Drawing and Design Form 3 Notes Pdf
KLB Drawing and Design Form 3 Pdf
KLB Drawing and Design Form 3 Pdf Download
KLB Drawing and Design Form 4
KLB Drawing and Design Form 4 Notes
KLB Drawing and Design Form 4 Pdf
KLB Drawing and Design Form Four
KLB Drawing and Design Form Four Notes
KLB Drawing and Design Form One
KLB Drawing and Design Form One Notes
KLB Drawing and Design Form Three
KLB Drawing and Design Form Three Notes
KLB Drawing and Design Form Two
KLB Drawing and Design Form Two Notes
KLB Drawing and Design Notes
KLB Drawing and Design Notes Form 4
KLB Drawing and Design Pdf
KLB Drawing and DesignNotes
KLB Drawing and DesignNotes Form 4
KLB Drawing and DesignPdf
KNEC Drawing and Design Syllabus
KNEC Examiners Portal KNEC Website
KNEC Ict Past Papers
KNEC Past Papers for Colleges
KNEC Past Papers Free Download
KNEC Past Papers Free Downloads
KNEC Past Papers Pdf
KNEC Portal Confirmation
KNEC Portal KCSE Results
KNEC Portal KNEC Past Papers for Colleges Kasneb Past Papers
KNEC Revision Papers
KNEC Technical Exams Past Papers
Kusoma Drawing and Design Notes
Kusoma Drawing and Design Notes Pdf
Kusoma Notes Drawing and Design
Kusoma.co.ke
Kusoma.com Past Papers
Learner Guide for Cambridge IGCSE Drawing and Design
Longhorn Drawing and Design Book 3 Pdf
Made Familiar Drawing and Design
Made Familiar Drawing and Design Pdf
Made Familiar Drawing and Design Questions
Maktaba Tetea Notes
Marking Scheme KCSE Drawing and Design Past Papers
Math Form2 Note
Mcqs About Gaseous Exchange
Middle School Drawing and Design Bowl Drawing and Design Questions
Mock Past Papers 2017
Mock Past Papers With Answers
Mokasa Mock 2017
More Than 1800 Drawing and Design Questions and Answers to Help You Study
Multiple Choice Questions on Drawing and Design
Necta Drawing and Design Past Papers
Necta Drawing and Design Practicals
Necta Drawing and DesignPast Papers
Necta Drawing and DesignPracticals
Necta Form Four Past Papers
Necta Past Papers Form 4
Necta Past Papers Form 4 2016
Necta Past Papers Form Six
Necta Past Papers Form Two
Necta Questions and Answers
Necta Review Questions
Notes Drawing and Design Form 1
Notes Drawing and Design Form 2
Notes Drawing and Design Form 3
Notes Drawing and Design Form 3 Notes Pdf
Notes Drawing and Design Form 3 Syllabus
Notes Drawing and Design Form 4 Syllabus
Notes on Drawing and Design Studies
Notes Za Drawing and Design 4m 2
Notes Za Drawing and Design Form One
Notes Za Drawing and Design Form Three
O Level Drawing and Design Practical Experiments
O Level Drawing and Design Questions and Answers Pdf
Orm Three Drawing and Design Notes
Page Navigation
Papacambridge Drawing and Design IGCSE
Papers KNEC KCSE Online Past
Papers KNEC KCSE Results Past Papers
Past KCSE Papers
Past Paper Questions by Topic Drawing and Design
Past Papers 2014
Past Papers in Kenya
Pdf Drawing and Design Form 3
Pdf Drawing and Design Notes
Pdf Drawing and Design Notes Form 1
Pdf Drawing and Design Notes Form 2
Pdf Drawing and Design Notes Form 3
Pdf Drawing and Design Notes Form 4
Pdf Drawing and Design Notes Form Four
Pdf Drawing and Design Notes Form One
Pdf Drawing and Design Notes Form Three
Pdf Drawing and Design Notes Form Two
Pdf Form 1 Drawing and Design Questions and Answers
Pdf Form 2 Drawing and Design Questions and Answers
Pdf Form 3 Drawing and Design Questions and Answers
Pdf Form 4 Drawing and Design Questions and Answers
Pdf Form Four Drawing and Design Questions and Answers
Pdf Form One Drawing and Design Questions and Answers
Pdf Form Three Drawing and Design Questions and Answers
Pdf Form Two Drawing and Design Questions and Answers
Pdf Free KCSE Past Papers and Marking Schemes
Pdf” Revision Questions Drawing and Design Form 1
Practical Drawing and Design Experiments Pdf
Practical Drawing and Design Question and Answer Pdf
Pre Mocks 2018
Preliminary Drawing and Design
Primary and Secondary Tillage Implements Ppt
Pte KNEC Past Papers
Questions and Answers Pdf Drawing and Design Form 1
Questions and Answers Pdf Drawing and Design Form 2
Questions and Answers Pdf Drawing and Design Form 3
Questions and Answers Pdf Drawing and Design Form 4
Questions and Answers Pdf Drawing and Design Form Four
Questions and Answers Pdf Drawing and Design Form One
Questions and Answers Pdf Drawing and Design Form Three
Questions and Answers Pdf Drawing and Design Form Two
Questions Based to Introduction to Drawing and Design
Questions on Gaseous Exchange in Humans
Questions on Introduction to Drawing and Design
Questions to Ask in Drawing and Design Class
Questions to Confuse Your Drawing and Design Teacher
Quizlet Drawing and Design Test
Quizlet Test Questions
Qustions in Drawing and Design and Answers
Revision
Revision Drawing and Design Notes and Questions?
Revision Quiz for Drawing and Design for Form Three
S.1 Drawing and Design Questions
S.2 Drawing and Design Questions
S.3 Drawing and Design Questions
S.4 Drawing and Design Questions
Sample Essays on Betrayal in the City
School Drawing and Design Notes
Secondary Drawing and Design Notes
Secondary Drawing and Design Notes Pdf
Secondary Drawing and DesignNotes Pdf
Senior 1 Drawing and Design Notes
Senior 2 Drawing and Design Notes
Senior 3 Drawing and Design Notes
Senior 4 Drawing and Design Notes
Senior 5 Drawing and Design Notes
Senior 6 Drawing and Design Notes
Senior Five Drawing and Design Notes
Senior Four Drawing and Design Notes
Senior One Drawing and Design Notes
Senior Six Drawing and Design Notes
Senior Three Drawing and Design Notes
Senior Two Drawing and Design Notes
Simple Scientific Questions
Smart Questions to Ask a Drawing and Design Teacher
Snab Drawing and Design Revision Notes
Southwest Mock Paper 2 2016 Drawing and Design Only
Spm Drawing and Design Revision Notes
Spm Notes
Success Drawing and Design Spm Pdf
Success Drawing and DesignSpm Pdf
Summary of Drawing and Design Form 3
Tahossa Past Papers
To Motivate a Form 4 KCSE Student
To Motivate a Form 4 Student
Topical Revision Material
Tricky Drawing and Design Questions and Answers
Tricky Drawing and Design Questions for Adults
Tricky Drawing and Design Questions With Answers
Tricky Drawing and Design Quiz Questions
Two Drawing and Design Revision Questions
University Drawing and Design Volume 3 Openstax
University Drawing and Design Volume 3 Pdf
University Drawing and Design Volume 4 Pdf
Ur Revision Guide IGCSE Drawing and Design
What Are the Types of Gametes
Working of Excretory System
Www.Drawing and Design Form One Notes.com
Www.Drawing and Design From One KLB.com
Www.form 1 Drawing and Design.com
Www.form 2 Drawing and Design.com
Www.form 3 Drawing and Design.com
Www.form 4 Drawing and Design.com
Www.form Four Drawing and Design.com
Www.form One Drawing and Design.com
Www.form Three Drawing and Design.com
Www.form Two Drawing and Design.com
Www.kusoma Notes
Www.kusoma Revision Materials
Www.kusoma.co.ke Drawing and Design Notes
Xtremepapers IGCSE Drawing and Design
Year 11 Drawing and Design
Z Notes Drawing and Design IGCSE
Znotes as Drawing and Design
15 Common Drawing and Design Questions From Form 1
15 Common Drawing and Design Questions From Form 2
15 Common Drawing and Design Questions From Form 3
15 Common Drawing and Design Questions From Form 4
15 Common Drawing and Design Questions From Form Four
15 Common Drawing and Design Questions From Form One
15 Common Drawing and Design Questions From Form Three
15 Common Drawing and Design Questions From Form Two
150 Common Drawing and Design Questions From Form 1
150 Common Drawing and Design Questions From Form 2
150 Common Drawing and Design Questions From Form 3
150 Common Drawing and Design Questions From Form 4
150 Common Drawing and Design Questions From Form Four
150 Common Drawing and Design Questions From Form One
150 Common Drawing and Design Questions From Form Three
150 Common Drawing and Design Questions From Form Two
2019 KCSE Exams Drawing and Design Papers
All Subjects Online Form1 Notes
All Subjects Online Form2 Notes
All Subjects Online Form3 Notes
All Subjects Online Form4 Notes
All Subjects Online Form 1 Notes
All Subjects Online Form 2 Notes
All Subjects Online Form 3 Notes
All Subjects Online Form 4 Notes
All Subjects Online Form One Notes
All Subjects Online Form Two Notes
All Subjects Online Form Three Notes
All Subjects Online Form Four Notes
2019 KCSE Exams Papers
2020 KCSE Exams Drawing and Design Papers
2021 KCSE Exams Drawing and Design Papers
Best Drawing and Design Books for KCSE Knec
Drawing and Design
Drawing and Design 2 Topic Form Two
Drawing and Design Diagrams
Drawing and Design Form 1 and 2 Notes
Drawing and Design Form 1 Download
Drawing and Design Form 1 Notes Online
Drawing and Design Form 1 Notes Revision
Drawing and Design Form 1 Pastpapers and Marking Scheme
Drawing and Design Form 1 Questions and Answers Pdf
Drawing and Design Form 1 Revision Notes
Drawing and Design Form 1 Text Book
Drawing and Design Form 1 Text Book Notes
Drawing and Design Form 2 Download
Drawing and Design Form 2 Notes
Drawing and Design Form 2 Notes Online
Drawing and Design Form 2 Notes Revision
Drawing and Design Form 2 Pastpapers and Marking Scheme
Drawing and Design Form 2 Pdf
Drawing and Design Form 2 Questions and Answers Pdf
Drawing and Design Form 2 Revision Notes
Drawing and Design Form 2 Text Book
Drawing and Design Form 2 Text Book Notes
Drawing and Design Form 3 Download
Drawing and Design Form 3 Notes Online
Drawing and Design Form 3 Notes Revision
Drawing and Design Form 3 Pastpapers and Marking Scheme
Drawing and Design Form 3 Questions and Answers Pdf
Drawing and Design Form 3 Revision Notes
Drawing and Design Form 3 Text Book
Drawing and Design Form 3 Text Book Notes
Drawing and Design Form 4 Download
Drawing and Design Form 4 Notes Online
Drawing and Design Form 4 Notes Revision
Drawing and Design Form 4 Pastpapers and Marking Scheme
Drawing and Design Form 4 Questions and Answers Pdf
Drawing and Design Form 4 Revision Notes
Drawing and Design Form 4 Text Book
Drawing and Design Form 4 Text Book Notes
Drawing and Design Form Four Download
Drawing and Design Form Four Notes Online
Drawing and Design Form Four Notes Revision
Drawing and Design Form Four Pastpapers and Marking Scheme
Drawing and Design Form Four Questions and Answers Pdf
Drawing and Design Form Four Revision Notes
Drawing and Design Form Four Text Book
Drawing and Design Form Four Text Book Notes
Drawing and Design Form One Download
Drawing and Design Form One Notes Online
Drawing and Design Form One Notes Revision
Drawing and Design Form One Pastpapers and Marking Scheme
Drawing and Design Form One Questions and Answers
Drawing and Design Form One Questions and Answers Pdf
Drawing and Design Form One Revision Notes
Drawing and Design Form One Text Book
Drawing and Design Form One Text Book Notes
Drawing and Design Form Three Download
Drawing and Design Form Three Notes Online
Drawing and Design Form Three Notes Revision
Drawing and Design Form Three Pastpapers and Marking Scheme
Drawing and Design Form Three Questions and Answers Pdf
Drawing and Design Form Three Revision Notes
Drawing and Design Form Three Text Book
Drawing and Design Form Three Text Book Notes
Drawing and Design Form Two Download
Drawing and Design Form Two Notes Online
Drawing and Design Form Two Notes Revision
Drawing and Design Form Two Pastpapers and Marking Scheme
Drawing and Design Form Two Questions and Answers Pdf
Drawing and Design Form Two Revision Notes
Drawing and Design Form Two Text Book
Drawing and Design Form Two Text Book Notes
Drawing and Design Full Exam Papers
Drawing and Design K.C.S.E Revision Papers
Drawing and Design KCSE Revision
Drawing and Design Notes Book Four
Drawing and Design Notes Book One
Drawing and Design Notes Book Three
Drawing and Design Notes Book Two
Drawing and Design Notes Form 2
Drawing and Design Questions and Answers for High Schools Pdf
Drawing and Design Questions and Answers Form 1
Drawing and Design Questions and Answers Form 2
Drawing and Design Questions and Answers Form 3
Drawing and Design Short Note for Revising Form 1
Drawing and Design Short Note for Revising Form 2
Drawing and Design Short Note for Revising Form 3
Drawing and Design Short Note for Revising Form 4
Drawing and Design Short Note for Revising Form Four
Drawing and Design Short Note for Revising Form One
Drawing and Design Short Note for Revising Form Three
Drawing and Design Short Note for Revising Form Two
Drawing and Design Short Notes Form 1
Drawing and Design Short Notes Form 2
Drawing and Design Short Notes Form 3
Drawing and Design Short Notes Form 4
Drawing and Design Short Notes Form Four
Drawing and Design Short Notes Form One
Drawing and Design Short Notes Form Three
Drawing and Design Short Notes Form Two
Drawing and Design Form 2 Questions and Answers Pdf
Brief Notes Drawing and Design Form 1
Brief Notes Drawing and Design Form 2
Brief Notes Drawing and Design Form 3
Brief Notes Drawing and Design Form 4
Brief Notes Drawing and Design Form Four
Brief Notes Drawing and Design Form One
Brief Notes Drawing and Design Form Three
Brief Notes Drawing and Design Form Two
Brief Notes Drawing and Design Form3 Chapter1
Download Book 1 Drawing and Design Notes
Download Book 2 Drawing and Design Notes
Download Book 3 Drawing and Design Notes
Download Book 4 Drawing and Design Notes
Download Book Four Drawing and Design Notes
Download Book One Drawing and Design Notes
Download Book Three Drawing and Design Notes
Download Book Two Drawing and Design Notes
Download Book1 Drawing and Design Notes
Download Book2 Drawing and Design Notes
Download Book3 Drawing and Design Notes
Download Book4 Drawing and Design Notes
Download KCSE Drawing and Design Study Notes
Download Secondary Subjects
Download Secondary Subjects in Kenya
Download Secondary Subjects KCSE
Exams Revision Kenya
Exams Revision Kenya KCSE
Expected Questions and Answers in Drawing and Design Form One
Form 2 Drawing and Design Notes
Form 2 Drawing and Design Notes Pdf
Form 2 Drawing and Design Topics
Form 3 Drawing and Design Book Pdf
Form Iii Topics of Drawing and Design Revisios
How to Answer Drawing and Design Paper 1 Questions?
How to Answer Drawing and Design Paper 2 Questions?
How to Answer Drawing and Design Paper 3 Questions?
How to Answer KCSE Drawing and Design Paper 1 Questions?
How to Answer KCSE Drawing and Design Paper 2 Questions?
How to Answer KCSE Drawing and Design Paper 3 Questions?
How to Answer Paper 1 Drawing and Design Questions?
How to Answer Paper 2 Drawing and Design Questions?
How to Answer Paper 3 Drawing and Design Questions?
K.C.S.E Revision Papers
K.C.S.E Revision Papers Drawing and Design
KCSE Drawing and Design Essay Questions and Answers Pdf
KCSE Drawing and Design Revisions
KCSE Drawing and Design Study Notes
KCSE Free Drawing and Design Qussions
KCSE Free Qussions
KCSE Revision Kenya
KCSE Revisions
Drawing and Design Form Two Questions
Revision Kenya
Revision Kenya Kcsse
Sammary Note for Drawing and Design Form 1
Sammary Note for Drawing and Design Form 2
Sammary Note for Drawing and Design Form 3
Sammary Note for Drawing and Design Form 4
Sammary Note for Drawing and Design Form Four
Sammary Note for Drawing and Design Form One
Sammary Note for Drawing and Design Form Three
Sammary Note for Drawing and Design Form Two
Www.last Year KCSE Exams.com
[ad_2]
Source link
Comments
The Kenyan Digest Team
You may like
SportyBet Powers Vurugu 2 — Nairobi’s Biggest Celebrity Fight Night Lands at Sarit Expo Center on 20 June 2026
Allan Chesang Goons Brutally Attack Standard and K24 Journalists in Cherengany as Corruption Cover-Up Claims Deepen
How the DCI and Kisumu County Officials Shield the Medprime Training College Syndicate While Students Buy Worthless Certificates
How Interior PS Raymond Omollo and Senator Allan Chesang Ran a Sh60 Million Fake Tender Scam
The NSSF Audit Dossier on Mismanaged Billions and Stalled Housing Projects
The Absa Kenya Dossier on Extortion Cartels, Boardroom Purges, and the Million-Dollar Client Hunt
“Enough is Enough”: DP Kindiki Issues Stern Warning to Ruto Critics